ОБОРУДОВАНИЕ
для систем охранно-пожарной сигнализации,
аварийного освещения и СКУД
2016
Омский завод «ЭЛЕКТРОТЕХНИКА И АВТОМАТИКА» - ведущий
производитель оборудования для систем охранно-пожарной сигна-
лизации, аварийного освещения и СКУД, работающий на россий-
ском рынке безопасности более 20 лет.
На сегодняшний день предприятие завоевало лидирующие
позиции по производству оповещателей, светоуказателей, систем
речевого оповещения и других видов продукции. Широко известны
торговые марки АРИЯ, МАЯК, КРИСТАЛЛ, ЛЮКС, ЛУЧ, ИБИС, выпус-
каемые на омском заводе «Электротехника и Автоматика».
Собственная производственная база и сплоченная работа
команды профессионалов позволяют обеспечить высокое качество
выпускаемой продукции. Оборудование отличается современным
дизайном, эргономичностью и надежностью.
О ПРЕДПРИЯТИИ
ШИРОКАЯ СЕТЬ ПАРТНЁРОВ
В РОССИИ и стРАНАХ СНГ
ВЫГОДНЫЕ УСЛОВИЯ
СОТРУДНИЧЕСТВА
СДЕЛАНО В РОССИИ
Светоуказатели
КРИСТАЛЛ.........................................................................................7
КРИСТАЛЛ-ДИН.................................................................................9
ЛЮКС...............................................................................................12
ЛЮКС КВАДРО..................................................................................16
ПРЕСТИЖ..........................................................................................19
МИНИ...............................................................................................21
МИНИ-ДИН........................................................................................22
Оповещатели
Комбинированные
МАЯК-К.............................................................................................25
МАЯК-КП...........................................................................................26
МАЯК-КПМ........................................................................................27
Звуковые
МАЯК-ЗМ...........................................................................................28
Световые
МАЯК-С.............................................................................................30
Система речевого оповещения «Ария»
Блоки речевого оповещения.............................................................36
Блоки расширения...........................................................................40
Речевые оповещатели......................................................................42
Моноблок.........................................................................................43
Дополнительные устройства.............................................................44
Источники питания
ИБИС................................................................................................65
Аварийное освещение
ЛУЧ...................................................................................................69
СИЯНИЕ............................................................................................72
Контроль доступа
ВЕКТОР..............................................................................................75
Защита дома
ДО-ЗВОН...........................................................................................77
Содержание
светоуказатели
7
КРИСТАЛЛ
Светоуказатели КРИСТАЛЛ предназначены для обозначения эвакуаци-
онных выходов, указания путей эвакуации людей при возникновении опасно-
сти. Также могут использоваться в качестве информационных табло. Обес-
печивают контрастное восприятие информации при любом освещении.
Кристалл – первое в России световое табло, изготовленное с применени-
ем светодиодов белого свечения.
ТУ 4372-002-49518441-03, гарантия 5 лет.
ЛЮБЫЕ НАДПИСИ И ПИКТОГРАММЫ В КОРОТКИЕ СРОКИ
Современный дизайн
Равномерное
распределение засветки
Удобство монтажа
Модификации Напряжение
питания
Ток
потребления
Потребляемая
мощность
Уровень
звукового
давления
Степень
защиты
оболочки
Вид
климатического
исполнения
Особенности
модификации
КРИСТАЛЛ-12 12 В 17 мА __ __ IP 41 УХЛ 2
КРИСТАЛЛ-24 24 В 17 мА __ __ IP 41 УХЛ 2
КРИСТАЛЛ-220 220 В __ 7,5 В•А __ IP 40 УХЛ 3
КРИСТАЛЛ-12-К 12 В 67 мА __ 100 дБ IP 41 УХЛ 2 комбинированный
КРИСТАЛЛ-24-К 24 В 67 мА __ 100 дБ IP 41 УХЛ 2 комбинированный
КРИСТАЛЛ-12 НИ 12 В 17 мА __ __ IP 55 УХЛ 1
наружное
исполнение
КРИСТАЛЛ-24 НИ 24 В 17 мА __ __ IP 55 УХЛ 1
наружное
исполнение
КРИСТАЛЛ-12-МС 12 В 35 мА __ __ IP 41 УХЛ 2
повышенная
яркость свечения
КРИСТАЛЛ-24-МС 24 В 35 мА __ __ IP 41 УХЛ 2
повышенная
яркость свечения
светоуказатели
8
КРИСТАЛЛ СН
скрытая надпись
КРОНШТЕЙН
для настенного крепления
двустороннего светоуказателя КРИСТАЛЛ
Материал: металл, порошковая покраска
Модификации Напряжение
питания
Ток
потребления
Потребляемая
мощность
Степень
защиты
оболочки
Вид
климатического
исполнения
КРИСТАЛЛ-12 СН 12 В 35 мА __ IP 41 УХЛ 2
КРИСТАЛЛ-24 СН 24 В 35 мА __ IP 41 УХЛ 2
Модификации Напряжение
питания
Ток
потребления
Потребляемая
мощность
Степень
защиты
оболочки
Вид
климатического
исполнения
Особенности
модификации
КРИСТАЛЛ-12 Д 12 В 35 мА __ IP 41 УХЛ 2
КРИСТАЛЛ-12 Д 24 В 35 мА __ IP 41 УХЛ 2
КРИСТАЛЛ-220 Д 220 В __ 15 В•А IP 40 УХЛ 3
КРИСТАЛЛ-12-МС Д 12 В 70 мА __
IP 41 УХЛ 2 повышенная
яркость свечения
КРИСТАЛЛ-24-МС Д 24 В 70 мА __
IP 41 УХЛ 2 повышенная
яркость свечения
Надписи и пиктограммы
видны только в режиме оповещения
КРИСТАЛЛ Д
двустороннее исполнение
КОЗЫРЕК 330 х 130
для светоуказателей КРИСТАЛЛ и ЛЮКС,
устанавливаемых вне помещений
Материал: металл, порошковая покраска
omelta.com
Настенное и потолочное
крепление
9
КРИСТАЛЛ-ДИН
Динамические светоуказатели КРИСТАЛЛ-ДИН предназначены для ука-
зания путей эвакуации людей при возникновении опасности с помощью
управляемой стрелки, способной менять направление в зависимости от
поданного напряжения: влево, вправо или в обе стороны одновременно.
Модификации КРИСТАЛЛ-ДИН2 при оповещении работают в мигающем
режиме.
ТУ 4372-002-49518441-03, гарантия 3 года.
ДИНАМИЧЕСКИЕ СВЕТОУКАЗАТЕЛИ
Модификации Напряжение
питания
Ток
потребления
Частота
мигания
Степень
защиты
оболочки
Вид
климатического
исполнения
Особенности
модификации
КРИСТАЛЛ-12-ДИН1 12 В 80 мА __ IP 41 УХЛ 2
КРИСТАЛЛ-24-ДИН1 24 В 60 мА __ IP 41 УХЛ 2
КРИСТАЛЛ-12-ДИН2 12 В 80 мА 1,3 Гц IP 41 УХЛ 2
КРИСТАЛЛ-24-ДИН2 24 В 60 мА 1,3 Гц IP 41 УХЛ 2
КРИСТАЛЛ-12-ДИН1 Д 12 В 160 мА __ IP 41 УХЛ 2 двустороннее
исполнение
КРИСТАЛЛ-24-ДИН1 Д 24 В 120 мА
__
IP 41 УХЛ 2
двустороннее
исполнение
КРИСТАЛЛ-12-ДИН2 Д 12 В 160 мА 1,3 Гц IP 41 УХЛ 2 двустороннее
исполнение
КРИСТАЛЛ-24-ДИН2 Д 24 В 160 мА 1,3 Гц IP 41 УХЛ 2 двустороннее
исполнение
Яркая засветка
Способность менять
направление стрелки
Частота мигания
1,3 Гц (ДИН2)
светоуказатели
10
КРИСТАЛЛ-12, КРИСТАЛЛ-24
КРИСТАЛЛ-12 СН, КРИСТАЛЛ-24 СН
КРИСТАЛЛ-12-МС, КРИСТАЛЛ-24-МС
КРИСТАЛЛ-220
КРИСТАЛЛ-220 Д
КРИСТАЛЛ-12 НИ, КРИСТАЛЛ-24 НИ
КРИСТАЛЛ-12 Д, КРИСТАЛЛ-24 Д
КРИСТАЛЛ-12-МС Д, КРИСТАЛЛ-24-МС Д
КРИСТАЛЛ-12-К
КРИСТАЛЛ-24-К
Схемы подключения
КРИСТАЛЛ-12-ДИН1
КРИСТАЛЛ-24-ДИН1
КРИСТАЛЛ-12-ДИН2
КРИСТАЛЛ-24-ДИН2
+
-
КРИСТАЛЛ-12-ДИН1 Д
КРИСТАЛЛ-24-ДИН1 Д
КРИСТАЛЛ-12-ДИН2 Д
КРИСТАЛЛ-24-ДИН2 Д
omelta.com
11
Установочные размеры, в мм
КРИСТАЛЛ-12, КРИСТАЛЛ-24
КРИСТАЛЛ-220
КРИСТАЛЛ-12 СН, КРИСТАЛЛ-24 СН
КРИСТАЛЛ-12 НИ, КРИСТАЛЛ-24 НИ
КРИСТАЛЛ-12-МС, КРИСТАЛЛ-24-МС
КРИСТАЛЛ-12-ДИН1
КРИСТАЛЛ-24-ДИН1
КРИСТАЛЛ-12-ДИН2
КРИСТАЛЛ-24-ДИН2
КРИСТАЛЛ-12-К, КРИСТАЛЛ-24-К
102
302
КРИСТАЛЛ-12 Д
КРИСТАЛЛ-24 Д
КРИСТАЛЛ-220 Д
КРИСТАЛЛ-12-МС Д
КРИСТАЛЛ-24-МС Д
КРИСТАЛЛ-12-ДИН1 Д
КРИСТАЛЛ-24-ДИН1 Д
КРИСТАЛЛ-12-ДИН2 Д
КРИСТАЛЛ-24-ДИН2 Д
клеммная колодка 306-021-12
клеммная колодка 306-031-12
2 клеммных колодки 306-021-12
КРОНШТЕЙН для двустороннего светоуказателя КРИСТАЛЛ
5
65
6342
40
светоуказатели
12
ЛЮКС
Под торговой маркой ЛЮКС выпускается широкая линейка светоуказа-
телей. Конструкция корпуса позволяет при необходимости менять надписи
на табло. Нейтрально-белые светодиоды имеют комфортную для восприятия
температуру свечения. Стабильно высокое качество продукции обеспечива-
ет устойчивый спрос светоуказателей ЛЮКС среди специалистов проектных
и монтажных организаций.
ТУ 4372-004-49518441-04, гарантия 3 года.
omelta.com
ЛЮБЫЕ НАДПИСИ И ПИКТОГРАММЫ В КОРОТКИЕ СРОКИ
Современный
дизайн
Широкая линейка
модификаций
Модификации Напряжение
питания
Ток
потребления
Потребляемая
мощность
Уровень
звукового
давления
Степень
защиты
оболочки
Вид
климатического
исполнения
Особенности
модификации
ЛЮКС-12 12 В 20 мА __ __ IP 55 УХЛ 2
ЛЮКС-24 24 В 20 мА __ __ IP 55 УХЛ 2
ЛЮКС-220 220 В __ 6 В•А __ IP 50 УХЛ 3
ЛЮКС-220-Р 220 В __ 18 В•А __ IP 50 УХЛ 4
с РИП, 4 часа
автономной
работы
ЛЮКС-12 НИ 12 В 20 мА __ __ IP 55 УХЛ 1
наружное
исполнение
ЛЮКС-24 НИ 24 В 20 мА __ __ IP 55 УХЛ 1
наружное
исполнение
ЛЮКС-220 НИ 220 В __ 6 В•А __ IP 66 УХЛ 1
наружное
исполнение
ЛЮКС-12-К 12 В 40 мА __ 100 дБ IP 55 УХЛ 2 комбинированный
ЛЮКС-24-К 24 В 40 мА __ 100 дБ IP 55 УХЛ 2 комбинированный
ЛЮКС-220-К 220 В __ 17 В•А 100 дБ IP 50 УХЛ 3 комбинированный
ЛЮКС-12 МС 12 В 40 мА __ __ IP 55 УХЛ 2
повышенная
яркость свечения
ЛЮКС-24 МС 24 В 40 мА __ __ IP 55 УХЛ 2
повышенная
яркость свечения
13
omelta.comсветоуказатели
ЛЮКС СН
скрытая надпись
Модификации Напряжение
питания
Ток
потребления
Потребляемая
мощность
Степень
защиты
оболочки
Вид
климатического
исполнения
ЛЮКС-12 СН 12 В 80 мА __ IP 55 УХЛ 2
ЛЮКС-24 СН 24 В 80 мА __ IP 55 УХЛ 2
Модификации Напряжение
питания
Ток
потребления
Потребляемая
мощность
Степень
защиты
оболочки
Вид
климатического
исполнения
Особенности
модификации
ЛЮКС-12 Д 12 В 40 мА __ IP 55 УХЛ 2
ЛЮКС-24 Д 24 В 40 мА __ IP 55 УХЛ 2
ЛЮКС-220 Д 220 В __ 12 В•А IP 50 УХЛ 3
ЛЮКС-220-Р Д 220 В __ 36 В•А IP 50 УХЛ 4
с РИП, 4 часа
автономной работы
Надписи и пиктограммы
видны только в режиме оповещения
ЛЮКС Д
двустороннее исполнение
КОЗЫРЕК 330 х 130
для светоуказателей
КРИСТАЛЛ и ЛЮКС,
устанавливаемых вне помещений
Материал: металл, порошковая покраска
Настенное и потолочное
крепление
14
ЛЮКС-12, ЛЮКС-24
ЛЮКС-12 СН, ЛЮКС-24 СН
ЛЮКС-12 МС, ЛЮКС-24 МС
ЛЮКС-12 НИ, ЛЮКС-24 НИ
ЛЮКС-220 НИ
ЛЮКС-12 Д, ЛЮКС-24 Д
ЛЮКС-220 Д
ЛЮКС-220-Р Д
ЛЮКС-220, ЛЮКС-220-Р
ЛЮКС-12-К, ЛЮКС-24-К
Схемы подключения
ЛЮКС-220-К
omelta.com
15
Установочные размеры, в мм
ЛЮКС-12 Д
ЛЮКС-24 Д
ЛЮКС-220 Д
ЛЮКС-220-Р Д
105
170
300
КРОНШТЕЙН
для двустороннего
светоуказателя ЛЮКС
R3
55
85
234
300
100
5
234
300
5
100
30
55
105
4
5050
ЛЮКС-12, ЛЮКС-24
ЛЮКС-220, ЛЮКС-220-Р
ЛЮКС-12 СН, ЛЮКС-24 СН
ЛЮКС-12 МС, ЛЮКС-24 МС
ЛЮКС-12 НИ, ЛЮКС-24 НИ
ЛЮКС-12-К
ЛЮКС-24-К
ЛЮКС-220-К
ЛЮКС-220 НИ
светоуказатели
16
omelta.com
Модификации
Напряжение
питания
Потребляемая
мощность
Световой
поток
Степень
защиты
оболочки
Вид
климати-
ческого
исполнения
Особенности
модификации
ЛЮКС КВАДРО 220 В 7,2 В•А __ IP 50 УХЛ 2 __
ЛЮКС КВАДРО-С 220 В 7,2 В•А 850 Лм IP 50 УХЛ 2 Подсветка вниз
ЛЮКС КВАДРО
Оповещатели охранно-пожарные световые ЛЮКС КВАДРО предназначе-
ны для обозначения эвакуационных выходов, указания путей эвакуции людей
при возникновении опасности. Также могут быть использованы в качестве
информационных табло. Модификации ЛЮКС КВАДРО-С создают направ-
ленную подсветку вниз. Светоуказатели с индексом Р имеют встроенный ре-
зервный источник питания (РИП).
ЛЮКС КВАДРО рекомендованы к установке в местах массового пребы-
вания людей: в аэропортах, на вокзалах, в крупных торговых и развлекатель-
ных центрах, гостиницах и учебных заведениях. Предусмотрено настенное
или потолочное крепление.
СВЕТОУКАЗАТЕЛИ ДЛЯ БОЛЬШИХ ПОМЕЩЕНИЙ
НОВИНКА
Функция направленной
подсветки вниз
Нанесение любых
надписей и пиктограмм
настенное исполнение
ЛЮКС КВАДРО ЛЮКС КВАДРО-С
Модификации ЛЮКС КВАДРО-Р и ЛЮКС КВАДРО-РС
с резервным источником питания (РИП) под заказ!
17
светоуказатели
потолочное исполнение
ЛЮКС КВАДРО-СПЛЮКС КВАДРО-П
Схема подключения
Модификации
Напряжение
питания
Потребляемая
мощность
Световой
поток
Степень
защиты
оболочки
Вид
климати-
ческого
исполнения
Особенности
модификации
ЛЮКС КВАДРО-П 220 В 7,2 В•А __ IP 50 УХЛ 2 __
ЛЮКС КВАДРО-СП 220 В 7,2 В•А 850 Лм IP 50 УХЛ 2 Подсветка вниз
Модификации ЛЮКС КВАДРО-РП и ЛЮКС КВАДРО-РСП
с резервным источником питания (РИП) под заказ!
ЛЮКС КВАДРО
ЛЮКС КВАДРО-С
ЛЮКС КВАДРО-Р
ЛЮКС КВАДРО-РС
ЛЮКС КВАДРО-П
ЛЮКС КВАДРО-СП
ЛЮКС КВАДРО-РП
ЛЮКС КВАДРО-РСП
18
omelta.com
Установочные размеры, в мм
ЛЮКС КВАДРО-П
ЛЮКС КВАДРО-СП
ЛЮКС КВАДРО-РП
ЛЮКС КВАДРО-РСП
ЛЮКС КВАДРО
ЛЮКС КВАДРО-С
ЛЮКС КВАДРО-Р
ЛЮКС КВАДРО-РС
КРОНШТЕЙН
для крепления
светоуказателя ЛЮКС КВАДРО-П
к потолку
180
100350
350
80
100
150
70
20
8
510
350
325100
45
150
19
ПРЕСТИЖ
Светоуказатели серии ПРЕСТИЖ имеют рамку из высококачественно-
го алюминиевого профиля (цвет «серебро»), оригинальную яркую и чёт-
кую засветку по контуру надписи или пиктограммы. Предназначены для
обозначения эвакуационных выходов. Также могут использоваться в каче-
стве информационных табло премиум-класса. Основной отличительной
чертой модификаций ПРЕСТИЖ ПРЕМИУМ являются увеличенные разме-
ры информационного поля.
Светоуказатели ПРЕСТИЖ отлично дополнят даже самый изыскан-
ный интерьер, подчеркнут статус организации. При заказе Вы можете
выбрать цвет фона, гармонирующий с интерьером, подобрать любую
надпись или пиктограмму.
ТУ 4372-002-49518441-03, гарантия 3 года.
ИНФОРМАЦИОННЫЕ ТАБЛО ПРЕМИУМ-КЛАССА
светоуказатели
Модификации Напряжение
питания
Ток
потребления
Степень
защиты
оболочки
Вид
климатического
исполнения
Габаритные размеры,
особенности
модификации
ПРЕСТИЖ-12 12 В 40 мА IP 41 УХЛ 2 322 х 125 х 12 мм
ПРЕСТИЖ-24 24 В 40 мА IP 41 УХЛ 2 322 х 125 х 12 мм
ПРЕСТИЖ-12 Д 12 В 80 мА IP 41 УХЛ 2 322 х 125 х 10 мм
двустороннее исполнение
ПРЕСТИЖ-24 Д 24 В 80 мА IP 41 УХЛ 2 322 х 125 х 10 мм
двустороннее исполнение
ПРЕСТИЖ-12 ПРЕМИУМ 12 В 80 мА IP 41 УХЛ 2 500 х 250 х 10 мм
ПРЕСТИЖ-24 ПРЕМИУМ 24 В 80 мА IP 41 УХЛ 2 500 х 250 х 10 мм
ПРЕСТИЖ-12 ПРЕМИУМ Д 12 В 160 мА IP 41 УХЛ 2 500 х 250 х 10 мм
двустороннее исполнение
ПРЕСТИЖ-24 ПРЕМИУМ Д 24 В 160 мА IP 41 УХЛ 2 500 х 250 х 10 мм
двустороннее исполнение
Любой цвет фона
Нанесение любых
надписей и пиктограмм
20
Установочные размеры, в мм
ПРЕСТИЖ-12 ПРЕМИУМ
ПРЕСТИЖ-24 ПРЕМИУМ
ПРЕСТИЖ-12 ПРЕМИУМ Д
ПРЕСТИЖ-24 ПРЕМИУМ Д
9250
400
500
12
7,5
9250
400
500 10
7,5
ПРЕСТИЖ-12
ПРЕСТИЖ-24
ПРЕСТИЖ-12 Д
ПРЕСТИЖ-24 Д
322
510
9
147
322
260
125
10
12
10
125
ПРЕСТИЖ-12, ПРЕСТИЖ-24
ПРЕСТИЖ-12 Д, ПРЕСТИЖ-24 Д
ПРЕСТИЖ-12 ПРЕМИУМ
ПРЕСТИЖ-24 ПРЕМИУМ
ПРЕСТИЖ-12 ПРЕМИУМ Д
ПРЕСТИЖ-24 ПРЕМИУМ Д
Схемы подключения
omelta.com
21
МИНИ
Светоуказатели серии МИНИ – компактные световые табло с функцией
направленной подсветки «вниз». МИНИ предназначены для указания путей
эвакуации людей при возникновении опасности, обозначения местораспо-
ложения и подсветки планов эвакуации, первичных средств пожаротушения,
ручных пожарных извещателей, эвакуационных выходов. Кроме засветки
информационного поля освещается также пространство под светоуказа-
телем. При заказе Вы можете выбрать черный или белый цвет корпуса.
ТУ 4372-002-49518441-03, гарантия 3 года.
ИНФОРМАЦИОННЫЙ СВЕТОУКАЗАТЕЛЬ
С НАПРАВЛЕННОЙ ПОДСВЕТКОЙ ВНИЗ
Функция
направленной
подсветки вниз
Нанесение
любых надписей
и пиктограмм
Черный цвет
корпуса под заказ
Модификации
Напряжение
питания
Ток
потребления
Потребляемая
мощность
Степень
защиты
оболочки
Вид
климатического
исполнения
Особенности
модификации
МИНИ-12 12 В 40 мА __ IP 41 УХЛ 2
МИНИ-24 24 В 40 мА __ IP 41 УХЛ 2
МИНИ-220 220 В __
4,4 В•А IP 40 УХЛ 3
МИНИ-220-Р 220 В __ 4,4 В•А IP 40 УХЛ 4
с РИП, 4 часа
автономной работы
светоуказатели
22
МИНИ-ДИН
МИНИ-ДИН − серия компактных динамических табло для тех, кто идет в
ногу со временем. Светоуказатели МИНИ-ДИН позволяют провести безопас-
ную и эффективную эвакуацию в зданиях с СОУЭ 4 и 5 типов. Яркие динами-
ческие пиктограммы обеспечивают оптимальное восприятие информации
при различных уровнях освещенности и отлично заметны даже в очень за-
дымленных помещениях.
Для удобства расчетов стоимости светоуказатели МИНИ-ДИН4 разделе-
ны на следующие модификации: МИНИ-ДИН4 100, МИНИ-ДИН4 200 и МИНИ-
ДИН4 250, которые отличаются площадью заполнения информационного
поля, токопотреблением и стоимостью.
ТУ 4372-002-49518441-03, гарантия 3 года.
КОМПАКТНЫЕ ДИНАМИЧЕСКИЕ ТАБЛО
Белый цвет корпуса
под заказ
Яркие динамические
пиктограммы
Модификации
Напряжение
питания
Ток
потребления
Степень
защиты
оболочки
Вид
климатического
исполнения
Особенности
модификации
МИНИ-12-ДИН1 12 В 180 мА IP 41 УХЛ 2
стрелка влево/ вправо/
в обе стороны
МИНИ-12-ДИН2 12 В 100 мА IP 41 УХЛ 2
стрелка вперед/
пиктограмма СТОП
МИНИ-ДИН4 9...30 В 140-280 мА IP 41 УХЛ 2
4 изображения
под заказ
МИНИ-ДИН4МИНИ-12-ДИН2МИНИ-12-ДИН1
omelta.com
23
МИНИ-12, МИНИ-24
МИНИ-220, МИНИ-220-Р
МИНИ-12-ДИН1, МИНИ-12-ДИН2
МИНИ-ДИН4
Схемы подключения
Установочные размеры, в мм
МИНИ-12, МИНИ-24
МИНИ-220, МИНИ-220-Р
МИНИ-12-ДИН1, МИНИ-12-ДИН2
МИНИ-ДИН4
120
150
150
4
4 отв.
10
120
150
15
светоуказатели
ОПОВЕЩАТЕЛИ
25
МАЯК-К
Комбинированные оповещатели серии МАЯК-К предназначены для выда-
чи световых и звуковых сигналов на объектах, оснащенных охранно-пожар-
ной сигнализацией. Оповещатели этой серии остаются одними из самых
востребованных в своем классе. Прочный антивандальный штампованный
металлический корпус, широкий диапазон рабочих температур, высокий
уровень звукового давления и низкое токопотребление – это залог успеха
оповещателей МАЯК-К.
ТУ 4372-001-49518441-99, гарантия 5 лет.
оповещатели
ВОЗМОЖНО ПРИМЕНЕНИЕ В АРКТИЧЕСКИХ УСЛОВИЯХ
Прочный штампованный
металлический корпус
Широкий диапазон рабочих
температур -50...+55°С
Высокий уровень
звукового давления (до 110 дБ)
Гарантия 5 лет
Модификации
Напряжение
питания
Ток
потребления
Потребляемая
мощность
Уровень
звукового
давления
Степень
защиты
оболочки
Вид
климатического
исполнения
Особенности
модификации
МАЯК-12-К 12 В 40 мА __ 105 дБ IP 52 УХЛ 1
МАЯК-24-К 24 В 40 мА __ 105 дБ IP 52 УХЛ 1
МАЯК-12-К Т 12 В 40 мА __ 105 дБ IP 52 УХЛ 1
оснащен
тампером
МАЯК-24-К Т 24 В 40 мА __ 105 дБ IP 52 УХЛ 1
оснащен
тампером
МАЯК-12-К 110 12 В 50 мА
__
110 дБ IP 52 УХЛ 1
повышенный
уровень звукового
давления
МАЯК-24-К 110 24 В 50 мА
__
110 дБ IP 52 УХЛ 1
повышенный
уровень звукового
давления
МАЯК-220-К 220 В __ 16 В•А 105 дБ IP 50 УХЛ 1
СВЕТ + ЗВУК
5
26
МАЯК-КП
Комбинированные оповещатели серии МАЯК-КП предназначены для вы-
дачи световых и звуковых сигналов на объектах, оснащенных охранно-по-
жарной сигнализацией. Безупречный дизайн корпуса, высокий уровень
звукового давления (до 110 дБ), привлекательная цена, низкое токопот­ребле-
ние – эти преимущества позволяют оповещателям МАЯК-КП быть вне конку-
ренции.
МАЯК-КП – одни из самых продаваемых комбинированных оповещате-
лей. Потребители хорошо знают эти изделия и доверяют высокому качеству
марки.
ТУ 4372-001-49518441-99, гарантия 5 лет.
15 ЛЕТ НА СТРАЖЕ ВАШЕЙ БЕЗОПАСНОСТИ
omelta.com
Высокий уровень
звукового давления
Гарантия 5 лет5
Низкое
токопотребление
СВЕТ + ЗВУК
Модификации Напряжение
питания
Ток
потребления
Уровень
звукового
давления
Степень
защиты
оболочки
Вид
климатического
исполнения
Особенности
модификации
МАЯК-12-КП 12 В 75 мА 105 дБ IP 55 УХЛ 1
МАЯК-24-КП 24 В 75 мА 105 дБ IP 55 УХЛ 1
МАЯК-12-КП 110 12 В 125 мА 110 дБ IP 55 УХЛ 1
повышенный
уровень звукового
давления
МАЯК-24-КП 110 24 В 125 мА 110 дБ IP 55 УХЛ 1
повышенный
уровень звукового
давления
МАЯК-КП
27
оповещатели
МАЯК-КПМ
МАЯК-КПМ – серия комбинированных оповещателей с различным нап-
ряжением питания и разным уровнем звукового давления. Оповещатели
входят в низкий ценовой сегмент, обладая при этом высоким качеством.
ТУ 4372-001-49518441-99, гарантия 5 лет.
СВЕТ + ЗВУК
Высокий уровень
звукового давления
Гарантия 5 лет
Низкое
токопотребление
Модификации Напряжение
питания
Ток
потребления
Потребляемая
мощность
Уровень
звукового
давления
Степень
защиты
оболочки
Вид
климатического
исполнения
Особенности
модификации
МАЯК-12-КПМ 12 В 40 мА __ 105 дБ IP 56 УХЛ 1
МАЯК-24-КПМ 24 В 40 мА __ 105 дБ IP 56 УХЛ 1
МАЯК-12-КПМ1 12 В 40 мА __ 105 дБ IP 55 УХЛ 2
МАЯК-24-КПМ1 24 В 40 мА __ 105 дБ IP 55 УХЛ 2
МАЯК-220-КПМ1 220 В __ 16 В•А 105 дБ IP 50 УХЛ 3
МАЯК-12-КПМ2 12 В 50 мА __ 110 дБ IP 55 УХЛ 2
повышенный
уровень звукового
давления
МАЯК-24-КПМ2 24 В 50 мА __ 110 дБ IP 55 УХЛ 2
повышенный
уровень звукового
давления
МАЯК-220-КПМ2 220 В __ 16 В•А 110 дБ IP 50 УХЛ 3
повышенный
уровень звукового
давления
МАЯК-КПМ МАЯК-КПМ1, МАЯК-КПМ2
ВЫСОКОЕ КАЧЕСТВО ПО ДОСТУПНОЙ ЦЕНЕ
5
28
Модификации Напряжение
питания
Ток
потребления
Потребляемая
мощность
Уровень
звукового
давления
Степень
защиты
оболочки
Вид
климатического
исполнения
Особенности
модификации
МАЯК-12-КПМ1 НИ 12 В 40 мА __ 105 дБ IP 55 УХЛ 1
МАЯК-24-КПМ1 НИ 24 В 40 мА __ 105 дБ IP 55 УХЛ 1
МАЯК-220-КПМ1-НИ 220 В __ 16 В•А 105 дБ IP 50 УХЛ 2
МАЯК-12-КПМ2 НИ 12 В 50 мА __ 110 дБ IP 55 УХЛ 1
повышенный
уровень звукового
давления
МАЯК-24-КПМ2 НИ 24 В 50 мА __ 110 дБ IP 55 УХЛ 1
повышенный
уровень звукового
давления
МАЯК-220-КПМ2-НИ 220 В __ 16 В•А 110 дБ IP 50 УХЛ 2
повышенный
уровень звукового
давления
omelta.com
МАЯК-КПМ НИ
наружное исполнение
Модификации оповещателей серии
МАЯК-КПМ НИ предназначены для
эксплуатации вне помещений
МАЯК-ЗМ
Звуковые оповещатели серии МАЯК-ЗМ обеспечивают высокий уро-
вень звукового давления при низком энергопотреблении. Разработано
несколько вариантов дизайна корпуса наружного и внутреннего испол-
нения.
ТУ 4372-001-49518441-99, гарантия 5 лет.
БЮДЖЕТНАЯ ЛИНЕЙКА ОПОВЕЩАТЕЛЕЙ
Высокий уровень
звукового давления
Гарантия 5 лет5
Низкое
токопотребление
ЗВУК
МАЯК-ЗМ МАЯК-ЗМ1, МАЯК-ЗМ2
29
оповещатели
Модификации Напряжение
питания
Ток
потребления
Потребляемая
мощность
Уровень
звукового
давления
Степень
защиты
оболочки
Вид
климатического
исполнения
Особенности
модификации
МАЯК-12-ЗМ 12 В 20 мА __ 105 дБ IP 56 УХЛ 2
МАЯК-24-ЗМ 24 В 20 мА __ 105 дБ IP 56 УХЛ 2
МАЯК-12-ЗМ1 12 В 20 мА __ 105 дБ IP 55 УХЛ 2
МАЯК-24-ЗМ1 24 В 20 мА __ 105 дБ IP 55 УХЛ 2
МАЯК-220-ЗМ1 220 В __ 11 В•А 105 дБ IP 50 УХЛ 3
МАЯК-12-ЗМ2 12 В 30 мА __ 110 дБ IP 55 УХЛ 2
повышенный
уровень звукового
давления
МАЯК-24-ЗМ2 24 В 30 мА __ 110 дБ IP 55 УХЛ 2
повышенный
уровень звукового
давления
МАЯК-220-ЗМ2 220 В __ 11 В•А 110 дБ IP 50 УХЛ 3
повышенный
уровень звукового
давления
МАЯК-ЗМ НИ
наружное исполнение
Модификации оповещателей серии
МАЯК-ЗМ НИ предназначены для
эксплуатации вне помещений
Модификации Напряжение
питания
Ток
потребления
Потребляемая
мощность
Уровень
звукового
давления
Степень
защиты
оболочки
Вид
климатического
исполнения
Особенности
модификации
МАЯК-12-ЗМ1 НИ 12 В 20 мА __ 105 дБ IP 55 УХЛ 1
МАЯК-24-ЗМ1 НИ 24 В 20 мА __ 105 дБ IP 55 УХЛ 1
МАЯК-220-ЗМ1-НИ 220 В __ 11 В•А 105 дБ IP 50 УХЛ 2
МАЯК-12-ЗМ2 НИ 12 В 30 мА __ 110 дБ IP 55 УХЛ 1
повышенный
уровень звукового
давления
МАЯК-24-ЗМ2 НИ 24 В 30 мА __ 110 дБ IP 55 УХЛ 1
повышенный
уровень звукового
давления
МАЯК-220-ЗМ2-НИ 220 В __ 11 В•А 110 дБ IP 50 УХЛ 2
повышенный
уровень звукового
давления
30
МАЯК-С
Световые оповещатели серий МАЯК-С и МАЯК-СТ предназначены для
выдачи световых сигналов на объектах, оснащенных охранно-пожарной
сигнализацией. Отличаются лаконичным дизайном и оптимальными про-
порциями корпуса. Особой популярностью пользуются оповещатели
МАЯК-СТ, обладающие яркой стробоскопической вспышкой.
В отличие от аналогов стробоскопические МАЯКи обладают малым то-
копотреблением – всего 20 мА! Светофильтр может быть красного, желто-
го, зеленого или синего цвета.
ТУ 4372-001-49518441-99, гарантия 5 лет.
ЯРКИЙ СВЕТ ПРИ НИЗКОМ ТОКОПОТРЕБЛЕНИИ
omelta.com
СВЕТ
Модификации Напряжение
питания
Ток
потребления
Потребляемая
мощность
Частота
мигания
Степень
защиты
оболочки
Вид
климатического
исполнения
Особенности
модификации
МАЯК-12-С 12 В 20 мА __ __ IP 66 УХЛ 1
МАЯК-24-С 24 В 20 мА __ __ IP 66 УХЛ 1
МАЯК-220-С 220 В __ 7,5 В•А __ IP 60 УХЛ3
МАЯК-12-СТ 12 В 20 мА __ 1,7 Гц IP 66 УХЛ 1
стробоскопическая
вспышка
МАЯК-24-СТ 24 В 20 мА __ 1,7 Гц IP 66 УХЛ 1
стробоскопическая
вспышка
5 Гарантия
5 лет
Низкое
токопотребление
Яркая
стробоскопическая
вспышка (СТ)
31
МАЯК-12-К Т, МАЯК-24-К Т
Схемы подключения
1
2
4
3
2
1
4
3
2
1
4
3
2
1
МАЯК-12-КП, МАЯК-24-КП
МАЯК-12-КП 110, МАЯК-24-КП 110
МАЯК-12-КПМ, МАЯК-24-КПМ
МАЯК-12-КПМ1, МАЯК-24-КПМ1
МАЯК-12-КПМ2, МАЯК-24-КПМ2
МАЯК-12-КПМ1 НИ, МАЯК-24-КПМ1 НИ
МАЯК-12-КПМ2 НИ, МАЯК-24-КПМ2 НИ
МАЯК-220-КПМ1
МАЯК-220-КПМ1-НИ
МАЯК-220-КПМ2
МАЯК-220-КПМ2-НИ
МАЯК-220-К, МАЯК-220-К 110
МАЯК-12-К, МАЯК-24-К
МАЯК-12-К 110, МАЯК-24-К 110
оповещатели
32
Схемы подключения
Установочные размеры, в мм
МАЯК-12-К, МАЯК-24-К
МАЯК-12-К Т, МАЯК-24-К Т
МАЯК-12-К 110, МАЯК-24-К 110
МАЯК-220-К
4
4 отв.
140
4090
110
58
10
МАЯК-12-КП, МАЯК-24-КП
80
90
100
4
2 отв.
42
МАЯК-220-С
МАЯК-220-ЗМ1, МАЯК-220-ЗМ1-НИ
МАЯК-220-ЗМ2, МАЯК-220-ЗМ2-НИ
МАЯК-12-С, МАЯК-24-С
МАЯК-12-СТ, МАЯК-24-СТ
МАЯК-12-ЗМ, МАЯК-24-ЗМ
МАЯК-12-ЗМ1, МАЯК-24-ЗМ1
МАЯК-12-ЗМ1 НИ, МАЯК-24-ЗМ1 НИ
МАЯК-12-ЗМ2, МАЯК-24-ЗМ2
МАЯК-12-ЗМ2 НИ, МАЯК-24-ЗМ2 НИ
omelta.com
33
МАЯК-12-КПМ1 НИ, МАЯК-24-КПМ1 НИ
МАЯК-12-КПМ2 НИ, МАЯК-24-КПМ2 НИ
МАЯК-220-КПМ1-НИ, МАЯК-220-КПМ2-НИ
МАЯК-12-ЗМ1 НИ, МАЯК-12-ЗМ2 НИ
МАЯК-24-ЗМ1 НИ, МАЯК-24-ЗМ2 НИ
МАЯК-220-ЗМ1-НИ, МАЯК-220-ЗМ2-НИ
МАЯК-12-С, МАЯК-24-С
МАЯК-220-С
МАЯК-12-СТ, МАЯК-24-СТ
35100
100
76
4
4 отв.
5
2 отв.
29
80
90
100
4
2 отв.
30
62
Установочные размеры, в мм
МАЯК-12-ЗМ, МАЯК-24-ЗМ
МАЯК-12-КПМ, МАЯК-24-КПМ
80
90
100
4
2 отв.
30
80
70
4
2 отв.
55
МАЯК-12-ЗМ1, МАЯК-24-ЗМ1
МАЯК-12-ЗМ2, МАЯК-24-ЗМ2
МАЯК-220-ЗМ1, МАЯК-220-ЗМ2
МАЯК-12-КПМ1, МАЯК-24-КПМ1
МАЯК-12-КПМ2, МАЯК-24-КПМ2
МАЯК-220-КПМ1, МАЯК-220-КПМ2
оповещатели
РЕЧЕВОЕ ОПОВЕЩЕНИЕ
35
АРИЯ
Система речевого оповещения АРИЯ предназначена для формиро-
вания, трансляции и воспроизведения речевых сообщений о возникнове-
нии опасности, инструкций по эвакуации, трансляции фоновой музыки
и иной речевой информации в зданиях и сооружениях 3 и 4 типа СОУЭ.
Система включает в себя блоки речевого оповещения, блоки расши-
рения, речевые оповещатели и дополнительные устройства (програм-
матор, микрофон МК-12, микрофонная панель АРИЯ-МКП-4).
Система речевого оповещения АРИЯ разработана в полном соответ-
ствии с Техническим регламентом о требованиях пожарной безопаснос-
ти, отличается высокой надежностью, малым токопотреблением и прос-
тотой в эксплуатации.
Широкий спектр оборудования позволяет создать необходимую кон-
фигурацию системы АРИЯ в соответствии с назначением зданий, этаж-
ностью, численностью одновременно находящихся в здании людей, нали-
чием пожарных отсеков, их площадью, количеством и функциональной
зависимостью друг от друга.
Преимущества системы речевого оповещения АРИЯ: продуман-
ная конструкция корпусов блоков системы, продублированные клеммы
речевых оповещателей (под провод сечением до 2,5 мм), оптимально
подобранные комплекты ЗИП (запасных частей и принадлежностей) и
подробные схемы подключения, которые позволяют провести монтаж в
максимально короткие сроки.
речевое оповещение
ОПТИМАЛЬНОЕ СООТНОШЕНИЕ ЦЕНЫ
НА ПЛОЩАДЬ ОПОВЕЩЕНИЯ
Чистое
звучание
Возможность разделения
оповещения на зоны
Гибкая настройка
алгоритма оповещения
Возможность самостоятельной
записи сообщений
Трансляция фоновой музыки
или рекламы
Гарантия
5 лет
1/2/4
REC
5
36
Блоки речевого оповещения (БРО) предназначены для формирования
и трансляции речевых сообщений о возникновении опасности, инструк-
ций по эвакуации, трансляции сигналов ГО и ЧС, фоновой музыки (буква
М в названии) и рекламы. Модификации Р и РМ оснащены резервными
источниками питания. Все БРО системы оснащены встроенной энерго-
независимой памятью. Продолжительность записываемых сообщений со-
ставляет от 100 до 800 секунд в зависимости от модификации.
При изготовлении в память изделий записаны стандартные речевые со-
общения: «Производится проверка системы оповещения!», «Внимание! По-
жарная тревога! Всем срочно покинуть помещение!» и т.д. Кроме того, на
заводе-изготовителе имеется архив из более чем 30 записанных в студии
сообщений. Сообщения можно выбрать как при заказе системы, так и при
дальнейшем ее использовании. Обратившись на завод, можно получить
ссылку на скачивание необходимых сообщений.
Предусмотрена трансляция самостоятельно записанных сообщений.
Запись может производиться через линейный вход или с помощью програм-
матора. Возможна отдельная трансляция тревожных сообщений и музыки в
каждую из зон, оповещение персонала, посетителей.
АРИЯ
блоки речевого оповещения
АРИЯ-БРО-Р
- Контроль линий оповещения, управления и питания
- 2 сообщения общей длительностью до 100 секунд
- Программирование алгоритма воспроизведения сообщений
- Возможность записи сообщений через линейный вход
- Возможность подключения: микрофона МК-12,
микрофонной панели АРИЯ-МКП-4, оборудования ГО и ЧС
- Подключение до 50 активных устройств и до 48 пассивных
речевых оповещателей
Напряжение
питания
Выходная
мощность
Потребляемая
мощность
в дежурном
режиме
АКБ
(емкость)
Время работы от
встраиваемого аккумулятора Диапазон
частот
Особенности
модификации
Количество
зон
оповещениядежурный
режим
режим
оповещения
220 В, 50 Гц 40 В 3 В•А 7 А•ч 200 часов 6 часов 5-25 000 Гц РИП 1
Блок речевого оповещения с РИП
omelta.com
37
АРИЯ-БРО-М
АРИЯ-БРО-РМ
Блок речевого оповещения с возможностью
трансляции музыки
- Контроль линий оповещения и управления
- 2 сообщения общей длительностью до 100 секунд
- Программирование алгоритма воспроизведения сообщений
- Возможность записи сообщений через линейный вход
- Возможность подключения: микрофона МК-12,
микрофонной панели АРИЯ-МКП-4, оборудования ГО и ЧС, плеера
- Подключение до 50 активных устройств и до 48 пассивных
речевых оповещателей
Напряжение
питания
Выходная
мощность
Ток потребления в
дежурном режиме
Диапазон
частот
Особенности
модификации
Количество
зон оповещения
12 В 40 Вт 0,05 А 5-25 000 Гц Трансляция
музыки 1
- Контроль линий оповещения, управления и питания
- 2 сообщения общей длительностью до 100 секунд
- Программирование алгоритма воспроизведения сообщений
- Возможность записи сообщений через линейный вход
- Возможность подключения: микрофона МК-12,
микрофонной панели АРИЯ-МКП-4, оборудования ГО и ЧС, плеера
- Подключение до 50 активных устройств и до 48 пассивных
речевых оповещателей
Блок речевого оповещения с РИП и возможностью
трансляции музыки
АРИЯ-БРО-М-МИНИ
Блок речевого оповещения с возможностью
трансляции музыки
- Постоянный контроль линий управления
- 2 сообщения общей длительностью до 100 секунд
- Возможность подключения: микрофона МК-12,
микрофонной панели АРИЯ-МКП-4, оборудования ГО и ЧС, плеера
- Подключение до 50 активных устройств
Напряжение
питания
Выходная
мощность
Потребляемая
мощность
в дежурном режиме
Диапазон
частот
Особенности
модификации
Количество
зон оповещения
12 В 40 Вт 0,05 А 22-22 000 Гц Трансляция
музыки 1
речевое оповещение
Напряжение
питания
Выходная
мощность
Потребляемая
мощность
в дежурном
режиме
АКБ
(емкость)
Время работы от
встраиваемого аккумулятора Диапазон
частот
Особенности
модификации
Количество
зон
оповещениядежурный
режим
режим
оповещения
220 В, 50 Гц 40 В 7 В•А 7 А•ч 200 часов 6 часов 5-25 000 Гц Трансляция
музыки; РИП 1
38
omelta.com
Блок речевого оповещения с РИП и возможностью
трансляции музыки
АРИЯ-БРО-РМ-МИНИ
- Постоянный контроль линий управления и питания
- 2 сообщения общей длительностью до 100 секунд
- Возможность подключения: микрофона МК-12,
микрофонной панели АРИЯ-МКП-4, оборудования ГО и ЧС, плеера
- Подключение до 50 активных устройств
Двухзональный блок речевого оповещения с РИП
и возможностью трансляции музыки
АРИЯ-БРО-РМ-МИНИ2
- Постоянный контроль линий управления и питания
- 5 сообщений общей длительностью до 100 секунд
- Программирование алгоритма воспроизведения сообщений
- Возможность записи сообщений через линейный вход
- Возможность подключения: микрофона МК-12,
микрофонной панели АРИЯ-МКП-4, оборудования ГО и ЧС, плеера
- Подключение до 50 активных устройств к каждой линии управления
Четырехзональный блок речевого оповещения
с возможностью трансляции музыки
АРИЯ-АС-БРО-М-4
Напряжение
питания
Выходная
мощность
Потребляемая
мощность
в дежурном режиме
Диапазон
воспроизводимых
часот
Особенности
модификации
Количество
зон оповещения
12 В 40 Вт 0,08 А 22-22 000 Гц Трансляция
музыки 4
- Постоянный контроль линий управления и питания
- 9 сообщений общей длительностью от 100 до 400 секунд
- Программирование алгоритма воспроизведения сообщений
- Возможность записи сообщений через линейный вход
- Возможность подключения: микрофона МК-12,
микрофонной панели АРИЯ-МКП-4, оборудования ГО и ЧС, плеера
- Подключение до 50 активных устройств к каждой линии управления
Напряжение
питания
Выходная
мощность
Потребляемая
мощность
в дежурном
режиме
АКБ
(емкость)
Время работы от
встраиваемого аккумуля-
тора Диапазон
частот
Особенности
модификации
Количество
зон
оповещениядежурный
режим
режим
оповещения
220 В, 50 Гц 40 В 5 В•А 0,8 А•ч 200 часов 6 часов 22-22 000 Гц Трансляция
музыки; РИП 1
Напряжение
питания
Выходная
мощность
Потребляемая
мощность
в дежурном
режиме
АКБ
(емкость)
Время работы от
встраиваемого аккумулятора Диапазон
частот
Особенности
модификации
Количество
зон
оповещениядежурный
режим
режим
оповещения
220 В, 50 Гц 40 В 5 В•А 0,8 А•ч 24 часа 12 часов 22-22 000 Гц Трансляция
музыки; РИП 2
39
речевое оповещение
Четырехзональный блок речевого оповещения с РИП
и возможностью трансляции музыки
АРИЯ-АС-БРО-РМ-4
АРИЯ-ТС-БРО-РМ-120
Двухзональный блок речевого оповещения
с высоковольтным выходом, РИП и возможностью
трансляции музыки
- Контроль линий оповещения, управления, питания
- Программирование алгоритма воспроизведения сообщений
- 3 сообщения общей длительностью от 100 до 800 секунд
- Возможность подключения: микрофона МК-12,
микрофонной панели АРИЯ-МКП-4, оборудования ГО и ЧС, плеера
- MP3 плеер USB/ micro SD, FM радио
Напряжение
питания
Напряжение
питания от
резервного
источника
Выход
мощностью
Время работы от
встраиваемого аккумулятора Диапазон
частот
Особенности
модификации
Количество
зон
оповещениядежурный
режим
режим
оповещения
220 В, 50 Гц 24 В 120 Вт 100 В 24 часа 3 часа 5-16 000 Гц
Трансляция
музыки;
РИП; плеер
1
- Постоянный контроль линий управления и питания
- 9 сообщений общей длительностью от 100 до 400 секунд
- Программирование алгоритма воспроизведения сообщений
- Возможность записи сообщений через линейный вход
- Возможность подключения: микрофона МК-12,
микрофонной панели АРИЯ-МКП-4, оборудования ГО и ЧС, плеера
- Подключение до 50 активных устройств к каждой линии управления
- Контроль линий оповещения, управления, питания
- Программирование алгоритма воспроизведения сообщений
- 5 сообщений общей длительностью от 100 до 800 секунд
- Возможность подключения: микрофона МК-12,
микрофонной панели АРИЯ-МКП-4, оборудования ГО и ЧС, плеера
- MP3 плеер USB/ micro SD, FM радио
АРИЯ-ТС-БРО-РМ-2-120
Напряжение
питания
Выходная
мощность
Потребляемая
мощность
в дежурном
режиме
АКБ
(емкость)
Время работы от
встраиваемого аккумулятора Диапазон
частот
Особенности
модификации
Количество
зон
оповещениядежурный
режим
режим
оповещения
220 В, 50 Гц 40 В 5 В•А 3,2 А•ч 40 часов 32 часа 22-22 000 Гц Трансляция
музыки; РИП 4
Напряжение
питания
Напряжение
питания от
резервного
источника
Выход
мощностью
Время работы от
встраиваемого аккумулятора Диапазон
частот
Особенности
модификации
Количество
зон
оповещениядежурный
режим
режим
оповещения
220 В, 50 Гц 24 В 2 х 120 Вт 100 В 24 часа 3 часа 5-16 000 Гц
Трансляция
музыки;
РИП; плеер
2
Блок речевого оповещения с высоковольтным выходом,
РИП и возможностью трансляции музыки
40
Блоки расширения предназначены для работы в составе системы ре-
чевого оповещения АРИЯ в качестве усилителей мощности аудиосигнала,
поступающего от блоков речевого оповещения, и служат для увеличения
количества подключаемых речевых оповещателей. Обеспечивают световую
индикацию наличия напряжения питания, возникновения неисправности,
включения режима оповещения.
Изделия имеют защиту от переполюсовки питания посредством предо-
хранителя, а также электронную самовосстанавливающуюся защиту от пе-
регрузки и КЗ в нагрузке. Модификации Р и РМ, оснащенные резервными
источниками питания, обеспечивают контроль наличия и защиту от переза-
ряда и глубокого разряда АКБ.
АРИЯ
блоки расширения
Напряжение
питания
Выходная
мощность
Потребляемая
мощность
в дежурном режиме
АКБ
(емкость)
Время работы от
встраиваемого аккумулятора Диапазон
частот
Особенности
модификациидежурный
режим
режим
оповещения
220 В, 50 Гц 40 В 3 В•А 7 А•ч 200 часов 6 часов 5-25 000 Гц РИП
Напряжение питания Выходная
мощность
Ток потребления
в дежурном режиме
Диапазон
частот
Особенности
модификации
12 В 40 Вт 0,05 А 5-25 000 Гц Трансляция
музыки
АРИЯ-БР-М
Блок расширения с возможностью трансляции
музыки
- Контроль линии оповещения
- Подключение до 48 пассивных речевых оповещателей
АРИЯ-БР-Р
Блок расширения с РИП
- Контроль линий оповещения и питания
- Подключение до 48 пассивных речевых оповещателей
omelta.com
41
АРИЯ-БР-РМ
- Контроль линии оповещения и питания
- Подключение до 48 пассивных речевых оповещателей
Блок расширения с РИП и возможностью трансляции
музыки
Блок расширения с высоковольтным выходом,
с РИП
АРИЯ-ТС-БР-РМ-120
- Контроль линий оповещения и питания
Напряжение
питания
Выходная
мощность
Потребляемая
мощность в
дежурном режиме
АКБ
(емкость)
Время работы от
встраиваемого аккумулятора Диапазон
частот
Особенности
модификациидежурный
режим
режим
оповещения
220 В, 50 Гц 40 В 7 В•А 7А•ч 200 часов 6 часов 5-25 000 Гц Трансляция
музыки; РИП
АРИЯ-ТС-БР-РМ-2-120
- Контроль линий оповещения и питания
Напряжение
питания
Напряжение
питания от
резервного
источника
Выход
мощностью
Время работы от
встраиваемого аккумулятора
Диапазон
частот
Особенности
модификации
Количество
зон
оповещениядежурный
режим
режим
оповещения
220 В, 50 Гц 24 В 120 Вт 100 В 24 часа 3 часа 5-16 000 Гц Трансляция
музыки; РИП 1
Напряжение
питания
Напряжение
питания от
резервного
источника
Выход
мощностью
Время работы от
встраиваемого аккумулятора Диапазон
частот
Особенности
модификации
Количество
зон
оповещениядежурный
режим
режим
оповещения
220 В, 50 Гц 24 В 2 х 120 Вт 100 В 24 часа 3 часа 5-16 000 Гц Трансляция
музыки; РИП 2
речевое оповещение
Двухзональный блок расширения с высоковольтным
выходом, с РИП
42
АРИЯ
речевые оповещатели
omelta.com
Речевые оповещатели АРИЯ предназначены для воспроизведения сиг-
налов ГО и ЧС, речевых сообщений и фоновой музыки. Оповещатели под-
разделяются на активные, пассивные и трансформаторные. Выпускаются
как в настенном, так и в потолочном исполнении. Пассивные речевые опо-
вещатели подключаются к линии оповещения. Активные речевые опове-
щатели подключаются непосредственно к линии управления, что позволяет
передавать сообщения на большие расстояния практически без потерь. В
ближайшее время планируется выпуск оповещателей для подключения к
трансляционной линии напряжением 100 В.
настенное
исполнение
Широкий диапазон
воспроизводимых частот
Отсутствие искажений
при передаче звука
на большие расстояния
установка в любых типах
зданий и сооружений
Высокий уровень
звукового давления
АРИЯ-10
АРИЯ-10-АС
потолочное
исполнение
АРИЯ-10П
АРИЯ-10-АСП
Модификации Номинальная
мощность
Ток потребления
в дежурном
режиме
Уровень
звукового
давления
Диапазон
частот
Входное
сопротивление
Тип
оповещателя Исполнение
АРИЯ-10 3/ 5/ 10 Вт
__
95 дБ 5-26 000 Гц 8 Ом пассивный настенное
АРИЯ-10-АС 3 Вт 50 мА 87 дБ 120-26 000 Гц
__
активный настенное
АРИЯ-10П 3/ 5/ 10 Вт
__
95 дБ 5-26 000 Гц 8 Ом пассивный потолочное
АРИЯ-10-АСП 3 Вт 50 мА 87 дБ 120-26 000 Гц
__
активный потолочное
43
речевое оповещение
АРИЯ
моноблок
Речевые оповещатели АРИЯ-БРО-АС предназначены для формирова-
ния и воспроизведения речевых сообщений о возникновении опасности
и инструкций по эвакуации на объектах, оснащенных охранно-пожарной
сигнализацией. Конструктивно изделие выполнено в виде одного функцио-
нально законченного блока, совмещающего в себе функции блока рече-
вого оповещения и активного речевого оповещателя.
При изготовлении в энергонезависимую память изделия записаны 2
речевых сообщения. Выбор сообщения осуществляется при помощи
перемычек. Изделие не имеет внешних органов управления. Запуск выб-
ранного сообщения осуществляется дистанционно путем подачи напря-
жения питания на клеммы «+12В» и «ОБЩ». Воспроизведение речевого со-
общения происходит циклически и продолжается до момента отключения
питания.
Напряжение
питания
Ток
потребления
в дежурном
режиме
Выходная
мощность
Уровень
звукового
давления
Диапазон
частот
Количество
речевых
сообщений
Суммарная
продолжительность
речевых сообщений
Исполнение
12 В 0,4 А 3 Вт 87 дБ 120-16 000 Гц 2 100 сек настенное
Возможность самостоятельной
записи сообщений
при помощи программатора
Подключение до 50 активных
речевых оповещателей
Оптимальное решение
для небольших торговых точек:
бутиков, павильонов
АРИЯ-БРО-АС
Блок речевого оповещения и активный
речевой оповещатель в одном корпусе
50
44
omelta.com
АРИЯ
дополнительные устройства
ПРОГРАММАТОР
- Предназначен для самостоятельной записи рече-
вых сообщений в системе речевого оповещения
АРИЯ с помощью персонального компьютера.
МИКРОФОН МК-12
- Предназначен для трансляции и записи рече-
вых сообщений в системе речевого оповещения
АРИЯ.
- Совместим со всеми модификациями блоков
речевого оповещения АРИЯ.
Напряжение
питания
Ток потребления,
не более Диапазон частот Чувствительность Особенности
модификации
12 В 15 мА 30-16 000 Гц -58 дБ
- линейный вход для
внешнего плеера
- Предназначена для трансляции и записи рече-
вых сообщений, трансляции сигналов ГО и ЧС или
фоновой музыки в системе речевого оповещения
АРИЯ.
- Совместима со всеми модификациями бло-
ков речевого оповещения АРИЯ.
Напряжение
питания
Ток
потребления,
не более
Диапазон
частот Чувствительность
Количество
зон
оповещения
Особенности
модификации
12 В 50 мА 30-16 000 Гц -58 дБ 4
- линейный вход для
внешнего плеера
- линейный вход для
ГО и ЧС
МИКРОФОННАЯ ПАНЕЛЬ АРИЯ-МКП-4
45
речевое оповещение
а). При подключении к приемно-контрольному прибору,
имеющему выход для управления оповещением
типа «нормально разомкнутые контакты».
Схема подключения
блока речевого оповещения АРИЯ-БРО-М
-
+
+12
+
+
-
- -
12
- +
R
-10
( -10 )
+
-
+12
+
50
+
-
+12
+
- -
1
+
-
+12
+
2
« »
- - - -
-10
( -10 )
-10
( -10 )
-10
( -10 )
1+
2+
- +
12 100
-
46
б). При подключении к приемно-контрольному прибору,
имеющему выход для управления оповещением
типа «открытый коллектор».
-
+
+12
+
+
-
- -
12
- +
R
-10
( -10 )
+
-
+12
+
50
+
-
+12
+
- -
1
+
-
+12
+
2
-C
+12
« »
- - - -
-10
( -10 )
-10
( -10 )
-10
( -10 )
1+
2+
- +
12 100
-
omelta.com
47
речевое оповещение
Схема подключения
блоков речевого оповещения АРИЯ-БРО-Р, АРИЯ-БРО-РМ
-
+
+
+
-
- -
( - - )
R
-10
( -10 )
+
-+
50
+
-+- -
1
+
-+
2
« »
- - - -
-10
( -10 )
-10
( -10 )
-10
( -10 )
1+
2+
- +
12 100
-
220 , 50~
220~
220~
220~
220~
220~
220~
220~
220~
а). При подключении к приемно-контрольному прибору,
имеющему выход для управления оповещением
типа «нормально разомкнутые контакты».
48
б). При подключении к приемно-контрольному прибору,
имеющему выход для управления оповещением
типа «открытый коллектор».
-
+
+
+
- -
( - - )
R
-10
( -10 )
+
-+
50
+
-+
- -
1
+
-+
2
-C
+12
« »
- - - -
-10
( -10 )
-10
( -10 )
-10
( -10 )
1+
2+
- +
12 100
-
220~
220~
220~
220~
220~
220~
220~
220~
220 , 50~
omelta.com
49
Схема подключения
блоков речевого оповещения АРИЯ-БРО-М-МИНИ
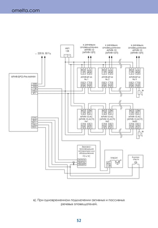
а). При одновременном подключении активных и пассивных
речевых оповещателей.
+12
+12
+12
+12
+12
-10-
( -10- )
1
+12
+12
+
+
-
+12
+
+
-
+12
+
- -
1
+
-
-10
( -10 )
-10
( -10 )
-10
( -10 )
- -
2
- -
X
-10-
( -10- )
2
-10-
( -10- )
50
12
+ -
+
+12
- - -
1+
2+
« »
-
-
+12
речевое оповещение
50
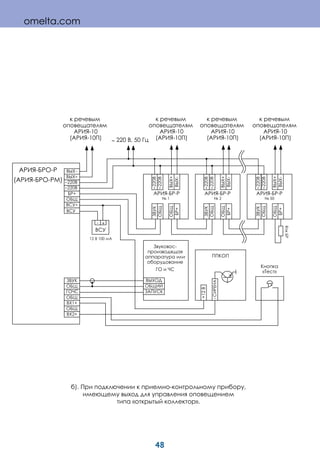
б). При подключении к приемно-контрольному прибору, имеющему выход
для управления оповещением типа «открытый коллектор».
в). При подключении к приемно-контрольному прибору, имеющему выход
для управления оповещением типа «нормально разомкнутые контакты».
+
+12
- - -
1+
2+
« »
+12
50
-10-
( -10- )
+12
R
+12
2
-10-
( -10- )
+12
+12
1
-10-
( -10- )
+12
+-
12
-
+
+12
- - -
1+
2+
« »
+12
50
-10-
( -10- )
+12
+12
2
-10-
( -10- )
+12
+12
1
-10-
( -10- )
+12
+-
12
-
-
+12
omelta.com
51
а). При подключении к приемно-контрольному прибору имеющему, выход
для управления оповещением типа «открытый коллектор».
Схема подключения
блоков речевого оповещения АРИЯ-БРО-РМ-МИНИ
б). При подключении к приемно-контрольному прибору, имеющему выход для
управления оповещением типа «нормально разомкнутые контакты».
« »
+12
50
-10-
( -10- )
+12
+12
2
-10-
( -10- )
+12
+12
1
-10-
( -10- )
+12
-
-
+12
+-
12
+
+12
- - -
1+
2+
220~
220~
220 , 50~
« »
+12
50
-10-
( -10- )
+12
R
+12
2
-10-
( -10- )
+12
+12
1
-10-
( -10- )
+12
+-
12
-
+
+12
- - -
1+
2+
220~
220~
220 , 50~
речевое оповещение
52
в). При одновременном подключении активных и пассивных
речевых оповещателей.
+12
+12
R
+12
+12
+12
-10-
( -10- )
1
+12
+12
+
+
-
+12
+
+
-
+12
+
- -
1
+
-
-10
( -10 )
-10
( -10 )
-10
( -10 )
- -
2
- -
X
-10-
( -10- )
2
-10-
( -10- )
50
12
+-
+
+12
- - -
1+
2+
« »
-
-
+12
220
~
220
~
220 , 50~
R
omelta.com
53
речевое оповещение
б). Схема для двух
направлений
линии управления.
Номинал оконечного
резистора
Rок БР =10 кОм ±5 %.
Схемы подключения
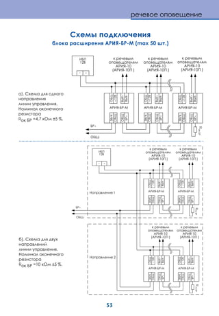
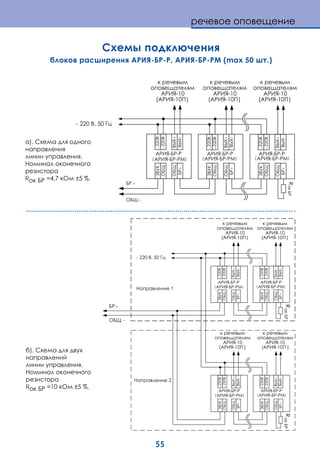
блока расширения АРИЯ-БР-М (max 50 шт.)
а). Схема для одного
направления
линии управления.
Номинал оконечного
резистора
Rок БР =4,7 кОм ±5 %.
+
+
-
+12
+
- -
-
+
-
12
R
+
-
+12
+
- -
+
-
+12
+
- -
-10
( -10 )
-10
( -10 )
R
-10
( -10 )
-10
( -10 )
+
-
+12
+
- -
+
-
+12
+
- -
R
+
-
+12
+
- -
+
-
+12
+
- -
+-
12
2
1
+
-
-10
( -10 )
-10
( -10 )
-10
( -10 )
54
omelta.com
в). Схема для трех направлений линии управления.
Номинал оконечного резистора Rок БР = 15 кОм ±5 %.
+
-
R
-10
( -10 )
+
-
+12
+
- -
+
-
+12
+
- -
R
+
-
+12
+
- -
+
-
+12
+
- - R
+
-
+12
+
- -
+
-
+12
+
- -
3
+-
12
2
1
-10
( -10 )
-10
( -10 )
-10
( -10 )
-10
( -10 )
-10
( -10 )
55
б). Схема для двух
направлений
линии управления.
Номинал оконечного
резистора
Rок БР =10 кОм ±5 %.
Схемы подключения
блоков расширения АРИЯ-БР-Р, АРИЯ-БР-РМ (max 50 шт.)
а). Схема для одного
направления
линии управления.
Номинал оконечного
резистора
Rок БР =4,7 кОм ±5 %.
+
-+
- -
+
-
-10
( -10 )
-10
( -10 )
+
-+
+
-+
-10
( -10 )
- - - -
220~
220~
220~
220~
220~
220~
220 , 50~
- -( ) - -( ) - -( )
-10
( -10 )
-10
( -10 )
+
-+
- -
+
-+
- -
-10
( -10 )
-10
( -10 )
+
-+
+
-+
2
1
+
-
220~
220~
220~
220~
220~
220~
220~
220~
220 , 50~
- -( ) - -( )
- -- -
- -( ) - -( )
речевое оповещение
56
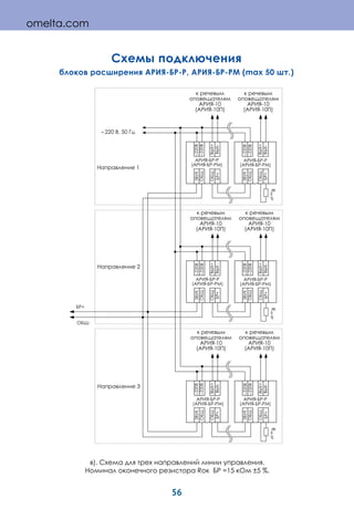
в). Схема для трех направлений линии управления.
Номинал оконечного резистора Rок БР =15 кОм ±5 %.
Схемы подключения
блоков расширения АРИЯ-БР-Р, АРИЯ-БР-РМ (max 50 шт.)
omelta.com
57
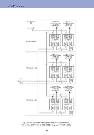
а). Схема для 1, 2, 3 и 4-х оповещателей.
Номинал оконечного резистора Rок АС = 4,7 кОм ± 5%.
б). Схема для 4, 6, 8, 10 и 12-ти оповещателей.
Номинал оконечного резистора Rок АС =2,4 кОм ± 5%.
Схемы подключения
речевых оповещателей АРИЯ-10 и АРИЯ-10П к блокам речевого оповещения
АРИЯ-БРО-М, АРИЯ-БРО-Р, АРИЯ-БРО-РМ
и блокам расширения АРИЯ-БР-М, АРИЯ-БР-Р, АРИЯ-БР-РМ
+
-
21 43
+-
21 43
+-
21 43
+-
+
-
21 43
+-
21 43
+-
21 43
+-
21 43
+-
21 43
+-
21 43
+-
речевое оповещение
58
в). Схема для 9, 12, 15, 18, 21, 24 и
27-ми оповещателей.
Номинал оконечного резистора
Rок АС =1,5 кОм ± 5%.
г). Схема для 16, 20, 24, 28, 32, 36, 40, 44 и
48-ми оповещателей.
Номинал оконечного резистора
Rок АС =1,2 кОм ± 5%.
21 43
+-
21 43
+-
21 43
+-
21 43
+-
21 43
+-
21 43
+-
1 43
+-
2 21 43
+-
21 43
+-
+
-
21 43
+-
21 43
+-
21 43
+-
21 43
+-
21 43
+-
21 43
+-
21 43
+-
21 43
+-
21 43
+-
21 43
+-
21 43
+-
21 43
+-
+
-
omelta.com
59
+12
50
-10-
( -10- )
+12
+12
2
-10-
( -10- )
+12
+12
1
-10-
( -10- )
+12
+
-
+ -
12
а). Схема для одного
направления линии
управления.
Номинал оконечного
резистора
Rок БР =4,7 кОм ±5 %.
Схемы подключения
активных речевых оповещателей АРИЯ-10-АС и АРИЯ-10-АСП к блокам речевого
оповещения АРИЯ-БРО-М-МИНИ, АРИЯ-БРО-РМ-МИНИ, АРИЯ-БРО-РМ-МИНИ-2,
АРИЯ-АС-БРО-М-4, АРИЯ-АС-БРО-РМ-4
+12
X
-10-
( -10- )
+12
+12
2
-10-
( -10- )
+12
+12
1
-10-
( -10- )
+12
+
-
+ -
12
+12
50
-10-
( -10- )
+12
+12
Z
-10-
( -10- )
+12
+12
Y
-10-
( -10- )
+12
б). Схема для двух
направлений линии
управления.
Номинал оконечного
резистора
Rок БР =4,7 кОм ±5 %.
речевое оповещение
60
СВЕТОУКАЗАТЕЛИ
в). Для трех направлений линии управления.
Номинал оконечного резистора Rок БР =15 кОм ±5 %.
+12
-10-
( -10- )
+12
+12
2
-10-
( -10- )
+12
+12
1
-10-
( -10- )
+12
+
-
+ -
12
+12
M
-10-
( -10- )
+12
+12
Z
-10-
( -10- )
+12
+12
Y
-10-
( -10- )
+12
+12
50
-10-
( -10- )
+12
+12
S
-10-
( -10- )
+12
+12
N
-10-
( -10- )
+12
omelta.com
61
12
12 -12
Схема подключения микрофона МК-12
Схемы подключения
моноблока АРИЯ-БРО-АС
а). С максимальным приоритетом
б). С минимальным приоритетом
J1
J2 J1
J2
-12
речевое оповещение
62
12
- -4
2
3
1
1
2
+-
12
3
4
4
-
2
3
1
1
2
3
4
4
Схема подключения
микрофонной панели АРИЯ-МКП-4
Установочные размеры, в мм
АРИЯ-БРО-Р
АРИЯ-БРО-РМ
АРИЯ-АС-БРО-М-4
АРИЯ-АС-БРО-РМ-4
АРИЯ-БР-Р
АРИЯ-БР-РМ
АРИЯ-БРО-М-МИНИ
АРИЯ-БРО-РМ-МИНИ
АРИЯ-БРО-М-МИНИ2
АРИЯ-БРО-РМ-МИНИ-2
АРИЯ-БР-М
АРИЯ-БРО-М
50120
170
245
4
3 отв.
30
27
4
3 отв.
150
60
110
22
13
45
16
omelta.com
63
АРИЯ-10П
АРИЯ-10-АСП
85
160
97
120
200
АРИЯ-10
АРИЯ-10-АС
АРИЯ-БРО-АС
138
4
4 отв.
65
Установочные размеры, в мм
430
485
465
6
31
43250
R3
АРИЯ-ТС-БРО-РМ-120
АРИЯ-ТС-БРО-РМ-2-120
АРИЯ-ТС-БР-РМ-120
АРИЯ-ТС-БР-РМ-2-120
речевое оповещение
ИСТОЧНИКИ ПИТАНИЯ
65
ИБИС
источники питания
ИБИС – серия современных импульсных источников питания, обеспечи-
вающих стабилизированным напряжением постоянного тока электронные
устройства систем охранно-пожарной сигнализации, видеонаблюдения,
телеком­муни­ка­ци­онного оборудования и других потребителей.
В соответствии с требованиями ГОСТ Р 53325-2012 предусмотрены: ин-
дикация наличия напряжения питания (в пределах нормы) на основном и
резервном источниках электроснабжения; автоматическая защита АКБ от
глубокого разряда, перезаряда и неправильного подключения; электронная
самовосстанавливающаяся защита от превышения нагрузки и короткого за-
мыкания на выходе; выдача сигнала о неисправности во внешние цепи.
ТУ 4372-022-49518441-12, гарантия 3 года.
СОВРЕМЕННЫЕ ИМПУЛЬСНЫЕ ИСТОЧНИКИ ПИТАНИЯ
источники питания
Широкий диапазон
входных напряжений
Выдача сигнала о неисправности
во внешние цепи
Автоматическая защита АКБ
от глубокого разряда, перезаряда,
неправильного подключения
Модификации
Напряжение
питания
Выходной
ток
Потребляемая
мощность
Емкость
встраиваемого
аккумулятора
Степень
защиты
оболочки
Вид
климатического
исполнения
Особенности
модификации
ИБИС-1203 90...264 В 0,3 А 7 В•А 0,8 А•ч IP 40 УХЛ 4
ИБИС-1230 90...264 В 3 А 60 В•А 7 А•ч IP 40 УХЛ 4
ИБИС-1250 90...264 В 5 А 83 В•А 7 А•ч IP 40 УХЛ 4
ИБИС-1250
исп.1
90...264 В 5 А 83 В•А 7 А•ч IP 40 УХЛ 4
Кабельный вывод для
подключения одной
дополнительной АКБ
ИБИС-1250
исп.2
90...264 В 5 А 83 В•А 7 А•ч IP 40 УХЛ 4
Кабельный вывод для
подключения двух
дополнительных АКБ
66
-+
- 12
+ 12
220
220
-
+
-1230
-1250
~
~
R
- 12
+ 12
220
220
-
+
-1230
-1250
~
~
а). При подключении
к выносному сигнальному устройству
б). При подключении
к приемно-контрольному прибору
Схемы подключения
источников питания ИБИС-1230, ИБИС-1250
+
-
+
-
а). При подключении
к выносному сигнальному устройству
Схемы подключения
источников питания ИБИС-1203,
-+
12 30
- 12
+ 12
220
220
-
+
-1203
~
~
~ 220 В, 50 Гц
R
- 12
+ 12
220
220
-
+
-1203
~
~
~ 220 В, 50 Гц
б). При подключении
к приемно-контрольному прибору
+
-
+
-
omelta.com
67
Схемы подключения
источников питания ИБИС-1250 исп. 1, ИБИС-1250 исп. 2
-+
- 12
+ 12
220
220
-
+
-1250 .1
-1250 .2
~
~
.
1
.
2
+
-
+
-
-1250
*
+
-
- 12
+ 12
220
220
-
+
-1250 .1
-1250 .2
~
~
.
1
.
2
+
-
+
-
-1250
*
+
-
R
а). При подключении
к выносному сигнальному устройству
б). При подключении
к приемно-контрольному прибору
ИБИС-1230
ИБИС-1250
ИБИС-1250 исп.1
ИБИС-1250 исп.2
Установочные размеры, в мм
ИБИС-1203
170
245
4
3 отв.
3045
16
50120
27
4
3 отв.
150
60
110
22
13
источники питания
АВАРИЙНОЕ ОСВЕЩЕНИЕ
АВАРИЙНОЕ ОСВЕЩЕНИЕ
69
ЛУЧ
светильники аварийного освещения
Светильники ЛУЧ-С предназначены для установки в системах аварий-
ного освещения. Корпус светильников выполнен из ударопрочного поли-
карбоната. В качестве источника света в них используются сверхяркие све-
тодиоды с ресурсом работы до 100 000 часов.
Изделия серий ЛУЧ и ЛУЧ-К обладают возможностью регулировки нап-
равления светового потока в горизонтальной и вертикальной плоскостях.
ЯРКОСТЬ, ЭКОНОМИЧНОСТЬ, НАДЕЖНОСТЬ
Гарантия
5 лет
5
Ударопрочный корпус,
антикражные заглушки
Модификации Напряжение
питания
Потребляемая
мощность
Количество
источников
света
Световой
поток
Степень
защиты
оболочки
Диапазон
рабочих
температур
Вид
климатического
исполнения
ЛУЧ-12-С 34 12 В 3 Вт 6 460 Лм IP 56 -40...+55°С УХЛ 1
ЛУЧ-24-С 34 24 В 3 Вт 6 460 Лм IP 56 -40...+55°С УХЛ 1
ЛУЧ-12-С 64 12 В 6 Вт 15 800 Лм IP 56 -40...+55°С УХЛ 1
ЛУЧ-24-С 64 24 В 6 Вт 15 800 Лм IP 56 -40...+55°С УХЛ 1
ЛУЧ-220-С 34 220 В 3 Вт 6 460 Лм IP 54 -40...+55°С УХЛ 2
ЛУЧ-220-С 64 220 В 6 Вт 15 800 Лм IP 54 -40...+55°С УХЛ 2
Возможность регулировки
направления светового потока
Модификации Напряжение
питания
Ток
потребления
Потребляемая
мощность
Количество
источников
света
Угол
раскрыва
Степень
защиты
оболочки
Диапазон
рабочих
температур
Вид
климатического
исполнения
ЛУЧ-12-К 6/30 12 В 40 мА __ 6 30° IP 55 -30...+55°С УХЛ 2
ЛУЧ-24-К 6/30 24 В 40 мА __ 6 30° IP 55 -30...+55°С УХЛ 2
ЛУЧ-220-К 6/30 220 В __ 5 В•А 6 30° IP 50 -30...+55°С УХЛ 3
ЛУЧ-220-КР 6/30 220 В __ 5 В•А 6 30° IP 50 -10...+55°С УХЛ 3
ЛУЧ-С
ЛУЧ-К
РИП, 4 часа автономной
работы (ЛУЧ-220-КР)
аварийное освещение
70
Схемы подключения
+
-
12 В (24В)
синий
коричневый
ЛУЧ-12-С 34, ЛУЧ-24-С 34
ЛУЧ-12-С 64, ЛУЧ-24-С 64
~ 220 В, 50 Гц
ЛУЧ-220-С 34, ЛУЧ-220-С 64
ЛУЧ-12-К 6/30, ЛУЧ-24-К 6/30
.
1
2
+
-
+
-
12 В (24В)
ЛУЧ-220-К 6/30, ЛУЧ-220-КР 6/30
.
1
2
~ 220 В, 50 Гц
omelta.com
Модификации Напряжение
питания
Ток
потребления
Количество
источников
света
Угол
раскрыва
Степень
защиты
оболочки
Диапазон
рабочих
температур
Вид
климатического
исполнения
ЛУЧ-12 3/30 12 В 20 мА 3 30° IP 55 -30...+55°С УХЛ 3
ЛУЧ-24 3/30 24 В 20 мА 3 30° IP 55 -30...+55°С УХЛ 3
ЛУЧ-12 6/120 12 В 40 мА 6 120° IP 55 -30...+55°С УХЛ 3
ЛУЧ-24 6/120 24 В 40 мА 6 120° IP 55 -30...+55°С УХЛ 3
ЛУЧ-12 3/30/М 12 В 20 мА 3 30° IP 55 -30...+55°С УХЛ 3
ЛУЧ-24 3/30/М 24 В 20 мА 3 30° IP 55 -30...+55°С УХЛ3
ЛУЧ-12 6/120/М 12 В 40 мА 6 120° IP 55 -30...+55°С УХЛ 3
ЛУЧ-24 6/120/М 24 В 40 мА 6 120° IP 55 -30...+55°С УХЛ3
ЛУЧ
Возможность
регулировки направления
светового потока
71
Установочные размеры
4,8
2 отв.
150
122
50
ЛУЧ-12-С 34, ЛУЧ-24-С 34
ЛУЧ-220-С 34
ЛУЧ-12-С 64, ЛУЧ-24-С 64
ЛУЧ-220-С 64
60
ЛУЧ-12-К 6/30
ЛУЧ-24-К 6/30
ЛУЧ-220-К 6/30
ЛУЧ-220-КР 6/30
133
R2
79
ЛУЧ-12 3/30, ЛУЧ-24 3/3
ЛУЧ-12 6/120, ЛУЧ-24 6/120
56
64
4
2 отв.
ЛУЧ-12 3/30/М, ЛУЧ-24 3/30/М
ЛУЧ-12 6/120/М, ЛУЧ-24 6/120/М
4
30
65
аварийное освещение
ЛУЧ-12 3/30, ЛУЧ-24 3/30
ЛУЧ-12 3/30/М, ЛУЧ-24 3/30/М
ЛУЧ-12 6/120, ЛУЧ-24 6/120
ЛУЧ-12 6/120/М, ЛУЧ-24 6/120/М
+
-
12 В (24В)
белый
цветной
72
СИЯНИЕ
система динамического светового оповещения
Система динамического светового оповещения СИЯНИЕ способствует
быстрой и безопасной эвакуации людей благодаря наглядной динамичес-
кой индикации направления движения по всему пути эвакуации. Систе-
ма предусматривает возможность оперативного изменения направления
эвакуации. Бесперебойная работа системы оповещения СИЯНИЕ гаран-
тируется двойным резервированием питающего напряжения.
ТУ 4371-024-49518441-07, гарантия 3 года.
omelta.com
ДОРОЖКА
Наглядная динамическая индикация
направления движения по всему пути
эвакуации
Модификации Напряжение
питания
Ток
потребления
Степень
защиты
оболочки
Диапазон
рабочих
температур
Вид
климатического
исполнения
Особенности
модификации
ДОРОЖКА ББ 12 В 40 мА IP 54 -30...+55°С УХЛ 4 2 модуля без резерва
ДОРОЖКА БР 12 В 50 мА IP 54 -10...+55°С УХЛ 3
1 модуль без резерва
1 модуль с резервом
ДОРОЖКА РР 12 В 60 мА IP 54 -10...+55°С УХЛ 3 2 модуля с резервом
БИС
блок индикации состояния
Модификация Напряжение
питания
Ток
потребления
Степень
защиты
оболочки
Вид
климатического
исполнения
БИС 12 В 40 мА IP 54 УХЛ 3
ДИНАМИЧЕСКОЕ СВЕТОВОЕ ОПОВЕЩЕНИЕ
73
Схема подключения
оповещателей ДОРОЖКА ББ, ДОРОЖКА БР, ДОРОЖКА РР
6 5 4 3 2 1
к БИС
Схема подключения
блока индикации БИС
6
5
4
3
2
1
6
5
4
3
2
1
+12
.1
.2
+12
- 12
аварийное освещение
74
контроль и ЗАЩИТА
75
ВЕКТОР
ВЕКТОР – бюджетная линейка оборудования для использования в систе-
мах контроля и управления доступом. Система ВЕКТОР прекрасно под-
ходит для установки в офисных помещениях, банках, административных
зданиях, магазинах, на производственных предприятиях и т. д.
ВЕКТОР-100-СКМ, ВЕКТОР-100-СКС – считыватели с динамическим мат-
ричным или двухцветным светодиодным индикатором и контроллером,
предназначенные для считывания идентификационного кода Proximity карт
и управления блокирующими устройствами.
ВЕКТОР-М, ВЕКТОР-С – индикаторы с динамическим матричным или
двухцветным светодиодным дисплеем, предназначенные для работы сов-
местно с изделиями ВЕКТОР-100-СКМ, ВЕКТОР-100-СКС.
ТУ 4372-030-49518441-08, гарантия 3 года.
ОБОРУДОВАНИЕ ДЛЯ СИСТЕМЫ КОНТРОЛЯ
И УПРАВЛЕНИЯ ДОСТУПОМ
контроль доступа
Модификации Напряжение
питания
Ток
потребления
Степень
защиты
оболочки
Вид
климатического
исполнения
Характеристики
модификаций
ВЕКТОР-100-СКМ 12 В 250 мА IP 55 УХЛ 1
СЧИТЫВАТЕЛЬ с динамическим
индикатором и контроллером;
100 ключей, карты Em-Marine
ВЕКТОР-М 5 В 150 мА IP 55 УХЛ 1 ИНДИКАТОР динамический
ВЕКТОР-100-СКС 12 В 50 мА IP 55 УХЛ 1
СЧИТЫВАТЕЛЬ со светодиодным
индикатором и контроллером;
100 ключей, карты Em-Marine
ВЕКТОР-С 5 В 25 мА IP 55 УХЛ 1 ИНДИКАТОР светодиодный
ВЕКТОР-100-СКМ
ВЕКТОР-М
ВЕКТОР-100-СКС
ВЕКТОР-С
76
12
+ -
12
+
-
( -
12 , 100
-+
5...30
- +
5...30
-100-
-100-
« »
-
+ -
12
12
- +
12
-100-
-100-
« »
+
-
( - )
12 , 100-
а). При использовании исполнительного устройства с напряжением питания от 5 до 30 В
б). При использовании исполнительного устройства с напряжением питания 12 В
Схемы подключения
считывателей ВЕКТОР-100-СКМ, ВЕКТОР-100-СКС
Установочные размеры, в мм
4
4 отв.
162
23
50
30
18
144
ВЕКТОР-100-СКС
ВЕКТОР-100-СКМ
ВЕКТОР-С
ВЕКТОР-М
(
omelta.com
77
защита дома и офиса
ДО-ЗВОН
Автоматический телефонный информатор ДО-ЗВОН предназначен для
использования в системах охранно-пожарной сигнализации в качестве
устройства передачи тревожных сообщений по телефонной линии при сра-
батывании сигнализации. Изделие работает совместно с приёмно-контроль-
ными приборами, извещателями и датчиками, имеющими нормально-зам-
кнутые или нормально-разомкнутые контакты. Предусмотрена возможность
импульсного и тонального набора номера.
ТУ 4371-030-49518441-08, гарантия 3 года
ДО-ЗВОН
- 6 программируемых номеров
- программирование без использования
дополнительных устройств
- 1 сообщение (до 20 секунд);
- встроенный микрофон для записи сообщений
- 2 сигнальные цепи
- импульсный и тональный набор
АВТОМАТИЧЕСКИЙ
ТЕЛЕФОННЫЙ ИНФОРМАТОР
Модификации Напряжение
питания
Ток
потребления
Степень
защиты оболочки
Вид
климатического
исполнения
ДО-ЗВОН 12 В 50 мА IP 55 УХЛ 1
Схема подключения
телефонного информатора ДО-ЗВОН
6
5
4
3
2
1
1
2
1
2
1
2
.
7
8
9
10
+
12
.
.
330
10
0,1
+5
.4
.3
«
»
2
Установочные размеры, в мм
78
4
4 отв.
112
12
136
12
28
78
omelta.com
Омский завод «Электротехника и Автоматика»
	 Адрес:	 Россия, г. Омск, 644031,
		 ул. 10 лет Октября, 221
	 Тел./факс:	 8 (3812) 35-81-50, 35-81-60, 57-85-85
	 Е-mail:	 info@omelta.com, sale@omelta.com
	 График работы: 	 понедельник – пятница: с 9-00 до 18-00
		 суббота, воскресенье: выходной
Торговый дом «Электротехника и Автоматика», Москва
	 Адрес: 	 Россия, г. Москва, 125993,
		 ул. Правды, 24, строение 4, офис 108
	 Тел./факс:	 8 (495) 228-00-97, 8-903-284-67-96
	 Е-mail: 	 info@omelta.com
	 График работы:	 понедельник – пятница: с 9-00 до 18-00
		 суббота, воскресенье: выходной
Торговый дом «Электротехника и Автоматика», Санкт-Петербург
	 Адрес:	 Россия, г. Санкт-Петербург, 190103,
		 ул. 8-я Красноармейская, 23А
	 Тел./факс:	 8 (812) 575-23-94, 493-31-45
	 Е-mail:	 spb-info@omelta.com
	 График работы:	 понедельник – четверг: с 9-00 до 18-00
		 пятница: с 9-00 до 17-00
		 суббота, воскресенье: выходной
Торговая компания «Электротехника и Автоматика», ЭКСПОРТ
	 Адрес:	 Россия, г. Омск, 644031,
		 ул. 10 лет Октября, 221
	 Тел./факс:	 8 (3812) 35-81-50, 35-81-60
	 Е-mail:	 omelta-led@mail.ru, info@omelta.com
	 График работы:	 понедельник – пятница: с 9-00 до 18-00
		 суббота, воскресенье: выходной
группа компаний «Электротехника и Автоматика»
www.omelta.com
Группа компаний «ЭЛЕКТРОТЕХНИКА И АВТОМАТИКА»
644031, Россия, г. Омск, ул. 10 лет Октября, 221
тел./факс: 8 (3812) 358-150, 358-160
e-mail: info@omelta.com

Каталог оборудования завода Электротехника и Автоматика

  • 1.
    ОБОРУДОВАНИЕ для систем охранно-пожарнойсигнализации, аварийного освещения и СКУД 2016
  • 3.
    Омский завод «ЭЛЕКТРОТЕХНИКАИ АВТОМАТИКА» - ведущий производитель оборудования для систем охранно-пожарной сигна- лизации, аварийного освещения и СКУД, работающий на россий- ском рынке безопасности более 20 лет. На сегодняшний день предприятие завоевало лидирующие позиции по производству оповещателей, светоуказателей, систем речевого оповещения и других видов продукции. Широко известны торговые марки АРИЯ, МАЯК, КРИСТАЛЛ, ЛЮКС, ЛУЧ, ИБИС, выпус- каемые на омском заводе «Электротехника и Автоматика». Собственная производственная база и сплоченная работа команды профессионалов позволяют обеспечить высокое качество выпускаемой продукции. Оборудование отличается современным дизайном, эргономичностью и надежностью. О ПРЕДПРИЯТИИ
  • 4.
    ШИРОКАЯ СЕТЬ ПАРТНЁРОВ ВРОССИИ и стРАНАХ СНГ
  • 5.
  • 6.
  • 7.
    Светоуказатели КРИСТАЛЛ.........................................................................................7 КРИСТАЛЛ-ДИН.................................................................................9 ЛЮКС...............................................................................................12 ЛЮКС КВАДРО..................................................................................16 ПРЕСТИЖ..........................................................................................19 МИНИ...............................................................................................21 МИНИ-ДИН........................................................................................22 Оповещатели Комбинированные МАЯК-К.............................................................................................25 МАЯК-КП...........................................................................................26 МАЯК-КПМ........................................................................................27 Звуковые МАЯК-ЗМ...........................................................................................28 Световые МАЯК-С.............................................................................................30 Система речевогооповещения «Ария» Блоки речевого оповещения.............................................................36 Блоки расширения...........................................................................40 Речевые оповещатели......................................................................42 Моноблок.........................................................................................43 Дополнительные устройства.............................................................44 Источники питания ИБИС................................................................................................65 Аварийное освещение ЛУЧ...................................................................................................69 СИЯНИЕ............................................................................................72 Контроль доступа ВЕКТОР..............................................................................................75 Защита дома ДО-ЗВОН...........................................................................................77 Содержание
  • 8.
  • 9.
    7 КРИСТАЛЛ Светоуказатели КРИСТАЛЛ предназначеныдля обозначения эвакуаци- онных выходов, указания путей эвакуации людей при возникновении опасно- сти. Также могут использоваться в качестве информационных табло. Обес- печивают контрастное восприятие информации при любом освещении. Кристалл – первое в России световое табло, изготовленное с применени- ем светодиодов белого свечения. ТУ 4372-002-49518441-03, гарантия 5 лет. ЛЮБЫЕ НАДПИСИ И ПИКТОГРАММЫ В КОРОТКИЕ СРОКИ Современный дизайн Равномерное распределение засветки Удобство монтажа Модификации Напряжение питания Ток потребления Потребляемая мощность Уровень звукового давления Степень защиты оболочки Вид климатического исполнения Особенности модификации КРИСТАЛЛ-12 12 В 17 мА __ __ IP 41 УХЛ 2 КРИСТАЛЛ-24 24 В 17 мА __ __ IP 41 УХЛ 2 КРИСТАЛЛ-220 220 В __ 7,5 В•А __ IP 40 УХЛ 3 КРИСТАЛЛ-12-К 12 В 67 мА __ 100 дБ IP 41 УХЛ 2 комбинированный КРИСТАЛЛ-24-К 24 В 67 мА __ 100 дБ IP 41 УХЛ 2 комбинированный КРИСТАЛЛ-12 НИ 12 В 17 мА __ __ IP 55 УХЛ 1 наружное исполнение КРИСТАЛЛ-24 НИ 24 В 17 мА __ __ IP 55 УХЛ 1 наружное исполнение КРИСТАЛЛ-12-МС 12 В 35 мА __ __ IP 41 УХЛ 2 повышенная яркость свечения КРИСТАЛЛ-24-МС 24 В 35 мА __ __ IP 41 УХЛ 2 повышенная яркость свечения светоуказатели
  • 10.
    8 КРИСТАЛЛ СН скрытая надпись КРОНШТЕЙН длянастенного крепления двустороннего светоуказателя КРИСТАЛЛ Материал: металл, порошковая покраска Модификации Напряжение питания Ток потребления Потребляемая мощность Степень защиты оболочки Вид климатического исполнения КРИСТАЛЛ-12 СН 12 В 35 мА __ IP 41 УХЛ 2 КРИСТАЛЛ-24 СН 24 В 35 мА __ IP 41 УХЛ 2 Модификации Напряжение питания Ток потребления Потребляемая мощность Степень защиты оболочки Вид климатического исполнения Особенности модификации КРИСТАЛЛ-12 Д 12 В 35 мА __ IP 41 УХЛ 2 КРИСТАЛЛ-12 Д 24 В 35 мА __ IP 41 УХЛ 2 КРИСТАЛЛ-220 Д 220 В __ 15 В•А IP 40 УХЛ 3 КРИСТАЛЛ-12-МС Д 12 В 70 мА __ IP 41 УХЛ 2 повышенная яркость свечения КРИСТАЛЛ-24-МС Д 24 В 70 мА __ IP 41 УХЛ 2 повышенная яркость свечения Надписи и пиктограммы видны только в режиме оповещения КРИСТАЛЛ Д двустороннее исполнение КОЗЫРЕК 330 х 130 для светоуказателей КРИСТАЛЛ и ЛЮКС, устанавливаемых вне помещений Материал: металл, порошковая покраска omelta.com Настенное и потолочное крепление
  • 11.
    9 КРИСТАЛЛ-ДИН Динамические светоуказатели КРИСТАЛЛ-ДИНпредназначены для ука- зания путей эвакуации людей при возникновении опасности с помощью управляемой стрелки, способной менять направление в зависимости от поданного напряжения: влево, вправо или в обе стороны одновременно. Модификации КРИСТАЛЛ-ДИН2 при оповещении работают в мигающем режиме. ТУ 4372-002-49518441-03, гарантия 3 года. ДИНАМИЧЕСКИЕ СВЕТОУКАЗАТЕЛИ Модификации Напряжение питания Ток потребления Частота мигания Степень защиты оболочки Вид климатического исполнения Особенности модификации КРИСТАЛЛ-12-ДИН1 12 В 80 мА __ IP 41 УХЛ 2 КРИСТАЛЛ-24-ДИН1 24 В 60 мА __ IP 41 УХЛ 2 КРИСТАЛЛ-12-ДИН2 12 В 80 мА 1,3 Гц IP 41 УХЛ 2 КРИСТАЛЛ-24-ДИН2 24 В 60 мА 1,3 Гц IP 41 УХЛ 2 КРИСТАЛЛ-12-ДИН1 Д 12 В 160 мА __ IP 41 УХЛ 2 двустороннее исполнение КРИСТАЛЛ-24-ДИН1 Д 24 В 120 мА __ IP 41 УХЛ 2 двустороннее исполнение КРИСТАЛЛ-12-ДИН2 Д 12 В 160 мА 1,3 Гц IP 41 УХЛ 2 двустороннее исполнение КРИСТАЛЛ-24-ДИН2 Д 24 В 160 мА 1,3 Гц IP 41 УХЛ 2 двустороннее исполнение Яркая засветка Способность менять направление стрелки Частота мигания 1,3 Гц (ДИН2) светоуказатели
  • 12.
    10 КРИСТАЛЛ-12, КРИСТАЛЛ-24 КРИСТАЛЛ-12 СН,КРИСТАЛЛ-24 СН КРИСТАЛЛ-12-МС, КРИСТАЛЛ-24-МС КРИСТАЛЛ-220 КРИСТАЛЛ-220 Д КРИСТАЛЛ-12 НИ, КРИСТАЛЛ-24 НИ КРИСТАЛЛ-12 Д, КРИСТАЛЛ-24 Д КРИСТАЛЛ-12-МС Д, КРИСТАЛЛ-24-МС Д КРИСТАЛЛ-12-К КРИСТАЛЛ-24-К Схемы подключения КРИСТАЛЛ-12-ДИН1 КРИСТАЛЛ-24-ДИН1 КРИСТАЛЛ-12-ДИН2 КРИСТАЛЛ-24-ДИН2 + - КРИСТАЛЛ-12-ДИН1 Д КРИСТАЛЛ-24-ДИН1 Д КРИСТАЛЛ-12-ДИН2 Д КРИСТАЛЛ-24-ДИН2 Д omelta.com
  • 13.
    11 Установочные размеры, вмм КРИСТАЛЛ-12, КРИСТАЛЛ-24 КРИСТАЛЛ-220 КРИСТАЛЛ-12 СН, КРИСТАЛЛ-24 СН КРИСТАЛЛ-12 НИ, КРИСТАЛЛ-24 НИ КРИСТАЛЛ-12-МС, КРИСТАЛЛ-24-МС КРИСТАЛЛ-12-ДИН1 КРИСТАЛЛ-24-ДИН1 КРИСТАЛЛ-12-ДИН2 КРИСТАЛЛ-24-ДИН2 КРИСТАЛЛ-12-К, КРИСТАЛЛ-24-К 102 302 КРИСТАЛЛ-12 Д КРИСТАЛЛ-24 Д КРИСТАЛЛ-220 Д КРИСТАЛЛ-12-МС Д КРИСТАЛЛ-24-МС Д КРИСТАЛЛ-12-ДИН1 Д КРИСТАЛЛ-24-ДИН1 Д КРИСТАЛЛ-12-ДИН2 Д КРИСТАЛЛ-24-ДИН2 Д клеммная колодка 306-021-12 клеммная колодка 306-031-12 2 клеммных колодки 306-021-12 КРОНШТЕЙН для двустороннего светоуказателя КРИСТАЛЛ 5 65 6342 40 светоуказатели
  • 14.
    12 ЛЮКС Под торговой маркойЛЮКС выпускается широкая линейка светоуказа- телей. Конструкция корпуса позволяет при необходимости менять надписи на табло. Нейтрально-белые светодиоды имеют комфортную для восприятия температуру свечения. Стабильно высокое качество продукции обеспечива- ет устойчивый спрос светоуказателей ЛЮКС среди специалистов проектных и монтажных организаций. ТУ 4372-004-49518441-04, гарантия 3 года. omelta.com ЛЮБЫЕ НАДПИСИ И ПИКТОГРАММЫ В КОРОТКИЕ СРОКИ Современный дизайн Широкая линейка модификаций Модификации Напряжение питания Ток потребления Потребляемая мощность Уровень звукового давления Степень защиты оболочки Вид климатического исполнения Особенности модификации ЛЮКС-12 12 В 20 мА __ __ IP 55 УХЛ 2 ЛЮКС-24 24 В 20 мА __ __ IP 55 УХЛ 2 ЛЮКС-220 220 В __ 6 В•А __ IP 50 УХЛ 3 ЛЮКС-220-Р 220 В __ 18 В•А __ IP 50 УХЛ 4 с РИП, 4 часа автономной работы ЛЮКС-12 НИ 12 В 20 мА __ __ IP 55 УХЛ 1 наружное исполнение ЛЮКС-24 НИ 24 В 20 мА __ __ IP 55 УХЛ 1 наружное исполнение ЛЮКС-220 НИ 220 В __ 6 В•А __ IP 66 УХЛ 1 наружное исполнение ЛЮКС-12-К 12 В 40 мА __ 100 дБ IP 55 УХЛ 2 комбинированный ЛЮКС-24-К 24 В 40 мА __ 100 дБ IP 55 УХЛ 2 комбинированный ЛЮКС-220-К 220 В __ 17 В•А 100 дБ IP 50 УХЛ 3 комбинированный ЛЮКС-12 МС 12 В 40 мА __ __ IP 55 УХЛ 2 повышенная яркость свечения ЛЮКС-24 МС 24 В 40 мА __ __ IP 55 УХЛ 2 повышенная яркость свечения
  • 15.
    13 omelta.comсветоуказатели ЛЮКС СН скрытая надпись МодификацииНапряжение питания Ток потребления Потребляемая мощность Степень защиты оболочки Вид климатического исполнения ЛЮКС-12 СН 12 В 80 мА __ IP 55 УХЛ 2 ЛЮКС-24 СН 24 В 80 мА __ IP 55 УХЛ 2 Модификации Напряжение питания Ток потребления Потребляемая мощность Степень защиты оболочки Вид климатического исполнения Особенности модификации ЛЮКС-12 Д 12 В 40 мА __ IP 55 УХЛ 2 ЛЮКС-24 Д 24 В 40 мА __ IP 55 УХЛ 2 ЛЮКС-220 Д 220 В __ 12 В•А IP 50 УХЛ 3 ЛЮКС-220-Р Д 220 В __ 36 В•А IP 50 УХЛ 4 с РИП, 4 часа автономной работы Надписи и пиктограммы видны только в режиме оповещения ЛЮКС Д двустороннее исполнение КОЗЫРЕК 330 х 130 для светоуказателей КРИСТАЛЛ и ЛЮКС, устанавливаемых вне помещений Материал: металл, порошковая покраска Настенное и потолочное крепление
  • 16.
    14 ЛЮКС-12, ЛЮКС-24 ЛЮКС-12 СН,ЛЮКС-24 СН ЛЮКС-12 МС, ЛЮКС-24 МС ЛЮКС-12 НИ, ЛЮКС-24 НИ ЛЮКС-220 НИ ЛЮКС-12 Д, ЛЮКС-24 Д ЛЮКС-220 Д ЛЮКС-220-Р Д ЛЮКС-220, ЛЮКС-220-Р ЛЮКС-12-К, ЛЮКС-24-К Схемы подключения ЛЮКС-220-К omelta.com
  • 17.
    15 Установочные размеры, вмм ЛЮКС-12 Д ЛЮКС-24 Д ЛЮКС-220 Д ЛЮКС-220-Р Д 105 170 300 КРОНШТЕЙН для двустороннего светоуказателя ЛЮКС R3 55 85 234 300 100 5 234 300 5 100 30 55 105 4 5050 ЛЮКС-12, ЛЮКС-24 ЛЮКС-220, ЛЮКС-220-Р ЛЮКС-12 СН, ЛЮКС-24 СН ЛЮКС-12 МС, ЛЮКС-24 МС ЛЮКС-12 НИ, ЛЮКС-24 НИ ЛЮКС-12-К ЛЮКС-24-К ЛЮКС-220-К ЛЮКС-220 НИ светоуказатели
  • 18.
    16 omelta.com Модификации Напряжение питания Потребляемая мощность Световой поток Степень защиты оболочки Вид климати- ческого исполнения Особенности модификации ЛЮКС КВАДРО 220В 7,2 В•А __ IP 50 УХЛ 2 __ ЛЮКС КВАДРО-С 220 В 7,2 В•А 850 Лм IP 50 УХЛ 2 Подсветка вниз ЛЮКС КВАДРО Оповещатели охранно-пожарные световые ЛЮКС КВАДРО предназначе- ны для обозначения эвакуационных выходов, указания путей эвакуции людей при возникновении опасности. Также могут быть использованы в качестве информационных табло. Модификации ЛЮКС КВАДРО-С создают направ- ленную подсветку вниз. Светоуказатели с индексом Р имеют встроенный ре- зервный источник питания (РИП). ЛЮКС КВАДРО рекомендованы к установке в местах массового пребы- вания людей: в аэропортах, на вокзалах, в крупных торговых и развлекатель- ных центрах, гостиницах и учебных заведениях. Предусмотрено настенное или потолочное крепление. СВЕТОУКАЗАТЕЛИ ДЛЯ БОЛЬШИХ ПОМЕЩЕНИЙ НОВИНКА Функция направленной подсветки вниз Нанесение любых надписей и пиктограмм настенное исполнение ЛЮКС КВАДРО ЛЮКС КВАДРО-С Модификации ЛЮКС КВАДРО-Р и ЛЮКС КВАДРО-РС с резервным источником питания (РИП) под заказ!
  • 19.
    17 светоуказатели потолочное исполнение ЛЮКС КВАДРО-СПЛЮКСКВАДРО-П Схема подключения Модификации Напряжение питания Потребляемая мощность Световой поток Степень защиты оболочки Вид климати- ческого исполнения Особенности модификации ЛЮКС КВАДРО-П 220 В 7,2 В•А __ IP 50 УХЛ 2 __ ЛЮКС КВАДРО-СП 220 В 7,2 В•А 850 Лм IP 50 УХЛ 2 Подсветка вниз Модификации ЛЮКС КВАДРО-РП и ЛЮКС КВАДРО-РСП с резервным источником питания (РИП) под заказ! ЛЮКС КВАДРО ЛЮКС КВАДРО-С ЛЮКС КВАДРО-Р ЛЮКС КВАДРО-РС ЛЮКС КВАДРО-П ЛЮКС КВАДРО-СП ЛЮКС КВАДРО-РП ЛЮКС КВАДРО-РСП
  • 20.
    18 omelta.com Установочные размеры, вмм ЛЮКС КВАДРО-П ЛЮКС КВАДРО-СП ЛЮКС КВАДРО-РП ЛЮКС КВАДРО-РСП ЛЮКС КВАДРО ЛЮКС КВАДРО-С ЛЮКС КВАДРО-Р ЛЮКС КВАДРО-РС КРОНШТЕЙН для крепления светоуказателя ЛЮКС КВАДРО-П к потолку 180 100350 350 80 100 150 70 20 8 510 350 325100 45 150
  • 21.
    19 ПРЕСТИЖ Светоуказатели серии ПРЕСТИЖимеют рамку из высококачественно- го алюминиевого профиля (цвет «серебро»), оригинальную яркую и чёт- кую засветку по контуру надписи или пиктограммы. Предназначены для обозначения эвакуационных выходов. Также могут использоваться в каче- стве информационных табло премиум-класса. Основной отличительной чертой модификаций ПРЕСТИЖ ПРЕМИУМ являются увеличенные разме- ры информационного поля. Светоуказатели ПРЕСТИЖ отлично дополнят даже самый изыскан- ный интерьер, подчеркнут статус организации. При заказе Вы можете выбрать цвет фона, гармонирующий с интерьером, подобрать любую надпись или пиктограмму. ТУ 4372-002-49518441-03, гарантия 3 года. ИНФОРМАЦИОННЫЕ ТАБЛО ПРЕМИУМ-КЛАССА светоуказатели Модификации Напряжение питания Ток потребления Степень защиты оболочки Вид климатического исполнения Габаритные размеры, особенности модификации ПРЕСТИЖ-12 12 В 40 мА IP 41 УХЛ 2 322 х 125 х 12 мм ПРЕСТИЖ-24 24 В 40 мА IP 41 УХЛ 2 322 х 125 х 12 мм ПРЕСТИЖ-12 Д 12 В 80 мА IP 41 УХЛ 2 322 х 125 х 10 мм двустороннее исполнение ПРЕСТИЖ-24 Д 24 В 80 мА IP 41 УХЛ 2 322 х 125 х 10 мм двустороннее исполнение ПРЕСТИЖ-12 ПРЕМИУМ 12 В 80 мА IP 41 УХЛ 2 500 х 250 х 10 мм ПРЕСТИЖ-24 ПРЕМИУМ 24 В 80 мА IP 41 УХЛ 2 500 х 250 х 10 мм ПРЕСТИЖ-12 ПРЕМИУМ Д 12 В 160 мА IP 41 УХЛ 2 500 х 250 х 10 мм двустороннее исполнение ПРЕСТИЖ-24 ПРЕМИУМ Д 24 В 160 мА IP 41 УХЛ 2 500 х 250 х 10 мм двустороннее исполнение Любой цвет фона Нанесение любых надписей и пиктограмм
  • 22.
    20 Установочные размеры, вмм ПРЕСТИЖ-12 ПРЕМИУМ ПРЕСТИЖ-24 ПРЕМИУМ ПРЕСТИЖ-12 ПРЕМИУМ Д ПРЕСТИЖ-24 ПРЕМИУМ Д 9250 400 500 12 7,5 9250 400 500 10 7,5 ПРЕСТИЖ-12 ПРЕСТИЖ-24 ПРЕСТИЖ-12 Д ПРЕСТИЖ-24 Д 322 510 9 147 322 260 125 10 12 10 125 ПРЕСТИЖ-12, ПРЕСТИЖ-24 ПРЕСТИЖ-12 Д, ПРЕСТИЖ-24 Д ПРЕСТИЖ-12 ПРЕМИУМ ПРЕСТИЖ-24 ПРЕМИУМ ПРЕСТИЖ-12 ПРЕМИУМ Д ПРЕСТИЖ-24 ПРЕМИУМ Д Схемы подключения omelta.com
  • 23.
    21 МИНИ Светоуказатели серии МИНИ– компактные световые табло с функцией направленной подсветки «вниз». МИНИ предназначены для указания путей эвакуации людей при возникновении опасности, обозначения местораспо- ложения и подсветки планов эвакуации, первичных средств пожаротушения, ручных пожарных извещателей, эвакуационных выходов. Кроме засветки информационного поля освещается также пространство под светоуказа- телем. При заказе Вы можете выбрать черный или белый цвет корпуса. ТУ 4372-002-49518441-03, гарантия 3 года. ИНФОРМАЦИОННЫЙ СВЕТОУКАЗАТЕЛЬ С НАПРАВЛЕННОЙ ПОДСВЕТКОЙ ВНИЗ Функция направленной подсветки вниз Нанесение любых надписей и пиктограмм Черный цвет корпуса под заказ Модификации Напряжение питания Ток потребления Потребляемая мощность Степень защиты оболочки Вид климатического исполнения Особенности модификации МИНИ-12 12 В 40 мА __ IP 41 УХЛ 2 МИНИ-24 24 В 40 мА __ IP 41 УХЛ 2 МИНИ-220 220 В __ 4,4 В•А IP 40 УХЛ 3 МИНИ-220-Р 220 В __ 4,4 В•А IP 40 УХЛ 4 с РИП, 4 часа автономной работы светоуказатели
  • 24.
    22 МИНИ-ДИН МИНИ-ДИН − сериякомпактных динамических табло для тех, кто идет в ногу со временем. Светоуказатели МИНИ-ДИН позволяют провести безопас- ную и эффективную эвакуацию в зданиях с СОУЭ 4 и 5 типов. Яркие динами- ческие пиктограммы обеспечивают оптимальное восприятие информации при различных уровнях освещенности и отлично заметны даже в очень за- дымленных помещениях. Для удобства расчетов стоимости светоуказатели МИНИ-ДИН4 разделе- ны на следующие модификации: МИНИ-ДИН4 100, МИНИ-ДИН4 200 и МИНИ- ДИН4 250, которые отличаются площадью заполнения информационного поля, токопотреблением и стоимостью. ТУ 4372-002-49518441-03, гарантия 3 года. КОМПАКТНЫЕ ДИНАМИЧЕСКИЕ ТАБЛО Белый цвет корпуса под заказ Яркие динамические пиктограммы Модификации Напряжение питания Ток потребления Степень защиты оболочки Вид климатического исполнения Особенности модификации МИНИ-12-ДИН1 12 В 180 мА IP 41 УХЛ 2 стрелка влево/ вправо/ в обе стороны МИНИ-12-ДИН2 12 В 100 мА IP 41 УХЛ 2 стрелка вперед/ пиктограмма СТОП МИНИ-ДИН4 9...30 В 140-280 мА IP 41 УХЛ 2 4 изображения под заказ МИНИ-ДИН4МИНИ-12-ДИН2МИНИ-12-ДИН1 omelta.com
  • 25.
    23 МИНИ-12, МИНИ-24 МИНИ-220, МИНИ-220-Р МИНИ-12-ДИН1,МИНИ-12-ДИН2 МИНИ-ДИН4 Схемы подключения Установочные размеры, в мм МИНИ-12, МИНИ-24 МИНИ-220, МИНИ-220-Р МИНИ-12-ДИН1, МИНИ-12-ДИН2 МИНИ-ДИН4 120 150 150 4 4 отв. 10 120 150 15 светоуказатели
  • 26.
  • 27.
    25 МАЯК-К Комбинированные оповещатели серииМАЯК-К предназначены для выда- чи световых и звуковых сигналов на объектах, оснащенных охранно-пожар- ной сигнализацией. Оповещатели этой серии остаются одними из самых востребованных в своем классе. Прочный антивандальный штампованный металлический корпус, широкий диапазон рабочих температур, высокий уровень звукового давления и низкое токопотребление – это залог успеха оповещателей МАЯК-К. ТУ 4372-001-49518441-99, гарантия 5 лет. оповещатели ВОЗМОЖНО ПРИМЕНЕНИЕ В АРКТИЧЕСКИХ УСЛОВИЯХ Прочный штампованный металлический корпус Широкий диапазон рабочих температур -50...+55°С Высокий уровень звукового давления (до 110 дБ) Гарантия 5 лет Модификации Напряжение питания Ток потребления Потребляемая мощность Уровень звукового давления Степень защиты оболочки Вид климатического исполнения Особенности модификации МАЯК-12-К 12 В 40 мА __ 105 дБ IP 52 УХЛ 1 МАЯК-24-К 24 В 40 мА __ 105 дБ IP 52 УХЛ 1 МАЯК-12-К Т 12 В 40 мА __ 105 дБ IP 52 УХЛ 1 оснащен тампером МАЯК-24-К Т 24 В 40 мА __ 105 дБ IP 52 УХЛ 1 оснащен тампером МАЯК-12-К 110 12 В 50 мА __ 110 дБ IP 52 УХЛ 1 повышенный уровень звукового давления МАЯК-24-К 110 24 В 50 мА __ 110 дБ IP 52 УХЛ 1 повышенный уровень звукового давления МАЯК-220-К 220 В __ 16 В•А 105 дБ IP 50 УХЛ 1 СВЕТ + ЗВУК 5
  • 28.
    26 МАЯК-КП Комбинированные оповещатели серииМАЯК-КП предназначены для вы- дачи световых и звуковых сигналов на объектах, оснащенных охранно-по- жарной сигнализацией. Безупречный дизайн корпуса, высокий уровень звукового давления (до 110 дБ), привлекательная цена, низкое токопот­ребле- ние – эти преимущества позволяют оповещателям МАЯК-КП быть вне конку- ренции. МАЯК-КП – одни из самых продаваемых комбинированных оповещате- лей. Потребители хорошо знают эти изделия и доверяют высокому качеству марки. ТУ 4372-001-49518441-99, гарантия 5 лет. 15 ЛЕТ НА СТРАЖЕ ВАШЕЙ БЕЗОПАСНОСТИ omelta.com Высокий уровень звукового давления Гарантия 5 лет5 Низкое токопотребление СВЕТ + ЗВУК Модификации Напряжение питания Ток потребления Уровень звукового давления Степень защиты оболочки Вид климатического исполнения Особенности модификации МАЯК-12-КП 12 В 75 мА 105 дБ IP 55 УХЛ 1 МАЯК-24-КП 24 В 75 мА 105 дБ IP 55 УХЛ 1 МАЯК-12-КП 110 12 В 125 мА 110 дБ IP 55 УХЛ 1 повышенный уровень звукового давления МАЯК-24-КП 110 24 В 125 мА 110 дБ IP 55 УХЛ 1 повышенный уровень звукового давления МАЯК-КП
  • 29.
    27 оповещатели МАЯК-КПМ МАЯК-КПМ – сериякомбинированных оповещателей с различным нап- ряжением питания и разным уровнем звукового давления. Оповещатели входят в низкий ценовой сегмент, обладая при этом высоким качеством. ТУ 4372-001-49518441-99, гарантия 5 лет. СВЕТ + ЗВУК Высокий уровень звукового давления Гарантия 5 лет Низкое токопотребление Модификации Напряжение питания Ток потребления Потребляемая мощность Уровень звукового давления Степень защиты оболочки Вид климатического исполнения Особенности модификации МАЯК-12-КПМ 12 В 40 мА __ 105 дБ IP 56 УХЛ 1 МАЯК-24-КПМ 24 В 40 мА __ 105 дБ IP 56 УХЛ 1 МАЯК-12-КПМ1 12 В 40 мА __ 105 дБ IP 55 УХЛ 2 МАЯК-24-КПМ1 24 В 40 мА __ 105 дБ IP 55 УХЛ 2 МАЯК-220-КПМ1 220 В __ 16 В•А 105 дБ IP 50 УХЛ 3 МАЯК-12-КПМ2 12 В 50 мА __ 110 дБ IP 55 УХЛ 2 повышенный уровень звукового давления МАЯК-24-КПМ2 24 В 50 мА __ 110 дБ IP 55 УХЛ 2 повышенный уровень звукового давления МАЯК-220-КПМ2 220 В __ 16 В•А 110 дБ IP 50 УХЛ 3 повышенный уровень звукового давления МАЯК-КПМ МАЯК-КПМ1, МАЯК-КПМ2 ВЫСОКОЕ КАЧЕСТВО ПО ДОСТУПНОЙ ЦЕНЕ 5
  • 30.
    28 Модификации Напряжение питания Ток потребления Потребляемая мощность Уровень звукового давления Степень защиты оболочки Вид климатического исполнения Особенности модификации МАЯК-12-КПМ1 НИ12 В 40 мА __ 105 дБ IP 55 УХЛ 1 МАЯК-24-КПМ1 НИ 24 В 40 мА __ 105 дБ IP 55 УХЛ 1 МАЯК-220-КПМ1-НИ 220 В __ 16 В•А 105 дБ IP 50 УХЛ 2 МАЯК-12-КПМ2 НИ 12 В 50 мА __ 110 дБ IP 55 УХЛ 1 повышенный уровень звукового давления МАЯК-24-КПМ2 НИ 24 В 50 мА __ 110 дБ IP 55 УХЛ 1 повышенный уровень звукового давления МАЯК-220-КПМ2-НИ 220 В __ 16 В•А 110 дБ IP 50 УХЛ 2 повышенный уровень звукового давления omelta.com МАЯК-КПМ НИ наружное исполнение Модификации оповещателей серии МАЯК-КПМ НИ предназначены для эксплуатации вне помещений МАЯК-ЗМ Звуковые оповещатели серии МАЯК-ЗМ обеспечивают высокий уро- вень звукового давления при низком энергопотреблении. Разработано несколько вариантов дизайна корпуса наружного и внутреннего испол- нения. ТУ 4372-001-49518441-99, гарантия 5 лет. БЮДЖЕТНАЯ ЛИНЕЙКА ОПОВЕЩАТЕЛЕЙ Высокий уровень звукового давления Гарантия 5 лет5 Низкое токопотребление ЗВУК МАЯК-ЗМ МАЯК-ЗМ1, МАЯК-ЗМ2
  • 31.
    29 оповещатели Модификации Напряжение питания Ток потребления Потребляемая мощность Уровень звукового давления Степень защиты оболочки Вид климатического исполнения Особенности модификации МАЯК-12-ЗМ 12В 20 мА __ 105 дБ IP 56 УХЛ 2 МАЯК-24-ЗМ 24 В 20 мА __ 105 дБ IP 56 УХЛ 2 МАЯК-12-ЗМ1 12 В 20 мА __ 105 дБ IP 55 УХЛ 2 МАЯК-24-ЗМ1 24 В 20 мА __ 105 дБ IP 55 УХЛ 2 МАЯК-220-ЗМ1 220 В __ 11 В•А 105 дБ IP 50 УХЛ 3 МАЯК-12-ЗМ2 12 В 30 мА __ 110 дБ IP 55 УХЛ 2 повышенный уровень звукового давления МАЯК-24-ЗМ2 24 В 30 мА __ 110 дБ IP 55 УХЛ 2 повышенный уровень звукового давления МАЯК-220-ЗМ2 220 В __ 11 В•А 110 дБ IP 50 УХЛ 3 повышенный уровень звукового давления МАЯК-ЗМ НИ наружное исполнение Модификации оповещателей серии МАЯК-ЗМ НИ предназначены для эксплуатации вне помещений Модификации Напряжение питания Ток потребления Потребляемая мощность Уровень звукового давления Степень защиты оболочки Вид климатического исполнения Особенности модификации МАЯК-12-ЗМ1 НИ 12 В 20 мА __ 105 дБ IP 55 УХЛ 1 МАЯК-24-ЗМ1 НИ 24 В 20 мА __ 105 дБ IP 55 УХЛ 1 МАЯК-220-ЗМ1-НИ 220 В __ 11 В•А 105 дБ IP 50 УХЛ 2 МАЯК-12-ЗМ2 НИ 12 В 30 мА __ 110 дБ IP 55 УХЛ 1 повышенный уровень звукового давления МАЯК-24-ЗМ2 НИ 24 В 30 мА __ 110 дБ IP 55 УХЛ 1 повышенный уровень звукового давления МАЯК-220-ЗМ2-НИ 220 В __ 11 В•А 110 дБ IP 50 УХЛ 2 повышенный уровень звукового давления
  • 32.
    30 МАЯК-С Световые оповещатели серийМАЯК-С и МАЯК-СТ предназначены для выдачи световых сигналов на объектах, оснащенных охранно-пожарной сигнализацией. Отличаются лаконичным дизайном и оптимальными про- порциями корпуса. Особой популярностью пользуются оповещатели МАЯК-СТ, обладающие яркой стробоскопической вспышкой. В отличие от аналогов стробоскопические МАЯКи обладают малым то- копотреблением – всего 20 мА! Светофильтр может быть красного, желто- го, зеленого или синего цвета. ТУ 4372-001-49518441-99, гарантия 5 лет. ЯРКИЙ СВЕТ ПРИ НИЗКОМ ТОКОПОТРЕБЛЕНИИ omelta.com СВЕТ Модификации Напряжение питания Ток потребления Потребляемая мощность Частота мигания Степень защиты оболочки Вид климатического исполнения Особенности модификации МАЯК-12-С 12 В 20 мА __ __ IP 66 УХЛ 1 МАЯК-24-С 24 В 20 мА __ __ IP 66 УХЛ 1 МАЯК-220-С 220 В __ 7,5 В•А __ IP 60 УХЛ3 МАЯК-12-СТ 12 В 20 мА __ 1,7 Гц IP 66 УХЛ 1 стробоскопическая вспышка МАЯК-24-СТ 24 В 20 мА __ 1,7 Гц IP 66 УХЛ 1 стробоскопическая вспышка 5 Гарантия 5 лет Низкое токопотребление Яркая стробоскопическая вспышка (СТ)
  • 33.
    31 МАЯК-12-К Т, МАЯК-24-КТ Схемы подключения 1 2 4 3 2 1 4 3 2 1 4 3 2 1 МАЯК-12-КП, МАЯК-24-КП МАЯК-12-КП 110, МАЯК-24-КП 110 МАЯК-12-КПМ, МАЯК-24-КПМ МАЯК-12-КПМ1, МАЯК-24-КПМ1 МАЯК-12-КПМ2, МАЯК-24-КПМ2 МАЯК-12-КПМ1 НИ, МАЯК-24-КПМ1 НИ МАЯК-12-КПМ2 НИ, МАЯК-24-КПМ2 НИ МАЯК-220-КПМ1 МАЯК-220-КПМ1-НИ МАЯК-220-КПМ2 МАЯК-220-КПМ2-НИ МАЯК-220-К, МАЯК-220-К 110 МАЯК-12-К, МАЯК-24-К МАЯК-12-К 110, МАЯК-24-К 110 оповещатели
  • 34.
    32 Схемы подключения Установочные размеры,в мм МАЯК-12-К, МАЯК-24-К МАЯК-12-К Т, МАЯК-24-К Т МАЯК-12-К 110, МАЯК-24-К 110 МАЯК-220-К 4 4 отв. 140 4090 110 58 10 МАЯК-12-КП, МАЯК-24-КП 80 90 100 4 2 отв. 42 МАЯК-220-С МАЯК-220-ЗМ1, МАЯК-220-ЗМ1-НИ МАЯК-220-ЗМ2, МАЯК-220-ЗМ2-НИ МАЯК-12-С, МАЯК-24-С МАЯК-12-СТ, МАЯК-24-СТ МАЯК-12-ЗМ, МАЯК-24-ЗМ МАЯК-12-ЗМ1, МАЯК-24-ЗМ1 МАЯК-12-ЗМ1 НИ, МАЯК-24-ЗМ1 НИ МАЯК-12-ЗМ2, МАЯК-24-ЗМ2 МАЯК-12-ЗМ2 НИ, МАЯК-24-ЗМ2 НИ omelta.com
  • 35.
    33 МАЯК-12-КПМ1 НИ, МАЯК-24-КПМ1НИ МАЯК-12-КПМ2 НИ, МАЯК-24-КПМ2 НИ МАЯК-220-КПМ1-НИ, МАЯК-220-КПМ2-НИ МАЯК-12-ЗМ1 НИ, МАЯК-12-ЗМ2 НИ МАЯК-24-ЗМ1 НИ, МАЯК-24-ЗМ2 НИ МАЯК-220-ЗМ1-НИ, МАЯК-220-ЗМ2-НИ МАЯК-12-С, МАЯК-24-С МАЯК-220-С МАЯК-12-СТ, МАЯК-24-СТ 35100 100 76 4 4 отв. 5 2 отв. 29 80 90 100 4 2 отв. 30 62 Установочные размеры, в мм МАЯК-12-ЗМ, МАЯК-24-ЗМ МАЯК-12-КПМ, МАЯК-24-КПМ 80 90 100 4 2 отв. 30 80 70 4 2 отв. 55 МАЯК-12-ЗМ1, МАЯК-24-ЗМ1 МАЯК-12-ЗМ2, МАЯК-24-ЗМ2 МАЯК-220-ЗМ1, МАЯК-220-ЗМ2 МАЯК-12-КПМ1, МАЯК-24-КПМ1 МАЯК-12-КПМ2, МАЯК-24-КПМ2 МАЯК-220-КПМ1, МАЯК-220-КПМ2 оповещатели
  • 36.
  • 37.
    35 АРИЯ Система речевого оповещенияАРИЯ предназначена для формиро- вания, трансляции и воспроизведения речевых сообщений о возникнове- нии опасности, инструкций по эвакуации, трансляции фоновой музыки и иной речевой информации в зданиях и сооружениях 3 и 4 типа СОУЭ. Система включает в себя блоки речевого оповещения, блоки расши- рения, речевые оповещатели и дополнительные устройства (програм- матор, микрофон МК-12, микрофонная панель АРИЯ-МКП-4). Система речевого оповещения АРИЯ разработана в полном соответ- ствии с Техническим регламентом о требованиях пожарной безопаснос- ти, отличается высокой надежностью, малым токопотреблением и прос- тотой в эксплуатации. Широкий спектр оборудования позволяет создать необходимую кон- фигурацию системы АРИЯ в соответствии с назначением зданий, этаж- ностью, численностью одновременно находящихся в здании людей, нали- чием пожарных отсеков, их площадью, количеством и функциональной зависимостью друг от друга. Преимущества системы речевого оповещения АРИЯ: продуман- ная конструкция корпусов блоков системы, продублированные клеммы речевых оповещателей (под провод сечением до 2,5 мм), оптимально подобранные комплекты ЗИП (запасных частей и принадлежностей) и подробные схемы подключения, которые позволяют провести монтаж в максимально короткие сроки. речевое оповещение ОПТИМАЛЬНОЕ СООТНОШЕНИЕ ЦЕНЫ НА ПЛОЩАДЬ ОПОВЕЩЕНИЯ Чистое звучание Возможность разделения оповещения на зоны Гибкая настройка алгоритма оповещения Возможность самостоятельной записи сообщений Трансляция фоновой музыки или рекламы Гарантия 5 лет 1/2/4 REC 5
  • 38.
    36 Блоки речевого оповещения(БРО) предназначены для формирования и трансляции речевых сообщений о возникновении опасности, инструк- ций по эвакуации, трансляции сигналов ГО и ЧС, фоновой музыки (буква М в названии) и рекламы. Модификации Р и РМ оснащены резервными источниками питания. Все БРО системы оснащены встроенной энерго- независимой памятью. Продолжительность записываемых сообщений со- ставляет от 100 до 800 секунд в зависимости от модификации. При изготовлении в память изделий записаны стандартные речевые со- общения: «Производится проверка системы оповещения!», «Внимание! По- жарная тревога! Всем срочно покинуть помещение!» и т.д. Кроме того, на заводе-изготовителе имеется архив из более чем 30 записанных в студии сообщений. Сообщения можно выбрать как при заказе системы, так и при дальнейшем ее использовании. Обратившись на завод, можно получить ссылку на скачивание необходимых сообщений. Предусмотрена трансляция самостоятельно записанных сообщений. Запись может производиться через линейный вход или с помощью програм- матора. Возможна отдельная трансляция тревожных сообщений и музыки в каждую из зон, оповещение персонала, посетителей. АРИЯ блоки речевого оповещения АРИЯ-БРО-Р - Контроль линий оповещения, управления и питания - 2 сообщения общей длительностью до 100 секунд - Программирование алгоритма воспроизведения сообщений - Возможность записи сообщений через линейный вход - Возможность подключения: микрофона МК-12, микрофонной панели АРИЯ-МКП-4, оборудования ГО и ЧС - Подключение до 50 активных устройств и до 48 пассивных речевых оповещателей Напряжение питания Выходная мощность Потребляемая мощность в дежурном режиме АКБ (емкость) Время работы от встраиваемого аккумулятора Диапазон частот Особенности модификации Количество зон оповещениядежурный режим режим оповещения 220 В, 50 Гц 40 В 3 В•А 7 А•ч 200 часов 6 часов 5-25 000 Гц РИП 1 Блок речевого оповещения с РИП omelta.com
  • 39.
    37 АРИЯ-БРО-М АРИЯ-БРО-РМ Блок речевого оповещенияс возможностью трансляции музыки - Контроль линий оповещения и управления - 2 сообщения общей длительностью до 100 секунд - Программирование алгоритма воспроизведения сообщений - Возможность записи сообщений через линейный вход - Возможность подключения: микрофона МК-12, микрофонной панели АРИЯ-МКП-4, оборудования ГО и ЧС, плеера - Подключение до 50 активных устройств и до 48 пассивных речевых оповещателей Напряжение питания Выходная мощность Ток потребления в дежурном режиме Диапазон частот Особенности модификации Количество зон оповещения 12 В 40 Вт 0,05 А 5-25 000 Гц Трансляция музыки 1 - Контроль линий оповещения, управления и питания - 2 сообщения общей длительностью до 100 секунд - Программирование алгоритма воспроизведения сообщений - Возможность записи сообщений через линейный вход - Возможность подключения: микрофона МК-12, микрофонной панели АРИЯ-МКП-4, оборудования ГО и ЧС, плеера - Подключение до 50 активных устройств и до 48 пассивных речевых оповещателей Блок речевого оповещения с РИП и возможностью трансляции музыки АРИЯ-БРО-М-МИНИ Блок речевого оповещения с возможностью трансляции музыки - Постоянный контроль линий управления - 2 сообщения общей длительностью до 100 секунд - Возможность подключения: микрофона МК-12, микрофонной панели АРИЯ-МКП-4, оборудования ГО и ЧС, плеера - Подключение до 50 активных устройств Напряжение питания Выходная мощность Потребляемая мощность в дежурном режиме Диапазон частот Особенности модификации Количество зон оповещения 12 В 40 Вт 0,05 А 22-22 000 Гц Трансляция музыки 1 речевое оповещение Напряжение питания Выходная мощность Потребляемая мощность в дежурном режиме АКБ (емкость) Время работы от встраиваемого аккумулятора Диапазон частот Особенности модификации Количество зон оповещениядежурный режим режим оповещения 220 В, 50 Гц 40 В 7 В•А 7 А•ч 200 часов 6 часов 5-25 000 Гц Трансляция музыки; РИП 1
  • 40.
    38 omelta.com Блок речевого оповещенияс РИП и возможностью трансляции музыки АРИЯ-БРО-РМ-МИНИ - Постоянный контроль линий управления и питания - 2 сообщения общей длительностью до 100 секунд - Возможность подключения: микрофона МК-12, микрофонной панели АРИЯ-МКП-4, оборудования ГО и ЧС, плеера - Подключение до 50 активных устройств Двухзональный блок речевого оповещения с РИП и возможностью трансляции музыки АРИЯ-БРО-РМ-МИНИ2 - Постоянный контроль линий управления и питания - 5 сообщений общей длительностью до 100 секунд - Программирование алгоритма воспроизведения сообщений - Возможность записи сообщений через линейный вход - Возможность подключения: микрофона МК-12, микрофонной панели АРИЯ-МКП-4, оборудования ГО и ЧС, плеера - Подключение до 50 активных устройств к каждой линии управления Четырехзональный блок речевого оповещения с возможностью трансляции музыки АРИЯ-АС-БРО-М-4 Напряжение питания Выходная мощность Потребляемая мощность в дежурном режиме Диапазон воспроизводимых часот Особенности модификации Количество зон оповещения 12 В 40 Вт 0,08 А 22-22 000 Гц Трансляция музыки 4 - Постоянный контроль линий управления и питания - 9 сообщений общей длительностью от 100 до 400 секунд - Программирование алгоритма воспроизведения сообщений - Возможность записи сообщений через линейный вход - Возможность подключения: микрофона МК-12, микрофонной панели АРИЯ-МКП-4, оборудования ГО и ЧС, плеера - Подключение до 50 активных устройств к каждой линии управления Напряжение питания Выходная мощность Потребляемая мощность в дежурном режиме АКБ (емкость) Время работы от встраиваемого аккумуля- тора Диапазон частот Особенности модификации Количество зон оповещениядежурный режим режим оповещения 220 В, 50 Гц 40 В 5 В•А 0,8 А•ч 200 часов 6 часов 22-22 000 Гц Трансляция музыки; РИП 1 Напряжение питания Выходная мощность Потребляемая мощность в дежурном режиме АКБ (емкость) Время работы от встраиваемого аккумулятора Диапазон частот Особенности модификации Количество зон оповещениядежурный режим режим оповещения 220 В, 50 Гц 40 В 5 В•А 0,8 А•ч 24 часа 12 часов 22-22 000 Гц Трансляция музыки; РИП 2
  • 41.
    39 речевое оповещение Четырехзональный блокречевого оповещения с РИП и возможностью трансляции музыки АРИЯ-АС-БРО-РМ-4 АРИЯ-ТС-БРО-РМ-120 Двухзональный блок речевого оповещения с высоковольтным выходом, РИП и возможностью трансляции музыки - Контроль линий оповещения, управления, питания - Программирование алгоритма воспроизведения сообщений - 3 сообщения общей длительностью от 100 до 800 секунд - Возможность подключения: микрофона МК-12, микрофонной панели АРИЯ-МКП-4, оборудования ГО и ЧС, плеера - MP3 плеер USB/ micro SD, FM радио Напряжение питания Напряжение питания от резервного источника Выход мощностью Время работы от встраиваемого аккумулятора Диапазон частот Особенности модификации Количество зон оповещениядежурный режим режим оповещения 220 В, 50 Гц 24 В 120 Вт 100 В 24 часа 3 часа 5-16 000 Гц Трансляция музыки; РИП; плеер 1 - Постоянный контроль линий управления и питания - 9 сообщений общей длительностью от 100 до 400 секунд - Программирование алгоритма воспроизведения сообщений - Возможность записи сообщений через линейный вход - Возможность подключения: микрофона МК-12, микрофонной панели АРИЯ-МКП-4, оборудования ГО и ЧС, плеера - Подключение до 50 активных устройств к каждой линии управления - Контроль линий оповещения, управления, питания - Программирование алгоритма воспроизведения сообщений - 5 сообщений общей длительностью от 100 до 800 секунд - Возможность подключения: микрофона МК-12, микрофонной панели АРИЯ-МКП-4, оборудования ГО и ЧС, плеера - MP3 плеер USB/ micro SD, FM радио АРИЯ-ТС-БРО-РМ-2-120 Напряжение питания Выходная мощность Потребляемая мощность в дежурном режиме АКБ (емкость) Время работы от встраиваемого аккумулятора Диапазон частот Особенности модификации Количество зон оповещениядежурный режим режим оповещения 220 В, 50 Гц 40 В 5 В•А 3,2 А•ч 40 часов 32 часа 22-22 000 Гц Трансляция музыки; РИП 4 Напряжение питания Напряжение питания от резервного источника Выход мощностью Время работы от встраиваемого аккумулятора Диапазон частот Особенности модификации Количество зон оповещениядежурный режим режим оповещения 220 В, 50 Гц 24 В 2 х 120 Вт 100 В 24 часа 3 часа 5-16 000 Гц Трансляция музыки; РИП; плеер 2 Блок речевого оповещения с высоковольтным выходом, РИП и возможностью трансляции музыки
  • 42.
    40 Блоки расширения предназначеныдля работы в составе системы ре- чевого оповещения АРИЯ в качестве усилителей мощности аудиосигнала, поступающего от блоков речевого оповещения, и служат для увеличения количества подключаемых речевых оповещателей. Обеспечивают световую индикацию наличия напряжения питания, возникновения неисправности, включения режима оповещения. Изделия имеют защиту от переполюсовки питания посредством предо- хранителя, а также электронную самовосстанавливающуюся защиту от пе- регрузки и КЗ в нагрузке. Модификации Р и РМ, оснащенные резервными источниками питания, обеспечивают контроль наличия и защиту от переза- ряда и глубокого разряда АКБ. АРИЯ блоки расширения Напряжение питания Выходная мощность Потребляемая мощность в дежурном режиме АКБ (емкость) Время работы от встраиваемого аккумулятора Диапазон частот Особенности модификациидежурный режим режим оповещения 220 В, 50 Гц 40 В 3 В•А 7 А•ч 200 часов 6 часов 5-25 000 Гц РИП Напряжение питания Выходная мощность Ток потребления в дежурном режиме Диапазон частот Особенности модификации 12 В 40 Вт 0,05 А 5-25 000 Гц Трансляция музыки АРИЯ-БР-М Блок расширения с возможностью трансляции музыки - Контроль линии оповещения - Подключение до 48 пассивных речевых оповещателей АРИЯ-БР-Р Блок расширения с РИП - Контроль линий оповещения и питания - Подключение до 48 пассивных речевых оповещателей omelta.com
  • 43.
    41 АРИЯ-БР-РМ - Контроль линииоповещения и питания - Подключение до 48 пассивных речевых оповещателей Блок расширения с РИП и возможностью трансляции музыки Блок расширения с высоковольтным выходом, с РИП АРИЯ-ТС-БР-РМ-120 - Контроль линий оповещения и питания Напряжение питания Выходная мощность Потребляемая мощность в дежурном режиме АКБ (емкость) Время работы от встраиваемого аккумулятора Диапазон частот Особенности модификациидежурный режим режим оповещения 220 В, 50 Гц 40 В 7 В•А 7А•ч 200 часов 6 часов 5-25 000 Гц Трансляция музыки; РИП АРИЯ-ТС-БР-РМ-2-120 - Контроль линий оповещения и питания Напряжение питания Напряжение питания от резервного источника Выход мощностью Время работы от встраиваемого аккумулятора Диапазон частот Особенности модификации Количество зон оповещениядежурный режим режим оповещения 220 В, 50 Гц 24 В 120 Вт 100 В 24 часа 3 часа 5-16 000 Гц Трансляция музыки; РИП 1 Напряжение питания Напряжение питания от резервного источника Выход мощностью Время работы от встраиваемого аккумулятора Диапазон частот Особенности модификации Количество зон оповещениядежурный режим режим оповещения 220 В, 50 Гц 24 В 2 х 120 Вт 100 В 24 часа 3 часа 5-16 000 Гц Трансляция музыки; РИП 2 речевое оповещение Двухзональный блок расширения с высоковольтным выходом, с РИП
  • 44.
    42 АРИЯ речевые оповещатели omelta.com Речевые оповещателиАРИЯ предназначены для воспроизведения сиг- налов ГО и ЧС, речевых сообщений и фоновой музыки. Оповещатели под- разделяются на активные, пассивные и трансформаторные. Выпускаются как в настенном, так и в потолочном исполнении. Пассивные речевые опо- вещатели подключаются к линии оповещения. Активные речевые опове- щатели подключаются непосредственно к линии управления, что позволяет передавать сообщения на большие расстояния практически без потерь. В ближайшее время планируется выпуск оповещателей для подключения к трансляционной линии напряжением 100 В. настенное исполнение Широкий диапазон воспроизводимых частот Отсутствие искажений при передаче звука на большие расстояния установка в любых типах зданий и сооружений Высокий уровень звукового давления АРИЯ-10 АРИЯ-10-АС потолочное исполнение АРИЯ-10П АРИЯ-10-АСП Модификации Номинальная мощность Ток потребления в дежурном режиме Уровень звукового давления Диапазон частот Входное сопротивление Тип оповещателя Исполнение АРИЯ-10 3/ 5/ 10 Вт __ 95 дБ 5-26 000 Гц 8 Ом пассивный настенное АРИЯ-10-АС 3 Вт 50 мА 87 дБ 120-26 000 Гц __ активный настенное АРИЯ-10П 3/ 5/ 10 Вт __ 95 дБ 5-26 000 Гц 8 Ом пассивный потолочное АРИЯ-10-АСП 3 Вт 50 мА 87 дБ 120-26 000 Гц __ активный потолочное
  • 45.
    43 речевое оповещение АРИЯ моноблок Речевые оповещателиАРИЯ-БРО-АС предназначены для формирова- ния и воспроизведения речевых сообщений о возникновении опасности и инструкций по эвакуации на объектах, оснащенных охранно-пожарной сигнализацией. Конструктивно изделие выполнено в виде одного функцио- нально законченного блока, совмещающего в себе функции блока рече- вого оповещения и активного речевого оповещателя. При изготовлении в энергонезависимую память изделия записаны 2 речевых сообщения. Выбор сообщения осуществляется при помощи перемычек. Изделие не имеет внешних органов управления. Запуск выб- ранного сообщения осуществляется дистанционно путем подачи напря- жения питания на клеммы «+12В» и «ОБЩ». Воспроизведение речевого со- общения происходит циклически и продолжается до момента отключения питания. Напряжение питания Ток потребления в дежурном режиме Выходная мощность Уровень звукового давления Диапазон частот Количество речевых сообщений Суммарная продолжительность речевых сообщений Исполнение 12 В 0,4 А 3 Вт 87 дБ 120-16 000 Гц 2 100 сек настенное Возможность самостоятельной записи сообщений при помощи программатора Подключение до 50 активных речевых оповещателей Оптимальное решение для небольших торговых точек: бутиков, павильонов АРИЯ-БРО-АС Блок речевого оповещения и активный речевой оповещатель в одном корпусе 50
  • 46.
    44 omelta.com АРИЯ дополнительные устройства ПРОГРАММАТОР - Предназначендля самостоятельной записи рече- вых сообщений в системе речевого оповещения АРИЯ с помощью персонального компьютера. МИКРОФОН МК-12 - Предназначен для трансляции и записи рече- вых сообщений в системе речевого оповещения АРИЯ. - Совместим со всеми модификациями блоков речевого оповещения АРИЯ. Напряжение питания Ток потребления, не более Диапазон частот Чувствительность Особенности модификации 12 В 15 мА 30-16 000 Гц -58 дБ - линейный вход для внешнего плеера - Предназначена для трансляции и записи рече- вых сообщений, трансляции сигналов ГО и ЧС или фоновой музыки в системе речевого оповещения АРИЯ. - Совместима со всеми модификациями бло- ков речевого оповещения АРИЯ. Напряжение питания Ток потребления, не более Диапазон частот Чувствительность Количество зон оповещения Особенности модификации 12 В 50 мА 30-16 000 Гц -58 дБ 4 - линейный вход для внешнего плеера - линейный вход для ГО и ЧС МИКРОФОННАЯ ПАНЕЛЬ АРИЯ-МКП-4
  • 47.
    45 речевое оповещение а). Приподключении к приемно-контрольному прибору, имеющему выход для управления оповещением типа «нормально разомкнутые контакты». Схема подключения блока речевого оповещения АРИЯ-БРО-М - + +12 + + - - - 12 - + R -10 ( -10 ) + - +12 + 50 + - +12 + - - 1 + - +12 + 2 « » - - - - -10 ( -10 ) -10 ( -10 ) -10 ( -10 ) 1+ 2+ - + 12 100 -
  • 48.
    46 б). При подключениик приемно-контрольному прибору, имеющему выход для управления оповещением типа «открытый коллектор». - + +12 + + - - - 12 - + R -10 ( -10 ) + - +12 + 50 + - +12 + - - 1 + - +12 + 2 -C +12 « » - - - - -10 ( -10 ) -10 ( -10 ) -10 ( -10 ) 1+ 2+ - + 12 100 - omelta.com
  • 49.
    47 речевое оповещение Схема подключения блоковречевого оповещения АРИЯ-БРО-Р, АРИЯ-БРО-РМ - + + + - - - ( - - ) R -10 ( -10 ) + -+ 50 + -+- - 1 + -+ 2 « » - - - - -10 ( -10 ) -10 ( -10 ) -10 ( -10 ) 1+ 2+ - + 12 100 - 220 , 50~ 220~ 220~ 220~ 220~ 220~ 220~ 220~ 220~ а). При подключении к приемно-контрольному прибору, имеющему выход для управления оповещением типа «нормально разомкнутые контакты».
  • 50.
    48 б). При подключениик приемно-контрольному прибору, имеющему выход для управления оповещением типа «открытый коллектор». - + + + - - ( - - ) R -10 ( -10 ) + -+ 50 + -+ - - 1 + -+ 2 -C +12 « » - - - - -10 ( -10 ) -10 ( -10 ) -10 ( -10 ) 1+ 2+ - + 12 100 - 220~ 220~ 220~ 220~ 220~ 220~ 220~ 220~ 220 , 50~ omelta.com
  • 51.
    49 Схема подключения блоков речевогооповещения АРИЯ-БРО-М-МИНИ а). При одновременном подключении активных и пассивных речевых оповещателей. +12 +12 +12 +12 +12 -10- ( -10- ) 1 +12 +12 + + - +12 + + - +12 + - - 1 + - -10 ( -10 ) -10 ( -10 ) -10 ( -10 ) - - 2 - - X -10- ( -10- ) 2 -10- ( -10- ) 50 12 + - + +12 - - - 1+ 2+ « » - - +12 речевое оповещение
  • 52.
    50 б). При подключениик приемно-контрольному прибору, имеющему выход для управления оповещением типа «открытый коллектор». в). При подключении к приемно-контрольному прибору, имеющему выход для управления оповещением типа «нормально разомкнутые контакты». + +12 - - - 1+ 2+ « » +12 50 -10- ( -10- ) +12 R +12 2 -10- ( -10- ) +12 +12 1 -10- ( -10- ) +12 +- 12 - + +12 - - - 1+ 2+ « » +12 50 -10- ( -10- ) +12 +12 2 -10- ( -10- ) +12 +12 1 -10- ( -10- ) +12 +- 12 - - +12 omelta.com
  • 53.
    51 а). При подключениик приемно-контрольному прибору имеющему, выход для управления оповещением типа «открытый коллектор». Схема подключения блоков речевого оповещения АРИЯ-БРО-РМ-МИНИ б). При подключении к приемно-контрольному прибору, имеющему выход для управления оповещением типа «нормально разомкнутые контакты». « » +12 50 -10- ( -10- ) +12 +12 2 -10- ( -10- ) +12 +12 1 -10- ( -10- ) +12 - - +12 +- 12 + +12 - - - 1+ 2+ 220~ 220~ 220 , 50~ « » +12 50 -10- ( -10- ) +12 R +12 2 -10- ( -10- ) +12 +12 1 -10- ( -10- ) +12 +- 12 - + +12 - - - 1+ 2+ 220~ 220~ 220 , 50~ речевое оповещение
  • 54.
    52 в). При одновременномподключении активных и пассивных речевых оповещателей. +12 +12 R +12 +12 +12 -10- ( -10- ) 1 +12 +12 + + - +12 + + - +12 + - - 1 + - -10 ( -10 ) -10 ( -10 ) -10 ( -10 ) - - 2 - - X -10- ( -10- ) 2 -10- ( -10- ) 50 12 +- + +12 - - - 1+ 2+ « » - - +12 220 ~ 220 ~ 220 , 50~ R omelta.com
  • 55.
    53 речевое оповещение б). Схемадля двух направлений линии управления. Номинал оконечного резистора Rок БР =10 кОм ±5 %. Схемы подключения блока расширения АРИЯ-БР-М (max 50 шт.) а). Схема для одного направления линии управления. Номинал оконечного резистора Rок БР =4,7 кОм ±5 %. + + - +12 + - - - + - 12 R + - +12 + - - + - +12 + - - -10 ( -10 ) -10 ( -10 ) R -10 ( -10 ) -10 ( -10 ) + - +12 + - - + - +12 + - - R + - +12 + - - + - +12 + - - +- 12 2 1 + - -10 ( -10 ) -10 ( -10 ) -10 ( -10 )
  • 56.
    54 omelta.com в). Схема длятрех направлений линии управления. Номинал оконечного резистора Rок БР = 15 кОм ±5 %. + - R -10 ( -10 ) + - +12 + - - + - +12 + - - R + - +12 + - - + - +12 + - - R + - +12 + - - + - +12 + - - 3 +- 12 2 1 -10 ( -10 ) -10 ( -10 ) -10 ( -10 ) -10 ( -10 ) -10 ( -10 )
  • 57.
    55 б). Схема длядвух направлений линии управления. Номинал оконечного резистора Rок БР =10 кОм ±5 %. Схемы подключения блоков расширения АРИЯ-БР-Р, АРИЯ-БР-РМ (max 50 шт.) а). Схема для одного направления линии управления. Номинал оконечного резистора Rок БР =4,7 кОм ±5 %. + -+ - - + - -10 ( -10 ) -10 ( -10 ) + -+ + -+ -10 ( -10 ) - - - - 220~ 220~ 220~ 220~ 220~ 220~ 220 , 50~ - -( ) - -( ) - -( ) -10 ( -10 ) -10 ( -10 ) + -+ - - + -+ - - -10 ( -10 ) -10 ( -10 ) + -+ + -+ 2 1 + - 220~ 220~ 220~ 220~ 220~ 220~ 220~ 220~ 220 , 50~ - -( ) - -( ) - -- - - -( ) - -( ) речевое оповещение
  • 58.
    56 в). Схема длятрех направлений линии управления. Номинал оконечного резистора Rок БР =15 кОм ±5 %. Схемы подключения блоков расширения АРИЯ-БР-Р, АРИЯ-БР-РМ (max 50 шт.) omelta.com
  • 59.
    57 а). Схема для1, 2, 3 и 4-х оповещателей. Номинал оконечного резистора Rок АС = 4,7 кОм ± 5%. б). Схема для 4, 6, 8, 10 и 12-ти оповещателей. Номинал оконечного резистора Rок АС =2,4 кОм ± 5%. Схемы подключения речевых оповещателей АРИЯ-10 и АРИЯ-10П к блокам речевого оповещения АРИЯ-БРО-М, АРИЯ-БРО-Р, АРИЯ-БРО-РМ и блокам расширения АРИЯ-БР-М, АРИЯ-БР-Р, АРИЯ-БР-РМ + - 21 43 +- 21 43 +- 21 43 +- + - 21 43 +- 21 43 +- 21 43 +- 21 43 +- 21 43 +- 21 43 +- речевое оповещение
  • 60.
    58 в). Схема для9, 12, 15, 18, 21, 24 и 27-ми оповещателей. Номинал оконечного резистора Rок АС =1,5 кОм ± 5%. г). Схема для 16, 20, 24, 28, 32, 36, 40, 44 и 48-ми оповещателей. Номинал оконечного резистора Rок АС =1,2 кОм ± 5%. 21 43 +- 21 43 +- 21 43 +- 21 43 +- 21 43 +- 21 43 +- 1 43 +- 2 21 43 +- 21 43 +- + - 21 43 +- 21 43 +- 21 43 +- 21 43 +- 21 43 +- 21 43 +- 21 43 +- 21 43 +- 21 43 +- 21 43 +- 21 43 +- 21 43 +- + - omelta.com
  • 61.
    59 +12 50 -10- ( -10- ) +12 +12 2 -10- (-10- ) +12 +12 1 -10- ( -10- ) +12 + - + - 12 а). Схема для одного направления линии управления. Номинал оконечного резистора Rок БР =4,7 кОм ±5 %. Схемы подключения активных речевых оповещателей АРИЯ-10-АС и АРИЯ-10-АСП к блокам речевого оповещения АРИЯ-БРО-М-МИНИ, АРИЯ-БРО-РМ-МИНИ, АРИЯ-БРО-РМ-МИНИ-2, АРИЯ-АС-БРО-М-4, АРИЯ-АС-БРО-РМ-4 +12 X -10- ( -10- ) +12 +12 2 -10- ( -10- ) +12 +12 1 -10- ( -10- ) +12 + - + - 12 +12 50 -10- ( -10- ) +12 +12 Z -10- ( -10- ) +12 +12 Y -10- ( -10- ) +12 б). Схема для двух направлений линии управления. Номинал оконечного резистора Rок БР =4,7 кОм ±5 %. речевое оповещение
  • 62.
    60 СВЕТОУКАЗАТЕЛИ в). Для трехнаправлений линии управления. Номинал оконечного резистора Rок БР =15 кОм ±5 %. +12 -10- ( -10- ) +12 +12 2 -10- ( -10- ) +12 +12 1 -10- ( -10- ) +12 + - + - 12 +12 M -10- ( -10- ) +12 +12 Z -10- ( -10- ) +12 +12 Y -10- ( -10- ) +12 +12 50 -10- ( -10- ) +12 +12 S -10- ( -10- ) +12 +12 N -10- ( -10- ) +12 omelta.com
  • 63.
    61 12 12 -12 Схема подключениямикрофона МК-12 Схемы подключения моноблока АРИЯ-БРО-АС а). С максимальным приоритетом б). С минимальным приоритетом J1 J2 J1 J2 -12 речевое оповещение
  • 64.
    62 12 - -4 2 3 1 1 2 +- 12 3 4 4 - 2 3 1 1 2 3 4 4 Схема подключения микрофоннойпанели АРИЯ-МКП-4 Установочные размеры, в мм АРИЯ-БРО-Р АРИЯ-БРО-РМ АРИЯ-АС-БРО-М-4 АРИЯ-АС-БРО-РМ-4 АРИЯ-БР-Р АРИЯ-БР-РМ АРИЯ-БРО-М-МИНИ АРИЯ-БРО-РМ-МИНИ АРИЯ-БРО-М-МИНИ2 АРИЯ-БРО-РМ-МИНИ-2 АРИЯ-БР-М АРИЯ-БРО-М 50120 170 245 4 3 отв. 30 27 4 3 отв. 150 60 110 22 13 45 16 omelta.com
  • 65.
    63 АРИЯ-10П АРИЯ-10-АСП 85 160 97 120 200 АРИЯ-10 АРИЯ-10-АС АРИЯ-БРО-АС 138 4 4 отв. 65 Установочные размеры,в мм 430 485 465 6 31 43250 R3 АРИЯ-ТС-БРО-РМ-120 АРИЯ-ТС-БРО-РМ-2-120 АРИЯ-ТС-БР-РМ-120 АРИЯ-ТС-БР-РМ-2-120 речевое оповещение
  • 66.
  • 67.
    65 ИБИС источники питания ИБИС –серия современных импульсных источников питания, обеспечи- вающих стабилизированным напряжением постоянного тока электронные устройства систем охранно-пожарной сигнализации, видеонаблюдения, телеком­муни­ка­ци­онного оборудования и других потребителей. В соответствии с требованиями ГОСТ Р 53325-2012 предусмотрены: ин- дикация наличия напряжения питания (в пределах нормы) на основном и резервном источниках электроснабжения; автоматическая защита АКБ от глубокого разряда, перезаряда и неправильного подключения; электронная самовосстанавливающаяся защита от превышения нагрузки и короткого за- мыкания на выходе; выдача сигнала о неисправности во внешние цепи. ТУ 4372-022-49518441-12, гарантия 3 года. СОВРЕМЕННЫЕ ИМПУЛЬСНЫЕ ИСТОЧНИКИ ПИТАНИЯ источники питания Широкий диапазон входных напряжений Выдача сигнала о неисправности во внешние цепи Автоматическая защита АКБ от глубокого разряда, перезаряда, неправильного подключения Модификации Напряжение питания Выходной ток Потребляемая мощность Емкость встраиваемого аккумулятора Степень защиты оболочки Вид климатического исполнения Особенности модификации ИБИС-1203 90...264 В 0,3 А 7 В•А 0,8 А•ч IP 40 УХЛ 4 ИБИС-1230 90...264 В 3 А 60 В•А 7 А•ч IP 40 УХЛ 4 ИБИС-1250 90...264 В 5 А 83 В•А 7 А•ч IP 40 УХЛ 4 ИБИС-1250 исп.1 90...264 В 5 А 83 В•А 7 А•ч IP 40 УХЛ 4 Кабельный вывод для подключения одной дополнительной АКБ ИБИС-1250 исп.2 90...264 В 5 А 83 В•А 7 А•ч IP 40 УХЛ 4 Кабельный вывод для подключения двух дополнительных АКБ
  • 68.
    66 -+ - 12 + 12 220 220 - + -1230 -1250 ~ ~ R -12 + 12 220 220 - + -1230 -1250 ~ ~ а). При подключении к выносному сигнальному устройству б). При подключении к приемно-контрольному прибору Схемы подключения источников питания ИБИС-1230, ИБИС-1250 + - + - а). При подключении к выносному сигнальному устройству Схемы подключения источников питания ИБИС-1203, -+ 12 30 - 12 + 12 220 220 - + -1203 ~ ~ ~ 220 В, 50 Гц R - 12 + 12 220 220 - + -1203 ~ ~ ~ 220 В, 50 Гц б). При подключении к приемно-контрольному прибору + - + - omelta.com
  • 69.
    67 Схемы подключения источников питанияИБИС-1250 исп. 1, ИБИС-1250 исп. 2 -+ - 12 + 12 220 220 - + -1250 .1 -1250 .2 ~ ~ . 1 . 2 + - + - -1250 * + - - 12 + 12 220 220 - + -1250 .1 -1250 .2 ~ ~ . 1 . 2 + - + - -1250 * + - R а). При подключении к выносному сигнальному устройству б). При подключении к приемно-контрольному прибору ИБИС-1230 ИБИС-1250 ИБИС-1250 исп.1 ИБИС-1250 исп.2 Установочные размеры, в мм ИБИС-1203 170 245 4 3 отв. 3045 16 50120 27 4 3 отв. 150 60 110 22 13 источники питания
  • 70.
  • 71.
    69 ЛУЧ светильники аварийного освещения СветильникиЛУЧ-С предназначены для установки в системах аварий- ного освещения. Корпус светильников выполнен из ударопрочного поли- карбоната. В качестве источника света в них используются сверхяркие све- тодиоды с ресурсом работы до 100 000 часов. Изделия серий ЛУЧ и ЛУЧ-К обладают возможностью регулировки нап- равления светового потока в горизонтальной и вертикальной плоскостях. ЯРКОСТЬ, ЭКОНОМИЧНОСТЬ, НАДЕЖНОСТЬ Гарантия 5 лет 5 Ударопрочный корпус, антикражные заглушки Модификации Напряжение питания Потребляемая мощность Количество источников света Световой поток Степень защиты оболочки Диапазон рабочих температур Вид климатического исполнения ЛУЧ-12-С 34 12 В 3 Вт 6 460 Лм IP 56 -40...+55°С УХЛ 1 ЛУЧ-24-С 34 24 В 3 Вт 6 460 Лм IP 56 -40...+55°С УХЛ 1 ЛУЧ-12-С 64 12 В 6 Вт 15 800 Лм IP 56 -40...+55°С УХЛ 1 ЛУЧ-24-С 64 24 В 6 Вт 15 800 Лм IP 56 -40...+55°С УХЛ 1 ЛУЧ-220-С 34 220 В 3 Вт 6 460 Лм IP 54 -40...+55°С УХЛ 2 ЛУЧ-220-С 64 220 В 6 Вт 15 800 Лм IP 54 -40...+55°С УХЛ 2 Возможность регулировки направления светового потока Модификации Напряжение питания Ток потребления Потребляемая мощность Количество источников света Угол раскрыва Степень защиты оболочки Диапазон рабочих температур Вид климатического исполнения ЛУЧ-12-К 6/30 12 В 40 мА __ 6 30° IP 55 -30...+55°С УХЛ 2 ЛУЧ-24-К 6/30 24 В 40 мА __ 6 30° IP 55 -30...+55°С УХЛ 2 ЛУЧ-220-К 6/30 220 В __ 5 В•А 6 30° IP 50 -30...+55°С УХЛ 3 ЛУЧ-220-КР 6/30 220 В __ 5 В•А 6 30° IP 50 -10...+55°С УХЛ 3 ЛУЧ-С ЛУЧ-К РИП, 4 часа автономной работы (ЛУЧ-220-КР) аварийное освещение
  • 72.
    70 Схемы подключения + - 12 В(24В) синий коричневый ЛУЧ-12-С 34, ЛУЧ-24-С 34 ЛУЧ-12-С 64, ЛУЧ-24-С 64 ~ 220 В, 50 Гц ЛУЧ-220-С 34, ЛУЧ-220-С 64 ЛУЧ-12-К 6/30, ЛУЧ-24-К 6/30 . 1 2 + - + - 12 В (24В) ЛУЧ-220-К 6/30, ЛУЧ-220-КР 6/30 . 1 2 ~ 220 В, 50 Гц omelta.com Модификации Напряжение питания Ток потребления Количество источников света Угол раскрыва Степень защиты оболочки Диапазон рабочих температур Вид климатического исполнения ЛУЧ-12 3/30 12 В 20 мА 3 30° IP 55 -30...+55°С УХЛ 3 ЛУЧ-24 3/30 24 В 20 мА 3 30° IP 55 -30...+55°С УХЛ 3 ЛУЧ-12 6/120 12 В 40 мА 6 120° IP 55 -30...+55°С УХЛ 3 ЛУЧ-24 6/120 24 В 40 мА 6 120° IP 55 -30...+55°С УХЛ 3 ЛУЧ-12 3/30/М 12 В 20 мА 3 30° IP 55 -30...+55°С УХЛ 3 ЛУЧ-24 3/30/М 24 В 20 мА 3 30° IP 55 -30...+55°С УХЛ3 ЛУЧ-12 6/120/М 12 В 40 мА 6 120° IP 55 -30...+55°С УХЛ 3 ЛУЧ-24 6/120/М 24 В 40 мА 6 120° IP 55 -30...+55°С УХЛ3 ЛУЧ Возможность регулировки направления светового потока
  • 73.
    71 Установочные размеры 4,8 2 отв. 150 122 50 ЛУЧ-12-С34, ЛУЧ-24-С 34 ЛУЧ-220-С 34 ЛУЧ-12-С 64, ЛУЧ-24-С 64 ЛУЧ-220-С 64 60 ЛУЧ-12-К 6/30 ЛУЧ-24-К 6/30 ЛУЧ-220-К 6/30 ЛУЧ-220-КР 6/30 133 R2 79 ЛУЧ-12 3/30, ЛУЧ-24 3/3 ЛУЧ-12 6/120, ЛУЧ-24 6/120 56 64 4 2 отв. ЛУЧ-12 3/30/М, ЛУЧ-24 3/30/М ЛУЧ-12 6/120/М, ЛУЧ-24 6/120/М 4 30 65 аварийное освещение ЛУЧ-12 3/30, ЛУЧ-24 3/30 ЛУЧ-12 3/30/М, ЛУЧ-24 3/30/М ЛУЧ-12 6/120, ЛУЧ-24 6/120 ЛУЧ-12 6/120/М, ЛУЧ-24 6/120/М + - 12 В (24В) белый цветной
  • 74.
    72 СИЯНИЕ система динамического световогооповещения Система динамического светового оповещения СИЯНИЕ способствует быстрой и безопасной эвакуации людей благодаря наглядной динамичес- кой индикации направления движения по всему пути эвакуации. Систе- ма предусматривает возможность оперативного изменения направления эвакуации. Бесперебойная работа системы оповещения СИЯНИЕ гаран- тируется двойным резервированием питающего напряжения. ТУ 4371-024-49518441-07, гарантия 3 года. omelta.com ДОРОЖКА Наглядная динамическая индикация направления движения по всему пути эвакуации Модификации Напряжение питания Ток потребления Степень защиты оболочки Диапазон рабочих температур Вид климатического исполнения Особенности модификации ДОРОЖКА ББ 12 В 40 мА IP 54 -30...+55°С УХЛ 4 2 модуля без резерва ДОРОЖКА БР 12 В 50 мА IP 54 -10...+55°С УХЛ 3 1 модуль без резерва 1 модуль с резервом ДОРОЖКА РР 12 В 60 мА IP 54 -10...+55°С УХЛ 3 2 модуля с резервом БИС блок индикации состояния Модификация Напряжение питания Ток потребления Степень защиты оболочки Вид климатического исполнения БИС 12 В 40 мА IP 54 УХЛ 3 ДИНАМИЧЕСКОЕ СВЕТОВОЕ ОПОВЕЩЕНИЕ
  • 75.
    73 Схема подключения оповещателей ДОРОЖКАББ, ДОРОЖКА БР, ДОРОЖКА РР 6 5 4 3 2 1 к БИС Схема подключения блока индикации БИС 6 5 4 3 2 1 6 5 4 3 2 1 +12 .1 .2 +12 - 12 аварийное освещение
  • 76.
  • 77.
    75 ВЕКТОР ВЕКТОР – бюджетнаялинейка оборудования для использования в систе- мах контроля и управления доступом. Система ВЕКТОР прекрасно под- ходит для установки в офисных помещениях, банках, административных зданиях, магазинах, на производственных предприятиях и т. д. ВЕКТОР-100-СКМ, ВЕКТОР-100-СКС – считыватели с динамическим мат- ричным или двухцветным светодиодным индикатором и контроллером, предназначенные для считывания идентификационного кода Proximity карт и управления блокирующими устройствами. ВЕКТОР-М, ВЕКТОР-С – индикаторы с динамическим матричным или двухцветным светодиодным дисплеем, предназначенные для работы сов- местно с изделиями ВЕКТОР-100-СКМ, ВЕКТОР-100-СКС. ТУ 4372-030-49518441-08, гарантия 3 года. ОБОРУДОВАНИЕ ДЛЯ СИСТЕМЫ КОНТРОЛЯ И УПРАВЛЕНИЯ ДОСТУПОМ контроль доступа Модификации Напряжение питания Ток потребления Степень защиты оболочки Вид климатического исполнения Характеристики модификаций ВЕКТОР-100-СКМ 12 В 250 мА IP 55 УХЛ 1 СЧИТЫВАТЕЛЬ с динамическим индикатором и контроллером; 100 ключей, карты Em-Marine ВЕКТОР-М 5 В 150 мА IP 55 УХЛ 1 ИНДИКАТОР динамический ВЕКТОР-100-СКС 12 В 50 мА IP 55 УХЛ 1 СЧИТЫВАТЕЛЬ со светодиодным индикатором и контроллером; 100 ключей, карты Em-Marine ВЕКТОР-С 5 В 25 мА IP 55 УХЛ 1 ИНДИКАТОР светодиодный ВЕКТОР-100-СКМ ВЕКТОР-М ВЕКТОР-100-СКС ВЕКТОР-С
  • 78.
    76 12 + - 12 + - ( - 12, 100 -+ 5...30 - + 5...30 -100- -100- « » - + - 12 12 - + 12 -100- -100- « » + - ( - ) 12 , 100- а). При использовании исполнительного устройства с напряжением питания от 5 до 30 В б). При использовании исполнительного устройства с напряжением питания 12 В Схемы подключения считывателей ВЕКТОР-100-СКМ, ВЕКТОР-100-СКС Установочные размеры, в мм 4 4 отв. 162 23 50 30 18 144 ВЕКТОР-100-СКС ВЕКТОР-100-СКМ ВЕКТОР-С ВЕКТОР-М ( omelta.com
  • 79.
    77 защита дома иофиса ДО-ЗВОН Автоматический телефонный информатор ДО-ЗВОН предназначен для использования в системах охранно-пожарной сигнализации в качестве устройства передачи тревожных сообщений по телефонной линии при сра- батывании сигнализации. Изделие работает совместно с приёмно-контроль- ными приборами, извещателями и датчиками, имеющими нормально-зам- кнутые или нормально-разомкнутые контакты. Предусмотрена возможность импульсного и тонального набора номера. ТУ 4371-030-49518441-08, гарантия 3 года ДО-ЗВОН - 6 программируемых номеров - программирование без использования дополнительных устройств - 1 сообщение (до 20 секунд); - встроенный микрофон для записи сообщений - 2 сигнальные цепи - импульсный и тональный набор АВТОМАТИЧЕСКИЙ ТЕЛЕФОННЫЙ ИНФОРМАТОР Модификации Напряжение питания Ток потребления Степень защиты оболочки Вид климатического исполнения ДО-ЗВОН 12 В 50 мА IP 55 УХЛ 1
  • 80.
    Схема подключения телефонного информатораДО-ЗВОН 6 5 4 3 2 1 1 2 1 2 1 2 . 7 8 9 10 + 12 . . 330 10 0,1 +5 .4 .3 « » 2 Установочные размеры, в мм 78 4 4 отв. 112 12 136 12 28 78 omelta.com
  • 81.
    Омский завод «Электротехникаи Автоматика» Адрес: Россия, г. Омск, 644031, ул. 10 лет Октября, 221 Тел./факс: 8 (3812) 35-81-50, 35-81-60, 57-85-85 Е-mail: info@omelta.com, sale@omelta.com График работы: понедельник – пятница: с 9-00 до 18-00 суббота, воскресенье: выходной Торговый дом «Электротехника и Автоматика», Москва Адрес: Россия, г. Москва, 125993, ул. Правды, 24, строение 4, офис 108 Тел./факс: 8 (495) 228-00-97, 8-903-284-67-96 Е-mail: info@omelta.com График работы: понедельник – пятница: с 9-00 до 18-00 суббота, воскресенье: выходной Торговый дом «Электротехника и Автоматика», Санкт-Петербург Адрес: Россия, г. Санкт-Петербург, 190103, ул. 8-я Красноармейская, 23А Тел./факс: 8 (812) 575-23-94, 493-31-45 Е-mail: spb-info@omelta.com График работы: понедельник – четверг: с 9-00 до 18-00 пятница: с 9-00 до 17-00 суббота, воскресенье: выходной Торговая компания «Электротехника и Автоматика», ЭКСПОРТ Адрес: Россия, г. Омск, 644031, ул. 10 лет Октября, 221 Тел./факс: 8 (3812) 35-81-50, 35-81-60 Е-mail: omelta-led@mail.ru, info@omelta.com График работы: понедельник – пятница: с 9-00 до 18-00 суббота, воскресенье: выходной группа компаний «Электротехника и Автоматика»
  • 82.
    www.omelta.com Группа компаний «ЭЛЕКТРОТЕХНИКАИ АВТОМАТИКА» 644031, Россия, г. Омск, ул. 10 лет Октября, 221 тел./факс: 8 (3812) 358-150, 358-160 e-mail: info@omelta.com