Embed presentation
Download to read offline



















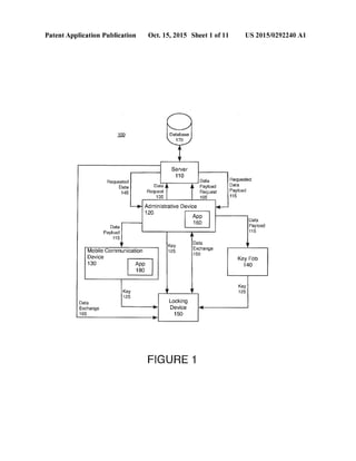
An alignment aid for an electronic locking device includes a contact sensitive cover affixed to or displaced on a deadbolt of the locking device. When the contact sensitive cover physically contacts another object, it leave a residual mark on that object, thereby providing an indication of the point of contact. The alignment aid thus provides a visual indicator for an observer or installer, helping to prevent misalignment with other components of the locking device and/or a doorjamb into which the deadbolt is to be inserted.


















