BMW
Информация
для прессы
03/2014
Страница 1

Сильный характер: новый BMW X4.
Содержание.

1.

Новый BMW X4.
Краткое изложение. ................................................................................................... 2

2. Дизайн и функциональность.
Новые масштабы образцовой динамики. ......................................................... 5
3. Двигатель.
Максимальная мощность и плавность работы для самых высоких
требований. .................................................................................................................... 8
4. BMW ConnectedDrive.
Интеллектуальные системы помощи водителю и пакет
интеллектуальных сетевых технологий. .......................................................... 11
5. Технические характеристики. ..................................................................... 13
6. Диаграммы мощности и крутящего момента. ................................... 17
7. Наружные и внутренние размеры. .......................................................... 23
BMW
Информация
для прессы
03/2014
Страница 2

1.

Новый BMW X4.
Краткое изложение.

Новый BMW X4 (расход топлива в смешанном цикле: 8,3–5,0* л/100 км;
выброс CO2 в смешанном цикле: 193–131* г/км), соединяет в себе
типичные черты успешного семейства BMW X со спортивной
элегантностью классического купе. Эту уникальную концепцию Sports
Activity Coupé компания BMW переносит вместе с BMW Х4 в премиумсегмент среднего класса. Его спортивность подчеркивается широким
выбором современных высокомощных двигателей, полным приводом
xDrive и эксклюзивным серийным оснащением, среди которого,
например, спортивное рулевое управление с переменным передаточным
отношением, система Performance Control и спортивное кожаное рулевое
колесо с лепестками переключения передач.
Энергичный и динамичный внешний вид.
Новый BMW X4, техническую основу которого составляет BMW X3,
отличается особым уникальным спортивным характером и значительно
более высокой динамикой. Об этом свидетельствует уже его передняя
часть. Благодаря разнесенным по краям кузова большим
воздухозаборникам и характерным линиям переднего бампера BMW X4 с
типичными для марки сдвоенными основными и противотуманными
фарами (в качестве опции все они предлагаются в светодиодном
исполнении) не останется незамеченным на дороге. Линия крыши, высшая
точка которой располагается над водителем, плавно опускается до конца
крышки багажника, повторяя форму классического спортивного купе.
Характерная выштамповка BMW в новом X4 впервые разделяется на две
части. Первая часть динамично восходит от передней колесной арки и
заканчивается на задней дверной ручке, в то время как вторая часть
подчеркивает сильную форму заднего крыла. Задняя часть с L-образными
светодиодными фонарями в эксклюзивном дизайне X4 и имитация
диффузора уже в статике демонстрируют выдающуюся динамичность
нового BMW X4.
По сравнению с BMW X3 передние сиденья установлены на
20 миллиметров ниже. Это, а также заднее сиденье, отформованное под
два отдельных места, подчеркивает характерные для купе особенности
нового BMW X4 в высококачественном и эксклюзивном интерьере.
* Указанные значения получены на автомобиле с шинами с оптимизированным сопротивлением качению на 17-дюймовых
легкосплавных дисках „Streamline“ стиля 306.
BMW
Информация
для прессы
03/2014
Страница 3

Одновременно X4 предлагает достаточно места в салоне для пяти
человек и высокую вариативность благодаря спинке заднего сиденья,
серийно разделенной в пропорции 40:20:40.
Максимальная мощность и высочайшая плавность работы.
Компания BMW в соответствии с темпераментным характером нового
BMW X4 предлагает для него три бензиновых и три дизельных двигателя
семейства BMW EfficientDynamics мощностью от 135 кВт/184 л.с. до
230 кВт/313 л.с., отвечающих требованиям стандарта Евро-6. Технология
BMW TwinPower Turbo, применяемая в современных двигателях,
гарантирует высокую мощность при низком потреблении топлива.
Топовый бензиновый двигатель BMW X4 xDrive35i (расход топлива в
городе/за городом/в смешанном цикле: 10,7/6,9/8,3 л/100 км; выброс CO2
в смешанном цикле: 193 г/км) демонстрирует выдающуюся мощность
225 кВт/306 л.с. и максимальный крутящий момент 400 Нм. На спринт до
100 км/ч BMW X4 xDrive35i требуется 5,5 секунды. Такой же уверенный
набор мощности и низкий выброс CO2 отличают двигатель BMW X4
xDrive35d (расход топлива в городе/за городом/в смешанном цикле:
6,7/5,5/6,0 л/100 км; выброс CO2 в смешанном цикле: 157 г/км). Этот
трехлитровый рядный шестицилиндровый двигатель развивает мощность
230 кВт/313 л.с. и максимальный крутящий момент 630 Нм. BMW X4 35d
разгоняется до 100 км/ч за 5,2 секунды. Лучшие показатели расхода
топлива и выброса CO2 предлагает новое поколение двухлитрового
дизеля в BMW X4 xDrive20d (расход топлива в городе/за городом/в
смешанном цикле: 5,8–5,4*/5,1–4,8*/5,4–5,0* л/100 км; выброс CO2 в
смешанном цикле: 141–131* г/км) с восьмиступенчатой АКПП Steptronic.
Мощность этого четырехцилиндрового двигателя составляет
140 кВт/190 л.с., а максимальный крутящий момент – 400 Нм.
BMW EfficientDynamics: удовольствие от вождения и низкий
расход топлива.
Для достижения таких прекрасных значений расхода топлива и токсичности
ОГ в новом BMW X4 используется уникальный технологический пакет
BMW EfficientDynamics. В него включены среди прочего функция Auto Start
Stop и функция движения накатом (на автомобилях с восьмиступенчатой
АКПП Steptronic), рекуперация энергии торможения, а также управляемые
по потребности вспомогательные агрегаты. Тем самым обеспечивается
высокая экологичность и настоящее удовольствие от вождения. Свой вклад
также вносят устанавливаемые по желанию шины с уменьшенным
сопротивлением качению четвертого поколения, благодаря которым
выброс CO2 отдельных двигателей BMW X4 снижается еще на 7 г/км.
* Указанные значения получены на автомобиле с шинами с оптимизированным сопротивлением качению на 17-дюймовых
легкосплавных дисках „Streamline“ стиля 306.
BMW
Информация
для прессы
03/2014
Страница 4

BMW ConnectedDrive: услуги, приложения и системы помощи
водителю.
Благодаря использованию технологии BMW ConnectedDrive новый
BMW X4 сохраняет лидирующую позицию в области систем,
обеспечивающих контакт водителя с автомобилем и окружающим миром.
К особенностям нового BMW X4 относятся также полноцветный
проекционный дисплей BMW, неослепляющая система управления
дальним светом и система Ассистент вождения Plus с функцией
слежения за разметкой, активным круиз-контролем с функцией Stop&Go
и системой превентивной защиты пешеходов, а также системой
предупреждения о наезде, которая при необходимости может
затормозить автомобиль до полной остановки. Кроме того объем
опциональных услуг BMW ConnectedDrive может быть по желанию
расширен такими инновационными системами, как система
информирования о дорожной ситуации в режиме реального времени
(RTTI), консьерж-сервис или система дистанционного управления
Remote Service. Социальные сети Facebook и Twitter, интернет-радио
AUPEO! и музыкальные сервисы, такие как Napster и Deezer, доступны в
новом BMW X4 в переработанном, удобном для использования виде.
Дополнительную информацию о заявленном расходе топлива, а также официальные данные по выбросу CO2 и потреблению электроэнергии
нового автомобиля Вы можете найти в „Руководстве по уменьшению потребления топлива, выбросов CO2 и потребления энергии у новых
легковых автомобилей (Leitfaden über Kraftstoffverbrauch, die CO2-Emissionen und den Stromverbrauch neuer Personenkraftwagen)“,
доступном во всех торговых точках, в компании „Deutsche Automobil Treuhand GmbH (DAT) “, Хельмут-Хирт-Штрассе 1,
73760 Остфильдерн-Шарнхаузен, а также по ссылке http://www.dat.de/angebote/verlagsprodukte/leitfaden-kraftstoffverbrauch.html под
названием LeitfadenCO2 (Документ PDF ‒ 2,7 Мб).
BMW
Информация
для прессы
03/2014
Страница 5

2.

Дизайн и функциональность.
Новые масштабы образцовой
динамики.

Новый BMW X4 стал первым представителем Sports Activity Coupé в
премиумном сегменте автомобилей среднего класса. Как и успешный на
рынке и по-прежнему неповторимый BMW X6, который купили уже
250 000 человек, новый X4 не останется незамеченным на дороге. Его
внешний вид представляет собой превосходную комбинацию сильных
черт Sports Activity Vehicle (SAV) и спортивной элегантности
классического купе.
Уникальное воплощение удовольствия от вождения.
Новый BMW X4, техническую основу которого составляет BMW X3, с
первого взгляда четко проявляет свою динамичную индивидуальность и
темпераментный характер. При длине 4671 миллиметров он всего на
14 миллиметров длиннее BMW X3, но при этом на 36 миллиметров ниже
(высота – 1624 мм). Этот автомобиль впечатляет идеально
сбалансированными пропорциями и индивидуальными особенностями.
Благодаря разнесенным по краям кузова большим воздухозаборникам и
характерным линиям переднего бампера BMX X4 выглядит сильным и
маневренным. В то же время визуальный центр тяжести смещается
ближе к дороге и подчеркивает возросшую динамику движения.
Дополнительно это подчеркивают противотуманные фары,
расположенные под классическими двойными основными фарами – все
фары в качестве опции доступны в светодиодном исполнении. Такое
расположение создает характерный „трехглазый облик“, свойственный
автомобилям серии BMW X.
Наивысшая точка элегантной, изогнутой как у купе крыши находится над
передними сиденьями, подчеркивая типичную для BMW
ориентированность на водителя, и плавно опускается в направлении
спойлерной кромки на крышке багажника. Этот вытянутый контур
свидетельствует о родстве BMW X4 с классическими спортивными купе.
Неповторимый внешний вид BMW X4 дополнительно характеризует
новая интерпретация характерной выштамповки, которая впервые
разделяется на две части. Первая часть динамично восходит от передней
колесной арки и заканчивается на задней дверной ручке, свидетельствуя
о превосходной динамике нового BMW X4. Одновременно вторая часть
подчеркивает сильную форму заднего крыла. Это впечатление прекрасно
дополняют задние стойки, акцентирующие сильные „плечи“, а также
BMW
Информация
для прессы
03/2014
Страница 6

широкая, ровная задняя часть, которая уже в статике свидетельствует о
высоких возможностях нового BMW X4.
Спортивно-эксклюзивный салон.
Интерьер нового BMW X4 представляет собой гармоничный синтез
спортивности и эксклюзивности. По сравнению с BMW Х3 кузов на
36 миллиметров ниже. Водитель и передний пассажир сидят на
20 миллиметров ниже, а задние пассажиры – на 28 миллиметров ниже,
чем в BMW Х3, при этом они чувствуют себя, как в классическом
спортивном купе. Это ощущение усиливает заднее сидение, выполненное
в виде двух отдельных сидений, но в то же время предлагающее
достаточно места для 3 человек. Впечатляюще выглядит и объем для
перевозки багажа (500–1400 л), который при необходимости можно
увеличить, сложив спинку заднего сиденья, серийно разделенную в
пропорции 40:20:40. Входящий в базовую комплектацию автоматический
привод крышки багажника можно сделать еще более удобным, установив
систему бесконтактного открывания Smart Opener. Все BMW X4
комплектуются радиоприемником Professional с контроллером iDrive и
центральным дисплеем. Идеальную эргономику в новом BMW Х4 с
навигационной системой Professional обеспечивает, в частности,
сенсорная поверхность нового контроллера iDrive, распознающего
написанные пальцем буквы, например, для ввода пункта назначения в
навигационную систему.
Высокий уровень и эксклюзивность интерьера проявляются в
изысканных материалах, спокойных гальванических акцентах, глянцевом
дисплее в исполнении „Black Panel” в сочетании с климат-контролем и
алюминиевыми планками в деревянных декоративных панелях.
Уникальный характер BMW X4 дополнительно подчеркивает более
широкое по сравнению с BMW Х3 оснащение. Так, BMW Х4 уже в
базовой комплектации серийно комплектуется автоматическим приводом
крышки багажника, спортивным кожаным рулевым колесом с лепестками
переключения передач (кроме BMW Х4 xDrive20d с 6-ступенчатой
механической КПП), спортивным рулевым управлением с переменным
передаточным отношением, системой Performance Control и задними
датчиками сигнализации аварийного сближения при парковке.
Пакеты M Спорт и xLine для большей индивидуальности.
М Спорт пакет еще более впечатляющим образом подчеркивает
динамику BMW X4. Частью M Спорт пакета стал аэродинамический пакет
в M-стиле, придающий автомобилю эффектный вид. Дизайн „Глянцевый
черный BMW Individual“ еще сильнее акцентирует неповторимый
характер Sports Activity Coupé, а спортивная настройка подвески
BMW
Информация
для прессы
03/2014
Страница 7

увеличивает удовольствие от вождения. Шесть вариантов цвета кузова,
среди которых новый цвет „Красный Мельбурн металлик“, четыре
варианта специальных декоративных планок, спортивные сиденья с
различными вариантами кожано-тканевой и кожаной обивки, отделка
потолка BMW Individual цвета антрацит, рулевое колесо, накладки на
пороги и подставка для левой ноги в М-стиле, а также эксклюзивные 18-,
19- или даже 20-дюймовые легкосплавные диски в М-стиле завершают
премиальный образ автомобиля.
Типичный для BMW широкий выбор цветовых решений, легкосплавных
дисков, вариантов обивки и декоративных планок, предлагаемых в пакете
xLine, дает возможность покупателю BMW X4 придать своему
автомобилю семейства Х еще большую индивидуальность. На выбор
предлагаются два варианта эксклюзивных легкосплавных дисков
размером 18 или 19 дюймов, а также шесть вариантов кожаной и
тканевой обивки и два типа декоративных планок.
BMW
Информация
для прессы
03/2014
Страница 8

3.

Двигатель.
Максимальная мощность
и плавность работы для самых
высоких требований.

Двигатель первого представителя Sports Activity Coupé в премиумсегменте среднего класса подтверждает его ведущую роль. К моменту
начала продаж нового BMW X4 покупатели смогут выбрать между тремя
бензиновыми и тремя дизельными двигателями. Все они отвечают
нормам токсичности Евро-6 и гарантируют высший уровень
удовольствия от вождения. Мощность предлагаемых двигателей
находится в диапазоне от 135 кВт/184 л.с. до 230 кВт/313 л.с. Благодаря
уникальной технологии BMW TwinPower Turbo новый BMW X4 обладает
выдающимися ходовыми характеристиками при минимальном расходе
топлива и самом низком выбросе CO2.
Мощные и плавные в работе бензиновые двигатели.
Самые современные бензиновые двигатели нового BMW X4
оборудованы системой непосредственного высокоточного впрыска
топлива, системой регулировки распределительных валов Double-VANOS
и системой регулировки хода клапанов Valvetronic. Эти системы
гарантируют типичную для автомобилей BMW способность развивать
высокие обороты, а также обеспечивают уверенный набор мощности при
образцовой плавности в работе и высочайшей эффективности. Так,
бензиновые двигатели нового BMW X4 устанавливают новую планку
благодаря великолепной динамике, а также минимальным значениям
расхода топлива и выброса CO2. Водителям со спортивными амбициями
придется по вкусу BMW X4 xDrive35i. Его трехлитровый рядный
шестицилиндровый бензиновый двигатель достигает мощности
225 кВт/306 л.с. при 5800–6400 об/мин и максимального крутящего
момента 400 Нм при 1200–5000 об/мин. С этим двигателем X4 xDrive35i
разгоняется до 100 км/ч всего за 5,5 секунды и развивает максимальную
скорость 247 км/ч. Несмотря на отличные ходовые качества, X4 xDrive35i
расходует всего 8,3 литра бензина на 100 км, а выброс CO2 составляет
193 г/км. Впечатляющей напористостью отличается четырехцилиндровый
турбированный двигатель в BMW X4 xDrive28i мощностью 180 кВт/245 л.с.
(расход топлива в городе/за городом/в смешанном цикле: 9,3–8,7/6,3–
5,9/7,4–7,0 л/100 км; выброс CO2 в смешанном цикле: 172–162 г/км) с
восьмиступенчатой АКПП Steptronic и максимальным крутящим моментом
350 Нм. Разгон до 100 км/ч занимает 6,4 с. Двухлитровый бензиновый
двигатель BMW X4 xDrive20i (расход топлива в городе/за городом/в
BMW
Информация
для прессы
03/2014
Страница 9

смешанном цикле: 9,2–8,7*/6,3–5,9*/7,3–6,9* л/100 км; выброс CO2 в
смешанном цикле: 171–161* г/км) с восьмиступенчатой АКПП Steptronic
предлагает 135 кВт/184 л.с. при 5000–6250 об/мин и максимальный
крутящий момент 270 Нм при 1250–4500 об/мин. Таким образом, BMW X4
xDrive20i разгоняется до 100 км/ч за 8,1 с.
Мощные дизельные двигатели: с 0 до 100 км/ч за 5,2 секунды.
Наибольшую динамику обеспечивает BMW X4 xDrive35d. Его оптимально
сбалансированный трехлитровый дизельный двигатель мощностью
230 кВт/313 л.с. при 4400 об/мин достигает максимального крутящего
момента 630 Нм при 1500–2500 об/мин. С этим двигателем и серийной
системой Launch Control X4 xDrive35d разгоняется до 100 км/ч всего за
5,2 с и развивает максимальную скорость 247 км/ч. При такой
выдающейся мощности двигатель X4 xDrive35d расходует всего 6,0 литра
топлива на 100 км, а выброс CO2 составляет 157 г/км.
Усовершенствованный трехлитровый рядный шестицилиндровый
двигатель BMW X4 xDrive30d (расход топлива в городе/за городом/в
смешанном цикле: 6,6–6,2/5,7–5,4/6,1–5,7 л/100 км; выброс CO2 в
смешанном цикле: 159–149 г/км) демонстрирует такую же взрывную
динамику. Мощность 190 кВт/258 л.с. при 4000 об/мин и максимальный
крутящий момент 560 Нм при 1500–3000 об/мин позволяют достигать
скорости 100 км/ч за 5,8 с. Двухлитровый дизельный двигатель BMW X4
xDrive20d изготовлен полностью из алюминия и благодаря
непосредственному впрыску Common-Rail с электромагнитными
форсунками достигает давления впрыска 2000 бар. Этот современный
двигатель обладает мощностью 140 кВт/190 л.с. при 4000 об/мин и
максимальным крутящим моментом 400 Нм. До 100 км/ч BMW X4
xDrive20d разгоняется всего за 8,0 с. При комплектации восьмиступенчатой
АКПП Steptronic расход топлива составляет лишь 5,4–5,0* л/100 км, а
показатели выброса CO2 в размере всего 141–131* г/км являются
одними из лучших.
Интеллектуальный полный привод и восьмиступенчатая
спортивная АКПП Steptronic.
Все модели BMW X4 имеют спортивную настройку ходовой части и
оснащаются интеллектуальной системой полного привода xDrive с
серийной системой распределения крутящего момента Dynamic
Performance Control. С ее помощью крутящий момент двигателя плавно и
индивидуально распределяется между задними колесами, что
дополнительно увеличивает тягу и траекторную устойчивость.
* Указанные значения получены на автомобиле с шинами с оптимизированным сопротивлением качению на 17-дюймовых
легкосплавных дисках „Streamline“ стиля 306.
BMW
Информация
для прессы
03/2014
Страница 10

Благодаря системе спортивного рулевого управления с переменным
передаточным отношением BMW X4 обладает значительно более
спортивной по сравнению с BMW Х3 динамикой движения. Система
xDrive информирует водителя с помощью трехмерной графики на
контрольном дисплее о продольном и поперечном крене автомобиля. В
сочетании с навигационной системой все модели BMW X4 имеют
цифровой компас в комбинации приборов. Для BMW X4 xDrive20d
предлагается шестиступенчатая МКПП или восьмиступенчатая АКПП
Steptronic, в то время как BMW X4 xDrive20i комплектуется только
восьмиступенчатой АКПП Steptronic. Все остальные модели BMW X4
серийно оснащаются спортивной восьмиступенчатой АКПП Steptronic.
Все автоматические коробки позволяют переключать передачи
серийными лепестками на спортивном рулевом колесе.
BMW EfficientDynamics:
Снижение расхода топлива благодаря режиму ECO PRO и
функции движения накатом.
Еще большее снижение расхода топлива достигается благодаря
активируемому с помощью специального переключателя режиму
ECO PRO, маршрутной опции ECO PRO Route, а также функции движения
накатом восьмиступенчатой АКПП Steptronic. Дополнительное снижение
выбросов CO2 на 7 г/км предлагает четвертое поколение опциональных
шин с уменьшенным сопротивлением качению. Эти шины
устанавливаются на 17-дюймовые легкосплавные диски „Streamline“
стиля 306, доступные для некоторых моделей.
Проактивный помощник дает рекомендации в пути.
Дополнительные возможности экономии предлагает инновационный
проактивный помощник BMW, который заранее узнает с помощью
навигационной системы о местах, где нужно будет сбросить скорость
(въезды в населенные пункты и скоростные ограничения) и дает
соответствующие рекомендации водителю.
BMW
Информация
для прессы
03/2014
Страница 11

4.

BMW ConnectedDrive.
Интеллектуальные системы
помощи водителю и пакет
интеллектуальных сетевых
технологий.

Благодаря BMW ConnectedDrive компания BMW уже многие годы
сохраняет лидирующую позицию в области систем, обеспечивающих
контакт водителя с автомобилем и окружающим миром. Новый BMW X4
не стал исключением, подтверждая ведущее положение
BMW ConnectedDrive на рынке.
Системы помощи водителю, приложения и услуги.
Дополнительную безопасность и больше комфорта в новом BMW X4
обеспечивает предлагающийся в качестве опции полноцветный
проекционный дисплей BMW, выводящий с высокой степенью
разрешения всю важную информацию, а также сообщения систем
помощи водителю в его непосредственном поле зрения. Кроме того,
новейшее поколение навигационной системы Professional с маршрутной
функцией ECO PRO Route комбинируется теперь с сенсорным
контроллером iDrive, который позволяет вводить тексты – например, цель
поездки – в навигационную систему одним пальцем. Еще больше
безопасности и комфорта предлагают опциональные премиум-функции,
такие как неослепляющая система управления дальним светом и
ассистент вождения Plus с системой предупреждения о возможности
наезда на пешехода или столкновения и функцией торможения, активным
круиз-контролем с функцией Stop&Go и системой слежения за
разметкой. В качестве опции предлагаются система помощи при
перестроении, система кругового обзора, а также ассистент парковки,
который самостоятельно осуществляет параллельную парковку.
Опциональные услуги ConnectedDrive позволяют пользоваться такими
приложениями для смартфонов, как AUPEO! (персональное интернетрадио) или Deezer (музыкальный сервис), а также инновационными
мобильными услугами через установленную в автомобиле SIM-карту.
Консьерж-сервис установит соединение с колл-центром BMW и поможет
заказать столик в ресторане или указать путь к ближайшей дежурной
аптеке. В автомобиле можно с комфортом пользоваться также
дистанционными услугами (Remote Services) или системой
информирования о дорожной ситуации в реальном времени (RTTI).
Функция Online Entertainment открывает доступ к музыкальным услугам,
как rara или Napster с миллионами треков и аудиокниг. Интеллектуальный
экстренный вызов гарантирует повышенную безопасность. Его можно
совершить также вручную, а работает он в полностью автоматическом
BMW
Информация
для прессы
03/2014
Страница 12

режиме. Как только аварийные датчики сообщают о срабатывании
подушек безопасности, он через установленную в автомобиле SIM-карту
направляет координаты автомобиля с точностью до метра и другую
необходимую информацию в колл-центр BMW и гарантирует таким
образом скорую и эффективную помощь на месте аварии. В 2015 году
автоматический экстренный вызов должен стать обязательной системой
для новых автомобилей, выпущенных в ЕС. А компания BMW уже сейчас
в рамках BMW ConnectedDrive предлагает в базовой комплектации для
BMW Х4 систему интеллектуального экстренного вызова, которая
значительно превосходит законодательные требования 2015 года.
BMW
Информация
для прессы
03/2014
Страница 13

5.

Технические характеристики.
Новый BMW X4.
xDrive20i, xDrive28i, xDrive35i.

BMW X4 xDrive20i
Кузов
Количество дверей/мест
Длина/Ширина/Высота
(в ненагруженном состоянии)
Колесная база
Колея спереди/сзади
Дорожный просвет
Диаметр разворота
Емкость топливного бака
Система охлаждения вкл.
отопитель
Моторное масло1)
Собственная масса по
DIN/EU
Полезная нагрузка по DIN
Доп. общая масса
Доп. осевая нагрузка
спереди /сзади
Доп. масса буксируемого
груза (12 %) прицеп с
тормозами/без тормозов
Доп. нагрузка на крышу/
Доп. нагрузка на тяговосцепное устройство
Объем багажника
Коэффициент
аэродинамического
сопротивления

BMW X4 xDrive28i

BMW X4 xDrive35i

5/5
4671/1881/1624

5/5
4671/1881/1624

5/5
4671/1881/1624

м
ок. л
л

2810
1616/1632
204
11,9
67
7,5

2810
1616/1632
204
11,9
67
7,5

2810
1616/1632
204
11,9
67
9,6

л
кг

5,75
1735/1810

5,75
1770/1845

6,5
1815/1890

кг
кг
кг

590
2325
1085/1320

590
2360
1120/1320

590
2405
1140/1330

кг

2400/750

2400/750

2400/750

кг

100/100

100/100

100/100

l
cX x A

500-1400
0,33 x 2,57

500-1400
0,34 x 2,57

500-1400
0,34 x 2,57

R/4/4

R/4/4

R/6/4

мм
мм
мм

Двигатель
Конструкция/Кол-во
цилиндров/клапанов
Технология двигателя
Рабочий объем
Ход поршня/Диаметр
цилиндра
Степень сжатия
Топливо
Мощность
при частоте вращения
Крутящий момент
при частоте вращения
Электрика
Батарея/Место установки
Генератор

см³
мм
:1
кВт/л.с.
об/мин
Нм
об/мин

Ah/–
A/W

Технология BMW TwinPower Turbo: турбонагнетатель Twin Scroll,
высокоточный непосредственный впрыск
1997
1997
2979
90,1/84,0
90,1/84,0
89,6/84,0
10,0
мин. ROZ 91
135/184
5000–6250
270
1250–4500

10,0
мин. ROZ 91
180/245
5000–6500
350
1250–4800

10,2
мин. ROZ 91
225/306
5800–6400
400
1200–5000

90/багажник

90/багажник

90/багажник

3)

3)

3)

Динамика движения и безопасность
Передняя подвеска
Стальная двухшарнирная передняя подвеска с тяговыми растяжками
облегченной конструкции
Задняя подвеска
Стальная пятирычажная подвеска облегченной конструкции
Тормозная система спереди
Дисковые тормоза с однопоршневыми плавающими суппортами,
с вентилируемыми дисками
Тормозная система сзади
Дисковые тормоза с однопоршневыми плавающими суппортами,
с вентилируемыми дисками
Системы стабилизации
В базовой комплектации: DSC вкл. ABS и DTC (Dynamische Traktions
Control), система контроля торможения в повороте CBC, система
динамического контроля торможения DBC, функция просушки тормозов,
система компенсации потери эффективности тормозов при перегреве,
система помощи при трогании с места; DSC с полным приводом xDrive с
сетевым объединением, система помощи при спуске HDC, система
Performance Control, опция: система динамической регулировки жесткости
амортизаторов (VDC)
BMW
Информация
для прессы
03/2014
Страница 14
BMW X4 xDrive20i
Системы обеспечения
безопасности

Рулевое управление
Общее передаточное
отношение рулевого
управления
Шины спереди/сзади
Диски спереди/сзади
Коробка передач
Вид коробки передач
Передаточное отношение I
II
III
IV
V
VI
VII
VIII
R
Передаточное отношение
главной передачи на задней
оси
Ходовые качества
Удельная масса (DIN)
Литровая мощность
Разгон
0–100 км/ч
0–1000 м
на 4/5 передаче 80–120 км/ч
Максимальная скорость
BMW EfficientDynamics
BMW EfficientDynamics
в базовой комплектации

BMW X4 xDrive28i

BMW X4 xDrive35i

В базовой комплектации: подушки безопасности для водителя и переднего
пассажира, боковые подушки безопасности для водителя и переднего
пассажира, подушки для защиты головы спереди и сзади, трехточечные
инерционные ремни безопасности для всех сидений, спереди со стопором
ремня, преднатяжителем ремня и ограничителем натяжения ремня
безопасности.
Реечное рулевое управление с электроусилителем (EPS)
:1
16,4
16,4
16,4

225/60 R17 99V
7,5J x 17 LM

:1
:1
:1
:1
:1
:1
:1
:1
:1
:1

кг/кВт
кВт/л
с
с
с
км/ч

225/60 R17 99V
7,5J x 17 LM

245/50 R18 100W
8,0J x 18 LM

8-ступенчатая АКПП Steptronic
4,714
4,714
3,143
3,143
2,106
2,106
1,667
1,667
1,285
1,285
1,000
1,000
0,839
0,839
0,667
0,667
3,295
3,295
3,385
3,385

4,714
3,143
2,106
1,667
1,285
1,000
0,839
0,667
3,295
3,385

12,9
67,6
8,1

9,8
90,1
6,4

8,1
75,5
5,5

(–)
212

(–)
232

(–)
247

3)

3)

3)

Рекуперация энергии торможения, реечное рулевое управление с
электроусилителем, функция Auto Start Stop, индикатор моментов
переключения передач (МКПП), режим ECO PRO, рационально облегченная
конструкция, управляемые по потребности вспомогательные агрегаты,
масляный насос с электронным управлением, главная передача на задней
оси с оптимизированными характеристиками прогрева, шины с пониженным
сопротивлением качению

Расход топлива в цикле ЕСE2)
С шинами в базовой комплектации
в городе
л/100 км
9,0
9,1
10,7
за городом
л/100 км
6,1
6,2
6,9
в смешанном цикле
л/100 км
7,2
7,3
8,3
выбросы CO2
г/км
168
169
193
С опциональными шинами с оптимизированным сопротивлением качению на 17-дюймовых дисках Streamline 306
4)
в городе
л/100 км
8,7
8,7
4)
за городом
л/100 км
5,9
5,9
4)
в смешанном цикле
л/100 км
6,9
7,0
4)
выбросы CO2
г/км
161
162
С опциональными 20-дюймовыми шинами
в городе
л/100 км
9,2
9,3
10,7
за городом
л/100 км
6,3
6,3
6,9
в смешанном цикле
л/100 км
7,4
7,4
8,3
выбросы CO2
г/км
171
172
193
Классификация по
Евро-6
Евро-6
Евро-6
токсичности выбросов
Технические характеристики действительны для рынков Ассоциации европейских автопроизводителей/Важные для регистрации
автомобилей данные приведены частично только для Германии (массы).
Указанные в скобках значения действительны для АКПП
1)

Количество масла для замены
Значения расхода топлива и выбросов CO2 зависят от выбранного размера шин
Данные пока отсутствуют
4)
Опциональные шины с пониженным сопротивлением качению для xDrive35d и xDrive35i не предлагаются.
2)
3)
BMW
Информация
для прессы
03/2014
Страница 15

Новый BMW X4.
xDrive20d, xDrive30d, xDrive35d.

BMW X4 xDrive20d
Кузов
Количество дверей/мест
Длина/Ширина/Высота
(в ненагруженном состоянии)
Колесная база
Колея спереди /сзади
Дорожный просвет
Диаметр разворота
Емкость топливного бака
Система охлаждения вкл.
отопитель
Моторное масло1)
Собственная масса по
DIN/EU
Полезная нагрузка по DIN
Доп. общая масса
Доп. осевая нагрузка
спереди /сзади
Доп. масса буксируемого
груза (12 %) прицеп с
тормозами/без тормозов
Доп. нагрузка на крышу/
Доп. нагрузка на тяговосцепное устройство
Объем багажника
Коэффициент
аэродинамического
сопротивления

мм
мм
мм
м
ок. л
л
л
кг
кг
кг
кг
кг

Электрика
Батарея/Место установки
Генератор

BMW X4 xDrive35d

5/5
4671/1881/1624

5/5
4671/1881/1624

5/5
4671/1881/1624

2810
1616/1632
204
11,9
67

2810
1616/1632
204
11,9
67
10,0

2810
1616/1632
204
11,9
67
10,0

3)

7,2
1820/1895

7,2
1860/1935

590
2410
1145/1330

580
2440
1180/1330

2400/750

2400/750

3)

1730/1805
(1745/1820)
590
2320 (2335)
1070/1320
(1085/1330)
2000/750
(2400/750)

кг

100/100

100/100

100/100

л
cX x A

500-1400
0,33 x 2,57

500-1400
0,34 x 2,57

500-1400
0,35 x 2,57

R/4/4

R/6/4

R/6/4

Двигатель
Конструкция/Кол-во
цилиндров/клапанов
Технология двигателя
Рабочий объем
Ход поршня/Диаметр
цилиндра
Степень сжатия
Топливо
Мощность
при частоте вращения
Крутящий момент
при частоте вращения

BMW X4 xDrive30d

см³
мм
:л
кВт/л.с.
об/мин
Нм
об/мин

Ah/–
A/W

Технология BMW TwinPower Turbo: турбонагнетатель с изменяемой
геометрией турбины, непосредственный впрыск Common-Rail
1995
2993
2993
90,0/84,0
90,0/84,0
90,0/84,0
16,5
Дизельное
140/190
4000
400

16,5
Дизельное
190/258
4000
560
1500–3000

16,5
Дизельное
230/313
4400
630
1500–2500

90/ багажник

90/ багажник

90/ багажник

3)

3)

3)

3)

Динамика движения и безопасность
Передняя подвеска
Стальная двухшарнирная передняя подвеска с тяговыми растяжками
облегченной конструкции
Задняя подвеска
Стальная пятирычажная подвеска облегченной конструкции
Тормозная система спереди
Дисковые тормоза с однопоршневыми плавающими суппортами,
с вентилируемыми дисками
Тормозная система сзади
Дисковые тормоза с однопоршневыми плавающими суппортами,
с вентилируемыми дисками
Системы стабилизации
В базовой комплектации: DSC, вкл. ABS и DTC (Dynamische Traktions
Control), система контроля торможения в повороте CBC, система
динамического контроля торможения DBC, функция просушки тормозов,
система компенсации потери эффективности тормозов при перегреве,
система помощи при трогании с места; DSC, объединенная в сеть с полным
приводом xDrive, система помощи при спуске HDC, система Performance
Control, опция: система динамической регулировки жесткости
амортизаторов (VDC)
BMW
Информация
для прессы
03/2014
Страница 16
BMW X4 xDrive20d
Системы обеспечения
безопасности

Рулевое управление
Общее передаточное
отношение рулевого
управления
Шины спереди /сзади
Диски спереди / сзади

Ходовые качества
Удельная масса (DIN)
Литровая мощность
Разгон
0–100 км/ч
0–1000 м
на 4/5 передаче 80–120 км/ч
Максимальная скорость
BMW EfficientDynamics
BMW EfficientDynamics в
базовой комплектации

BMW X4 xDrive35d

В базовой комплектации: подушки безопасности для водителя и переднего
пассажира, боковые подушки безопасности для водителя и переднего
пассажира, подушки для защиты головы спереди и сзади, трехточечные
инерционные ремни безопасности для всех сидений, спереди со стопором
ремня, преднатяжителем ремня и ограничителем натяжения ремня
безопасности
Реечное рулевое управление с электроусилителем (EPS)
:1
16,4
16,4
16,4

225/60 R17 99V
7,5J x 17 LM

Коробка передач
Вид коробки передач

Передаточное отношение I
II
III
IV
V
VI
VII
VIII
R
Передаточное отношение
главной передачи на задней
оси

BMW X4 xDrive30d

:1
:1
:1
:1
:1
:1
:1
:1
:1
:1

кг/кВт
кВт/л
с
с
с
км/ч

6-ступенчатая МКПП
(опция: 8-ступенчатая
АКПП Steptronic)
4,110 (4,714)
2,248 (3,143)
1,403 (2,106)
1,000 (1,667)
0,802 (1,285)
0,659 (1,000)
--- (0,839)
--- (0,667)
3,727 (3,295)
3,727 (3,077)

12,4 (12,5)
70,2
8,0 (8,0)

3)

3)

/8,8 (–)
212 (212)

225/60 R17 99V
7,5J x 17 LM

245/50 R18 100W
8,0J x 18 LM

8-ступенчатая АКПП Steptronic

4,714
3,143
2,106
1,667
1,285
1,000
0,839
0,667
3,317
2,813

4,714
3,143
2,106
1,667
1,285
1,000
0,839
0,667
3,317
2,813

9,6
63,5
5,8

8,1
76,8
5,2

(–)
234

(–)
247

3)

3)

Рекуперация энергии торможения, реечное рулевое управление с
электроусилителем, функция Auto Start Stop, индикатор моментов
переключения передач (МКПП), режим ECO PRO, рационально облегченная
конструкция, управляемые по потребности вспомогательные агрегаты,
масляный насос с электронным управлением, главная передача на задней
оси с оптимизированными характеристиками прогрева, шины с пониженным
сопротивлением качению

Расход топлива в цикле ЕСE2)
С шинами в базовой комплектации
в городе
л/100 км
6,2 (5,7)
6,5
6,7
за городом
л/100 км
5,0 (5,0)
5,6
5,5
в смешанном цикле
л/100 км
5,4 (5,2)
5,9
6,0
выбросы CO2
г/км
143 (138)
156
157
С опциональными шинами с оптимизированным сопротивлением качению на 17-дюймовых дисках Streamline 306
4)
в городе
л/100 км
5,9 (5,4)
6,2
4)
за городом
л/100 км
4,7 (4,8)
5,4
4)
в смешанном цикле
л/100 км
5,2 (5,0)
5,7
4)
выбросы CO2
г/км
136 (131)
149
С опциональными 20-дюймовыми шинами
в городе
л/100 км
6,3 (5,8)
6,6
6,7
за городом
л/100 км
5,1 (5,1)
5,7
5,5
в смешанном цикле
л/100 км
5,6 (5,4)
6,2
6,0
выбросы CO2
г/км
146 (141)
159
157
Классификация по
Евро-6
Евро-6
Евро-6
токсичности выбросов
Технические характеристики действительны для рынков Ассоциации европейских автопроизводителей/Важные для регистрации
автомобилей данные приведены частично только для Германии (массы).
Указанные в скобках значения действительны для АКПП
1)

Количество масла для замены
Значения расхода топлива и выбросов CO2 зависят от выбранного размера шин
Данные пока отсутствуют
4)
Опциональные шины с пониженным сопротивлением качению для xDrive35d и xDrive35i не предлагаются.
2)
3)
BMW
Информация
для прессы
03/2014
Страница 17

6.

Диаграммы мощности и крутящего
момента.
Новый BMW X4.
xDrive20i.
BMW
Информация
для прессы
03/2014
Страница 18

Новый BMW X4.
xDrive28i.
BMW
Информация
для прессы
03/2014
Страница 19

Новый BMW X4.
xDrive35i.
BMW
Информация
для прессы
03/2014
Страница 20

Новый BMW X4.
xDrive20d.

овый BMW X4.
xDrive20d.
BMW
Информация
для прессы
03/2014
Страница 21

Новый BMW X4.
xDrive30d.
BMW
Информация
для прессы
03/2014
Страница 22

Новый BMW X4.
xDrive35d.
BMW
Информация
для прессы
03/2014
Страница 23

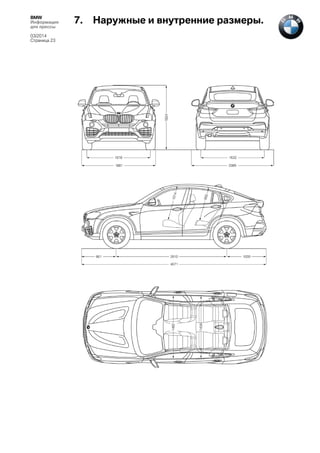
7.

Наружные и внутренние размеры.

Bmw x4 ru

  • 1.
    BMW Информация для прессы 03/2014 Страница 1 Сильныйхарактер: новый BMW X4. Содержание. 1. Новый BMW X4. Краткое изложение. ................................................................................................... 2 2. Дизайн и функциональность. Новые масштабы образцовой динамики. ......................................................... 5 3. Двигатель. Максимальная мощность и плавность работы для самых высоких требований. .................................................................................................................... 8 4. BMW ConnectedDrive. Интеллектуальные системы помощи водителю и пакет интеллектуальных сетевых технологий. .......................................................... 11 5. Технические характеристики. ..................................................................... 13 6. Диаграммы мощности и крутящего момента. ................................... 17 7. Наружные и внутренние размеры. .......................................................... 23
  • 2.
    BMW Информация для прессы 03/2014 Страница 2 1. НовыйBMW X4. Краткое изложение. Новый BMW X4 (расход топлива в смешанном цикле: 8,3–5,0* л/100 км; выброс CO2 в смешанном цикле: 193–131* г/км), соединяет в себе типичные черты успешного семейства BMW X со спортивной элегантностью классического купе. Эту уникальную концепцию Sports Activity Coupé компания BMW переносит вместе с BMW Х4 в премиумсегмент среднего класса. Его спортивность подчеркивается широким выбором современных высокомощных двигателей, полным приводом xDrive и эксклюзивным серийным оснащением, среди которого, например, спортивное рулевое управление с переменным передаточным отношением, система Performance Control и спортивное кожаное рулевое колесо с лепестками переключения передач. Энергичный и динамичный внешний вид. Новый BMW X4, техническую основу которого составляет BMW X3, отличается особым уникальным спортивным характером и значительно более высокой динамикой. Об этом свидетельствует уже его передняя часть. Благодаря разнесенным по краям кузова большим воздухозаборникам и характерным линиям переднего бампера BMW X4 с типичными для марки сдвоенными основными и противотуманными фарами (в качестве опции все они предлагаются в светодиодном исполнении) не останется незамеченным на дороге. Линия крыши, высшая точка которой располагается над водителем, плавно опускается до конца крышки багажника, повторяя форму классического спортивного купе. Характерная выштамповка BMW в новом X4 впервые разделяется на две части. Первая часть динамично восходит от передней колесной арки и заканчивается на задней дверной ручке, в то время как вторая часть подчеркивает сильную форму заднего крыла. Задняя часть с L-образными светодиодными фонарями в эксклюзивном дизайне X4 и имитация диффузора уже в статике демонстрируют выдающуюся динамичность нового BMW X4. По сравнению с BMW X3 передние сиденья установлены на 20 миллиметров ниже. Это, а также заднее сиденье, отформованное под два отдельных места, подчеркивает характерные для купе особенности нового BMW X4 в высококачественном и эксклюзивном интерьере. * Указанные значения получены на автомобиле с шинами с оптимизированным сопротивлением качению на 17-дюймовых легкосплавных дисках „Streamline“ стиля 306.
  • 3.
    BMW Информация для прессы 03/2014 Страница 3 ОдновременноX4 предлагает достаточно места в салоне для пяти человек и высокую вариативность благодаря спинке заднего сиденья, серийно разделенной в пропорции 40:20:40. Максимальная мощность и высочайшая плавность работы. Компания BMW в соответствии с темпераментным характером нового BMW X4 предлагает для него три бензиновых и три дизельных двигателя семейства BMW EfficientDynamics мощностью от 135 кВт/184 л.с. до 230 кВт/313 л.с., отвечающих требованиям стандарта Евро-6. Технология BMW TwinPower Turbo, применяемая в современных двигателях, гарантирует высокую мощность при низком потреблении топлива. Топовый бензиновый двигатель BMW X4 xDrive35i (расход топлива в городе/за городом/в смешанном цикле: 10,7/6,9/8,3 л/100 км; выброс CO2 в смешанном цикле: 193 г/км) демонстрирует выдающуюся мощность 225 кВт/306 л.с. и максимальный крутящий момент 400 Нм. На спринт до 100 км/ч BMW X4 xDrive35i требуется 5,5 секунды. Такой же уверенный набор мощности и низкий выброс CO2 отличают двигатель BMW X4 xDrive35d (расход топлива в городе/за городом/в смешанном цикле: 6,7/5,5/6,0 л/100 км; выброс CO2 в смешанном цикле: 157 г/км). Этот трехлитровый рядный шестицилиндровый двигатель развивает мощность 230 кВт/313 л.с. и максимальный крутящий момент 630 Нм. BMW X4 35d разгоняется до 100 км/ч за 5,2 секунды. Лучшие показатели расхода топлива и выброса CO2 предлагает новое поколение двухлитрового дизеля в BMW X4 xDrive20d (расход топлива в городе/за городом/в смешанном цикле: 5,8–5,4*/5,1–4,8*/5,4–5,0* л/100 км; выброс CO2 в смешанном цикле: 141–131* г/км) с восьмиступенчатой АКПП Steptronic. Мощность этого четырехцилиндрового двигателя составляет 140 кВт/190 л.с., а максимальный крутящий момент – 400 Нм. BMW EfficientDynamics: удовольствие от вождения и низкий расход топлива. Для достижения таких прекрасных значений расхода топлива и токсичности ОГ в новом BMW X4 используется уникальный технологический пакет BMW EfficientDynamics. В него включены среди прочего функция Auto Start Stop и функция движения накатом (на автомобилях с восьмиступенчатой АКПП Steptronic), рекуперация энергии торможения, а также управляемые по потребности вспомогательные агрегаты. Тем самым обеспечивается высокая экологичность и настоящее удовольствие от вождения. Свой вклад также вносят устанавливаемые по желанию шины с уменьшенным сопротивлением качению четвертого поколения, благодаря которым выброс CO2 отдельных двигателей BMW X4 снижается еще на 7 г/км. * Указанные значения получены на автомобиле с шинами с оптимизированным сопротивлением качению на 17-дюймовых легкосплавных дисках „Streamline“ стиля 306.
  • 4.
    BMW Информация для прессы 03/2014 Страница 4 BMWConnectedDrive: услуги, приложения и системы помощи водителю. Благодаря использованию технологии BMW ConnectedDrive новый BMW X4 сохраняет лидирующую позицию в области систем, обеспечивающих контакт водителя с автомобилем и окружающим миром. К особенностям нового BMW X4 относятся также полноцветный проекционный дисплей BMW, неослепляющая система управления дальним светом и система Ассистент вождения Plus с функцией слежения за разметкой, активным круиз-контролем с функцией Stop&Go и системой превентивной защиты пешеходов, а также системой предупреждения о наезде, которая при необходимости может затормозить автомобиль до полной остановки. Кроме того объем опциональных услуг BMW ConnectedDrive может быть по желанию расширен такими инновационными системами, как система информирования о дорожной ситуации в режиме реального времени (RTTI), консьерж-сервис или система дистанционного управления Remote Service. Социальные сети Facebook и Twitter, интернет-радио AUPEO! и музыкальные сервисы, такие как Napster и Deezer, доступны в новом BMW X4 в переработанном, удобном для использования виде. Дополнительную информацию о заявленном расходе топлива, а также официальные данные по выбросу CO2 и потреблению электроэнергии нового автомобиля Вы можете найти в „Руководстве по уменьшению потребления топлива, выбросов CO2 и потребления энергии у новых легковых автомобилей (Leitfaden über Kraftstoffverbrauch, die CO2-Emissionen und den Stromverbrauch neuer Personenkraftwagen)“, доступном во всех торговых точках, в компании „Deutsche Automobil Treuhand GmbH (DAT) “, Хельмут-Хирт-Штрассе 1, 73760 Остфильдерн-Шарнхаузен, а также по ссылке http://www.dat.de/angebote/verlagsprodukte/leitfaden-kraftstoffverbrauch.html под названием LeitfadenCO2 (Документ PDF ‒ 2,7 Мб).
  • 5.
    BMW Информация для прессы 03/2014 Страница 5 2. Дизайни функциональность. Новые масштабы образцовой динамики. Новый BMW X4 стал первым представителем Sports Activity Coupé в премиумном сегменте автомобилей среднего класса. Как и успешный на рынке и по-прежнему неповторимый BMW X6, который купили уже 250 000 человек, новый X4 не останется незамеченным на дороге. Его внешний вид представляет собой превосходную комбинацию сильных черт Sports Activity Vehicle (SAV) и спортивной элегантности классического купе. Уникальное воплощение удовольствия от вождения. Новый BMW X4, техническую основу которого составляет BMW X3, с первого взгляда четко проявляет свою динамичную индивидуальность и темпераментный характер. При длине 4671 миллиметров он всего на 14 миллиметров длиннее BMW X3, но при этом на 36 миллиметров ниже (высота – 1624 мм). Этот автомобиль впечатляет идеально сбалансированными пропорциями и индивидуальными особенностями. Благодаря разнесенным по краям кузова большим воздухозаборникам и характерным линиям переднего бампера BMX X4 выглядит сильным и маневренным. В то же время визуальный центр тяжести смещается ближе к дороге и подчеркивает возросшую динамику движения. Дополнительно это подчеркивают противотуманные фары, расположенные под классическими двойными основными фарами – все фары в качестве опции доступны в светодиодном исполнении. Такое расположение создает характерный „трехглазый облик“, свойственный автомобилям серии BMW X. Наивысшая точка элегантной, изогнутой как у купе крыши находится над передними сиденьями, подчеркивая типичную для BMW ориентированность на водителя, и плавно опускается в направлении спойлерной кромки на крышке багажника. Этот вытянутый контур свидетельствует о родстве BMW X4 с классическими спортивными купе. Неповторимый внешний вид BMW X4 дополнительно характеризует новая интерпретация характерной выштамповки, которая впервые разделяется на две части. Первая часть динамично восходит от передней колесной арки и заканчивается на задней дверной ручке, свидетельствуя о превосходной динамике нового BMW X4. Одновременно вторая часть подчеркивает сильную форму заднего крыла. Это впечатление прекрасно дополняют задние стойки, акцентирующие сильные „плечи“, а также
  • 6.
    BMW Информация для прессы 03/2014 Страница 6 широкая,ровная задняя часть, которая уже в статике свидетельствует о высоких возможностях нового BMW X4. Спортивно-эксклюзивный салон. Интерьер нового BMW X4 представляет собой гармоничный синтез спортивности и эксклюзивности. По сравнению с BMW Х3 кузов на 36 миллиметров ниже. Водитель и передний пассажир сидят на 20 миллиметров ниже, а задние пассажиры – на 28 миллиметров ниже, чем в BMW Х3, при этом они чувствуют себя, как в классическом спортивном купе. Это ощущение усиливает заднее сидение, выполненное в виде двух отдельных сидений, но в то же время предлагающее достаточно места для 3 человек. Впечатляюще выглядит и объем для перевозки багажа (500–1400 л), который при необходимости можно увеличить, сложив спинку заднего сиденья, серийно разделенную в пропорции 40:20:40. Входящий в базовую комплектацию автоматический привод крышки багажника можно сделать еще более удобным, установив систему бесконтактного открывания Smart Opener. Все BMW X4 комплектуются радиоприемником Professional с контроллером iDrive и центральным дисплеем. Идеальную эргономику в новом BMW Х4 с навигационной системой Professional обеспечивает, в частности, сенсорная поверхность нового контроллера iDrive, распознающего написанные пальцем буквы, например, для ввода пункта назначения в навигационную систему. Высокий уровень и эксклюзивность интерьера проявляются в изысканных материалах, спокойных гальванических акцентах, глянцевом дисплее в исполнении „Black Panel” в сочетании с климат-контролем и алюминиевыми планками в деревянных декоративных панелях. Уникальный характер BMW X4 дополнительно подчеркивает более широкое по сравнению с BMW Х3 оснащение. Так, BMW Х4 уже в базовой комплектации серийно комплектуется автоматическим приводом крышки багажника, спортивным кожаным рулевым колесом с лепестками переключения передач (кроме BMW Х4 xDrive20d с 6-ступенчатой механической КПП), спортивным рулевым управлением с переменным передаточным отношением, системой Performance Control и задними датчиками сигнализации аварийного сближения при парковке. Пакеты M Спорт и xLine для большей индивидуальности. М Спорт пакет еще более впечатляющим образом подчеркивает динамику BMW X4. Частью M Спорт пакета стал аэродинамический пакет в M-стиле, придающий автомобилю эффектный вид. Дизайн „Глянцевый черный BMW Individual“ еще сильнее акцентирует неповторимый характер Sports Activity Coupé, а спортивная настройка подвески
  • 7.
    BMW Информация для прессы 03/2014 Страница 7 увеличиваетудовольствие от вождения. Шесть вариантов цвета кузова, среди которых новый цвет „Красный Мельбурн металлик“, четыре варианта специальных декоративных планок, спортивные сиденья с различными вариантами кожано-тканевой и кожаной обивки, отделка потолка BMW Individual цвета антрацит, рулевое колесо, накладки на пороги и подставка для левой ноги в М-стиле, а также эксклюзивные 18-, 19- или даже 20-дюймовые легкосплавные диски в М-стиле завершают премиальный образ автомобиля. Типичный для BMW широкий выбор цветовых решений, легкосплавных дисков, вариантов обивки и декоративных планок, предлагаемых в пакете xLine, дает возможность покупателю BMW X4 придать своему автомобилю семейства Х еще большую индивидуальность. На выбор предлагаются два варианта эксклюзивных легкосплавных дисков размером 18 или 19 дюймов, а также шесть вариантов кожаной и тканевой обивки и два типа декоративных планок.
  • 8.
    BMW Информация для прессы 03/2014 Страница 8 3. Двигатель. Максимальнаямощность и плавность работы для самых высоких требований. Двигатель первого представителя Sports Activity Coupé в премиумсегменте среднего класса подтверждает его ведущую роль. К моменту начала продаж нового BMW X4 покупатели смогут выбрать между тремя бензиновыми и тремя дизельными двигателями. Все они отвечают нормам токсичности Евро-6 и гарантируют высший уровень удовольствия от вождения. Мощность предлагаемых двигателей находится в диапазоне от 135 кВт/184 л.с. до 230 кВт/313 л.с. Благодаря уникальной технологии BMW TwinPower Turbo новый BMW X4 обладает выдающимися ходовыми характеристиками при минимальном расходе топлива и самом низком выбросе CO2. Мощные и плавные в работе бензиновые двигатели. Самые современные бензиновые двигатели нового BMW X4 оборудованы системой непосредственного высокоточного впрыска топлива, системой регулировки распределительных валов Double-VANOS и системой регулировки хода клапанов Valvetronic. Эти системы гарантируют типичную для автомобилей BMW способность развивать высокие обороты, а также обеспечивают уверенный набор мощности при образцовой плавности в работе и высочайшей эффективности. Так, бензиновые двигатели нового BMW X4 устанавливают новую планку благодаря великолепной динамике, а также минимальным значениям расхода топлива и выброса CO2. Водителям со спортивными амбициями придется по вкусу BMW X4 xDrive35i. Его трехлитровый рядный шестицилиндровый бензиновый двигатель достигает мощности 225 кВт/306 л.с. при 5800–6400 об/мин и максимального крутящего момента 400 Нм при 1200–5000 об/мин. С этим двигателем X4 xDrive35i разгоняется до 100 км/ч всего за 5,5 секунды и развивает максимальную скорость 247 км/ч. Несмотря на отличные ходовые качества, X4 xDrive35i расходует всего 8,3 литра бензина на 100 км, а выброс CO2 составляет 193 г/км. Впечатляющей напористостью отличается четырехцилиндровый турбированный двигатель в BMW X4 xDrive28i мощностью 180 кВт/245 л.с. (расход топлива в городе/за городом/в смешанном цикле: 9,3–8,7/6,3– 5,9/7,4–7,0 л/100 км; выброс CO2 в смешанном цикле: 172–162 г/км) с восьмиступенчатой АКПП Steptronic и максимальным крутящим моментом 350 Нм. Разгон до 100 км/ч занимает 6,4 с. Двухлитровый бензиновый двигатель BMW X4 xDrive20i (расход топлива в городе/за городом/в
  • 9.
    BMW Информация для прессы 03/2014 Страница 9 смешанномцикле: 9,2–8,7*/6,3–5,9*/7,3–6,9* л/100 км; выброс CO2 в смешанном цикле: 171–161* г/км) с восьмиступенчатой АКПП Steptronic предлагает 135 кВт/184 л.с. при 5000–6250 об/мин и максимальный крутящий момент 270 Нм при 1250–4500 об/мин. Таким образом, BMW X4 xDrive20i разгоняется до 100 км/ч за 8,1 с. Мощные дизельные двигатели: с 0 до 100 км/ч за 5,2 секунды. Наибольшую динамику обеспечивает BMW X4 xDrive35d. Его оптимально сбалансированный трехлитровый дизельный двигатель мощностью 230 кВт/313 л.с. при 4400 об/мин достигает максимального крутящего момента 630 Нм при 1500–2500 об/мин. С этим двигателем и серийной системой Launch Control X4 xDrive35d разгоняется до 100 км/ч всего за 5,2 с и развивает максимальную скорость 247 км/ч. При такой выдающейся мощности двигатель X4 xDrive35d расходует всего 6,0 литра топлива на 100 км, а выброс CO2 составляет 157 г/км. Усовершенствованный трехлитровый рядный шестицилиндровый двигатель BMW X4 xDrive30d (расход топлива в городе/за городом/в смешанном цикле: 6,6–6,2/5,7–5,4/6,1–5,7 л/100 км; выброс CO2 в смешанном цикле: 159–149 г/км) демонстрирует такую же взрывную динамику. Мощность 190 кВт/258 л.с. при 4000 об/мин и максимальный крутящий момент 560 Нм при 1500–3000 об/мин позволяют достигать скорости 100 км/ч за 5,8 с. Двухлитровый дизельный двигатель BMW X4 xDrive20d изготовлен полностью из алюминия и благодаря непосредственному впрыску Common-Rail с электромагнитными форсунками достигает давления впрыска 2000 бар. Этот современный двигатель обладает мощностью 140 кВт/190 л.с. при 4000 об/мин и максимальным крутящим моментом 400 Нм. До 100 км/ч BMW X4 xDrive20d разгоняется всего за 8,0 с. При комплектации восьмиступенчатой АКПП Steptronic расход топлива составляет лишь 5,4–5,0* л/100 км, а показатели выброса CO2 в размере всего 141–131* г/км являются одними из лучших. Интеллектуальный полный привод и восьмиступенчатая спортивная АКПП Steptronic. Все модели BMW X4 имеют спортивную настройку ходовой части и оснащаются интеллектуальной системой полного привода xDrive с серийной системой распределения крутящего момента Dynamic Performance Control. С ее помощью крутящий момент двигателя плавно и индивидуально распределяется между задними колесами, что дополнительно увеличивает тягу и траекторную устойчивость. * Указанные значения получены на автомобиле с шинами с оптимизированным сопротивлением качению на 17-дюймовых легкосплавных дисках „Streamline“ стиля 306.
  • 10.
    BMW Информация для прессы 03/2014 Страница 10 Благодарясистеме спортивного рулевого управления с переменным передаточным отношением BMW X4 обладает значительно более спортивной по сравнению с BMW Х3 динамикой движения. Система xDrive информирует водителя с помощью трехмерной графики на контрольном дисплее о продольном и поперечном крене автомобиля. В сочетании с навигационной системой все модели BMW X4 имеют цифровой компас в комбинации приборов. Для BMW X4 xDrive20d предлагается шестиступенчатая МКПП или восьмиступенчатая АКПП Steptronic, в то время как BMW X4 xDrive20i комплектуется только восьмиступенчатой АКПП Steptronic. Все остальные модели BMW X4 серийно оснащаются спортивной восьмиступенчатой АКПП Steptronic. Все автоматические коробки позволяют переключать передачи серийными лепестками на спортивном рулевом колесе. BMW EfficientDynamics: Снижение расхода топлива благодаря режиму ECO PRO и функции движения накатом. Еще большее снижение расхода топлива достигается благодаря активируемому с помощью специального переключателя режиму ECO PRO, маршрутной опции ECO PRO Route, а также функции движения накатом восьмиступенчатой АКПП Steptronic. Дополнительное снижение выбросов CO2 на 7 г/км предлагает четвертое поколение опциональных шин с уменьшенным сопротивлением качению. Эти шины устанавливаются на 17-дюймовые легкосплавные диски „Streamline“ стиля 306, доступные для некоторых моделей. Проактивный помощник дает рекомендации в пути. Дополнительные возможности экономии предлагает инновационный проактивный помощник BMW, который заранее узнает с помощью навигационной системы о местах, где нужно будет сбросить скорость (въезды в населенные пункты и скоростные ограничения) и дает соответствующие рекомендации водителю.
  • 11.
    BMW Информация для прессы 03/2014 Страница 11 4. BMWConnectedDrive. Интеллектуальные системы помощи водителю и пакет интеллектуальных сетевых технологий. Благодаря BMW ConnectedDrive компания BMW уже многие годы сохраняет лидирующую позицию в области систем, обеспечивающих контакт водителя с автомобилем и окружающим миром. Новый BMW X4 не стал исключением, подтверждая ведущее положение BMW ConnectedDrive на рынке. Системы помощи водителю, приложения и услуги. Дополнительную безопасность и больше комфорта в новом BMW X4 обеспечивает предлагающийся в качестве опции полноцветный проекционный дисплей BMW, выводящий с высокой степенью разрешения всю важную информацию, а также сообщения систем помощи водителю в его непосредственном поле зрения. Кроме того, новейшее поколение навигационной системы Professional с маршрутной функцией ECO PRO Route комбинируется теперь с сенсорным контроллером iDrive, который позволяет вводить тексты – например, цель поездки – в навигационную систему одним пальцем. Еще больше безопасности и комфорта предлагают опциональные премиум-функции, такие как неослепляющая система управления дальним светом и ассистент вождения Plus с системой предупреждения о возможности наезда на пешехода или столкновения и функцией торможения, активным круиз-контролем с функцией Stop&Go и системой слежения за разметкой. В качестве опции предлагаются система помощи при перестроении, система кругового обзора, а также ассистент парковки, который самостоятельно осуществляет параллельную парковку. Опциональные услуги ConnectedDrive позволяют пользоваться такими приложениями для смартфонов, как AUPEO! (персональное интернетрадио) или Deezer (музыкальный сервис), а также инновационными мобильными услугами через установленную в автомобиле SIM-карту. Консьерж-сервис установит соединение с колл-центром BMW и поможет заказать столик в ресторане или указать путь к ближайшей дежурной аптеке. В автомобиле можно с комфортом пользоваться также дистанционными услугами (Remote Services) или системой информирования о дорожной ситуации в реальном времени (RTTI). Функция Online Entertainment открывает доступ к музыкальным услугам, как rara или Napster с миллионами треков и аудиокниг. Интеллектуальный экстренный вызов гарантирует повышенную безопасность. Его можно совершить также вручную, а работает он в полностью автоматическом
  • 12.
    BMW Информация для прессы 03/2014 Страница 12 режиме.Как только аварийные датчики сообщают о срабатывании подушек безопасности, он через установленную в автомобиле SIM-карту направляет координаты автомобиля с точностью до метра и другую необходимую информацию в колл-центр BMW и гарантирует таким образом скорую и эффективную помощь на месте аварии. В 2015 году автоматический экстренный вызов должен стать обязательной системой для новых автомобилей, выпущенных в ЕС. А компания BMW уже сейчас в рамках BMW ConnectedDrive предлагает в базовой комплектации для BMW Х4 систему интеллектуального экстренного вызова, которая значительно превосходит законодательные требования 2015 года.
  • 13.
    BMW Информация для прессы 03/2014 Страница 13 5. Техническиехарактеристики. Новый BMW X4. xDrive20i, xDrive28i, xDrive35i. BMW X4 xDrive20i Кузов Количество дверей/мест Длина/Ширина/Высота (в ненагруженном состоянии) Колесная база Колея спереди/сзади Дорожный просвет Диаметр разворота Емкость топливного бака Система охлаждения вкл. отопитель Моторное масло1) Собственная масса по DIN/EU Полезная нагрузка по DIN Доп. общая масса Доп. осевая нагрузка спереди /сзади Доп. масса буксируемого груза (12 %) прицеп с тормозами/без тормозов Доп. нагрузка на крышу/ Доп. нагрузка на тяговосцепное устройство Объем багажника Коэффициент аэродинамического сопротивления BMW X4 xDrive28i BMW X4 xDrive35i 5/5 4671/1881/1624 5/5 4671/1881/1624 5/5 4671/1881/1624 м ок. л л 2810 1616/1632 204 11,9 67 7,5 2810 1616/1632 204 11,9 67 7,5 2810 1616/1632 204 11,9 67 9,6 л кг 5,75 1735/1810 5,75 1770/1845 6,5 1815/1890 кг кг кг 590 2325 1085/1320 590 2360 1120/1320 590 2405 1140/1330 кг 2400/750 2400/750 2400/750 кг 100/100 100/100 100/100 l cX x A 500-1400 0,33 x 2,57 500-1400 0,34 x 2,57 500-1400 0,34 x 2,57 R/4/4 R/4/4 R/6/4 мм мм мм Двигатель Конструкция/Кол-во цилиндров/клапанов Технология двигателя Рабочий объем Ход поршня/Диаметр цилиндра Степень сжатия Топливо Мощность при частоте вращения Крутящий момент при частоте вращения Электрика Батарея/Место установки Генератор см³ мм :1 кВт/л.с. об/мин Нм об/мин Ah/– A/W Технология BMW TwinPower Turbo: турбонагнетатель Twin Scroll, высокоточный непосредственный впрыск 1997 1997 2979 90,1/84,0 90,1/84,0 89,6/84,0 10,0 мин. ROZ 91 135/184 5000–6250 270 1250–4500 10,0 мин. ROZ 91 180/245 5000–6500 350 1250–4800 10,2 мин. ROZ 91 225/306 5800–6400 400 1200–5000 90/багажник 90/багажник 90/багажник 3) 3) 3) Динамика движения и безопасность Передняя подвеска Стальная двухшарнирная передняя подвеска с тяговыми растяжками облегченной конструкции Задняя подвеска Стальная пятирычажная подвеска облегченной конструкции Тормозная система спереди Дисковые тормоза с однопоршневыми плавающими суппортами, с вентилируемыми дисками Тормозная система сзади Дисковые тормоза с однопоршневыми плавающими суппортами, с вентилируемыми дисками Системы стабилизации В базовой комплектации: DSC вкл. ABS и DTC (Dynamische Traktions Control), система контроля торможения в повороте CBC, система динамического контроля торможения DBC, функция просушки тормозов, система компенсации потери эффективности тормозов при перегреве, система помощи при трогании с места; DSC с полным приводом xDrive с сетевым объединением, система помощи при спуске HDC, система Performance Control, опция: система динамической регулировки жесткости амортизаторов (VDC)
  • 14.
    BMW Информация для прессы 03/2014 Страница 14 BMWX4 xDrive20i Системы обеспечения безопасности Рулевое управление Общее передаточное отношение рулевого управления Шины спереди/сзади Диски спереди/сзади Коробка передач Вид коробки передач Передаточное отношение I II III IV V VI VII VIII R Передаточное отношение главной передачи на задней оси Ходовые качества Удельная масса (DIN) Литровая мощность Разгон 0–100 км/ч 0–1000 м на 4/5 передаче 80–120 км/ч Максимальная скорость BMW EfficientDynamics BMW EfficientDynamics в базовой комплектации BMW X4 xDrive28i BMW X4 xDrive35i В базовой комплектации: подушки безопасности для водителя и переднего пассажира, боковые подушки безопасности для водителя и переднего пассажира, подушки для защиты головы спереди и сзади, трехточечные инерционные ремни безопасности для всех сидений, спереди со стопором ремня, преднатяжителем ремня и ограничителем натяжения ремня безопасности. Реечное рулевое управление с электроусилителем (EPS) :1 16,4 16,4 16,4 225/60 R17 99V 7,5J x 17 LM :1 :1 :1 :1 :1 :1 :1 :1 :1 :1 кг/кВт кВт/л с с с км/ч 225/60 R17 99V 7,5J x 17 LM 245/50 R18 100W 8,0J x 18 LM 8-ступенчатая АКПП Steptronic 4,714 4,714 3,143 3,143 2,106 2,106 1,667 1,667 1,285 1,285 1,000 1,000 0,839 0,839 0,667 0,667 3,295 3,295 3,385 3,385 4,714 3,143 2,106 1,667 1,285 1,000 0,839 0,667 3,295 3,385 12,9 67,6 8,1 9,8 90,1 6,4 8,1 75,5 5,5 (–) 212 (–) 232 (–) 247 3) 3) 3) Рекуперация энергии торможения, реечное рулевое управление с электроусилителем, функция Auto Start Stop, индикатор моментов переключения передач (МКПП), режим ECO PRO, рационально облегченная конструкция, управляемые по потребности вспомогательные агрегаты, масляный насос с электронным управлением, главная передача на задней оси с оптимизированными характеристиками прогрева, шины с пониженным сопротивлением качению Расход топлива в цикле ЕСE2) С шинами в базовой комплектации в городе л/100 км 9,0 9,1 10,7 за городом л/100 км 6,1 6,2 6,9 в смешанном цикле л/100 км 7,2 7,3 8,3 выбросы CO2 г/км 168 169 193 С опциональными шинами с оптимизированным сопротивлением качению на 17-дюймовых дисках Streamline 306 4) в городе л/100 км 8,7 8,7 4) за городом л/100 км 5,9 5,9 4) в смешанном цикле л/100 км 6,9 7,0 4) выбросы CO2 г/км 161 162 С опциональными 20-дюймовыми шинами в городе л/100 км 9,2 9,3 10,7 за городом л/100 км 6,3 6,3 6,9 в смешанном цикле л/100 км 7,4 7,4 8,3 выбросы CO2 г/км 171 172 193 Классификация по Евро-6 Евро-6 Евро-6 токсичности выбросов Технические характеристики действительны для рынков Ассоциации европейских автопроизводителей/Важные для регистрации автомобилей данные приведены частично только для Германии (массы). Указанные в скобках значения действительны для АКПП 1) Количество масла для замены Значения расхода топлива и выбросов CO2 зависят от выбранного размера шин Данные пока отсутствуют 4) Опциональные шины с пониженным сопротивлением качению для xDrive35d и xDrive35i не предлагаются. 2) 3)
  • 15.
    BMW Информация для прессы 03/2014 Страница 15 НовыйBMW X4. xDrive20d, xDrive30d, xDrive35d. BMW X4 xDrive20d Кузов Количество дверей/мест Длина/Ширина/Высота (в ненагруженном состоянии) Колесная база Колея спереди /сзади Дорожный просвет Диаметр разворота Емкость топливного бака Система охлаждения вкл. отопитель Моторное масло1) Собственная масса по DIN/EU Полезная нагрузка по DIN Доп. общая масса Доп. осевая нагрузка спереди /сзади Доп. масса буксируемого груза (12 %) прицеп с тормозами/без тормозов Доп. нагрузка на крышу/ Доп. нагрузка на тяговосцепное устройство Объем багажника Коэффициент аэродинамического сопротивления мм мм мм м ок. л л л кг кг кг кг кг Электрика Батарея/Место установки Генератор BMW X4 xDrive35d 5/5 4671/1881/1624 5/5 4671/1881/1624 5/5 4671/1881/1624 2810 1616/1632 204 11,9 67 2810 1616/1632 204 11,9 67 10,0 2810 1616/1632 204 11,9 67 10,0 3) 7,2 1820/1895 7,2 1860/1935 590 2410 1145/1330 580 2440 1180/1330 2400/750 2400/750 3) 1730/1805 (1745/1820) 590 2320 (2335) 1070/1320 (1085/1330) 2000/750 (2400/750) кг 100/100 100/100 100/100 л cX x A 500-1400 0,33 x 2,57 500-1400 0,34 x 2,57 500-1400 0,35 x 2,57 R/4/4 R/6/4 R/6/4 Двигатель Конструкция/Кол-во цилиндров/клапанов Технология двигателя Рабочий объем Ход поршня/Диаметр цилиндра Степень сжатия Топливо Мощность при частоте вращения Крутящий момент при частоте вращения BMW X4 xDrive30d см³ мм :л кВт/л.с. об/мин Нм об/мин Ah/– A/W Технология BMW TwinPower Turbo: турбонагнетатель с изменяемой геометрией турбины, непосредственный впрыск Common-Rail 1995 2993 2993 90,0/84,0 90,0/84,0 90,0/84,0 16,5 Дизельное 140/190 4000 400 16,5 Дизельное 190/258 4000 560 1500–3000 16,5 Дизельное 230/313 4400 630 1500–2500 90/ багажник 90/ багажник 90/ багажник 3) 3) 3) 3) Динамика движения и безопасность Передняя подвеска Стальная двухшарнирная передняя подвеска с тяговыми растяжками облегченной конструкции Задняя подвеска Стальная пятирычажная подвеска облегченной конструкции Тормозная система спереди Дисковые тормоза с однопоршневыми плавающими суппортами, с вентилируемыми дисками Тормозная система сзади Дисковые тормоза с однопоршневыми плавающими суппортами, с вентилируемыми дисками Системы стабилизации В базовой комплектации: DSC, вкл. ABS и DTC (Dynamische Traktions Control), система контроля торможения в повороте CBC, система динамического контроля торможения DBC, функция просушки тормозов, система компенсации потери эффективности тормозов при перегреве, система помощи при трогании с места; DSC, объединенная в сеть с полным приводом xDrive, система помощи при спуске HDC, система Performance Control, опция: система динамической регулировки жесткости амортизаторов (VDC)
  • 16.
    BMW Информация для прессы 03/2014 Страница 16 BMWX4 xDrive20d Системы обеспечения безопасности Рулевое управление Общее передаточное отношение рулевого управления Шины спереди /сзади Диски спереди / сзади Ходовые качества Удельная масса (DIN) Литровая мощность Разгон 0–100 км/ч 0–1000 м на 4/5 передаче 80–120 км/ч Максимальная скорость BMW EfficientDynamics BMW EfficientDynamics в базовой комплектации BMW X4 xDrive35d В базовой комплектации: подушки безопасности для водителя и переднего пассажира, боковые подушки безопасности для водителя и переднего пассажира, подушки для защиты головы спереди и сзади, трехточечные инерционные ремни безопасности для всех сидений, спереди со стопором ремня, преднатяжителем ремня и ограничителем натяжения ремня безопасности Реечное рулевое управление с электроусилителем (EPS) :1 16,4 16,4 16,4 225/60 R17 99V 7,5J x 17 LM Коробка передач Вид коробки передач Передаточное отношение I II III IV V VI VII VIII R Передаточное отношение главной передачи на задней оси BMW X4 xDrive30d :1 :1 :1 :1 :1 :1 :1 :1 :1 :1 кг/кВт кВт/л с с с км/ч 6-ступенчатая МКПП (опция: 8-ступенчатая АКПП Steptronic) 4,110 (4,714) 2,248 (3,143) 1,403 (2,106) 1,000 (1,667) 0,802 (1,285) 0,659 (1,000) --- (0,839) --- (0,667) 3,727 (3,295) 3,727 (3,077) 12,4 (12,5) 70,2 8,0 (8,0) 3) 3) /8,8 (–) 212 (212) 225/60 R17 99V 7,5J x 17 LM 245/50 R18 100W 8,0J x 18 LM 8-ступенчатая АКПП Steptronic 4,714 3,143 2,106 1,667 1,285 1,000 0,839 0,667 3,317 2,813 4,714 3,143 2,106 1,667 1,285 1,000 0,839 0,667 3,317 2,813 9,6 63,5 5,8 8,1 76,8 5,2 (–) 234 (–) 247 3) 3) Рекуперация энергии торможения, реечное рулевое управление с электроусилителем, функция Auto Start Stop, индикатор моментов переключения передач (МКПП), режим ECO PRO, рационально облегченная конструкция, управляемые по потребности вспомогательные агрегаты, масляный насос с электронным управлением, главная передача на задней оси с оптимизированными характеристиками прогрева, шины с пониженным сопротивлением качению Расход топлива в цикле ЕСE2) С шинами в базовой комплектации в городе л/100 км 6,2 (5,7) 6,5 6,7 за городом л/100 км 5,0 (5,0) 5,6 5,5 в смешанном цикле л/100 км 5,4 (5,2) 5,9 6,0 выбросы CO2 г/км 143 (138) 156 157 С опциональными шинами с оптимизированным сопротивлением качению на 17-дюймовых дисках Streamline 306 4) в городе л/100 км 5,9 (5,4) 6,2 4) за городом л/100 км 4,7 (4,8) 5,4 4) в смешанном цикле л/100 км 5,2 (5,0) 5,7 4) выбросы CO2 г/км 136 (131) 149 С опциональными 20-дюймовыми шинами в городе л/100 км 6,3 (5,8) 6,6 6,7 за городом л/100 км 5,1 (5,1) 5,7 5,5 в смешанном цикле л/100 км 5,6 (5,4) 6,2 6,0 выбросы CO2 г/км 146 (141) 159 157 Классификация по Евро-6 Евро-6 Евро-6 токсичности выбросов Технические характеристики действительны для рынков Ассоциации европейских автопроизводителей/Важные для регистрации автомобилей данные приведены частично только для Германии (массы). Указанные в скобках значения действительны для АКПП 1) Количество масла для замены Значения расхода топлива и выбросов CO2 зависят от выбранного размера шин Данные пока отсутствуют 4) Опциональные шины с пониженным сопротивлением качению для xDrive35d и xDrive35i не предлагаются. 2) 3)
  • 17.
    BMW Информация для прессы 03/2014 Страница 17 6. Диаграммымощности и крутящего момента. Новый BMW X4. xDrive20i.
  • 18.
  • 19.
  • 20.
  • 21.
  • 22.
  • 23.