НАСТРОЙКА ТОКАРНО- 
ГВИНТОРІЗНОГО 
ВЕРСТАТА 
мод. 16К20 
Мета: 
Завдання: 
Обладнання, 
пристосування, 
наочне 
приладдя: 
 вивчити конструкцію та кінематичнубудовутокарно- 
гвинторізноговерстата мод. 16К20; 
 отримати навички в настройці токарно-гвинторізного 
верстата мод.16К20; 
 ознайомитись з будовою, керуванням і призначенням 
токарно-гвинторізноговерстата мод.16К20; 
 провести аналіз кінематичних груп та побудувати 
структурно-кінематичнусхемуверстата; 
 здійснити кінематичну настройку верстата при 
нарізанні різі; 
 здійснити кінематичну настройку верстата на токарні 
роботи; 
 скласти звіт провиконануроботу 
 токарно-гвинторізнийверстатмод. 16К20; 
 плакат “Кінематична схема верстата” 
Теоретичні відомості 
1.1. Призначення верстата. 
Універсальний токарно-гвинторізний верстат мод. 16К20 призначений 
для обробки осесиметричних деталей типу валів, дисків, втулок з 
виконанням різноманітних чорнових, напівчистових, чистових токарних та 
різенарізнихробіт, а саме:
- точіння зовнішніхциліндричнихтаконічнихповерхонь; 
- розточування внутрішніх циліндричнихтаконічних поверхонь; 
- свердління, зенкерування та розвертування циліндричних та конічних 
отворів; 
- нарізання зовнішніх та внутрішніх метричних, дюймових, пітчевих та 
модульних різей. 
1.2. Основні вузли верстата. 
Компоновка токарно-гвинторізного верстата мод. 16К20 є 
традиційною дляверстатів цьоготипуіскладається зтаких вузлів (рис. 1): 
Передня бабка 1 – призначена для розміщення шпиндельного вузла, 
коробкишвидкостейта механізмів керування. 
Задня бабка 2 – призначена для підтримання деталі в центрах і 
закріплення інструмента при обробці заготовки осьовим інструментом 
(свердління,розвертування, нарізання різімітчиками абоплашками іт.ін.). 
Супорт 3– несе різцетримач з різцем і надає йомупоздовжні та поперечні 
рухи в горизонтальнійплощині відносно осі заготовки. 
Фартух 4 – призначений для передачі руху супорту в поздовжньому (від 
ходовогогвинта5 абоходовоговала6)і поперечномунапрямах. 
Станина 7 – призначена для сприйняття зусиль різання, розміщення 
основних вузлів та механізмів верстата. Вона має точні направляючі для 
переміщенняпоних каретки супорта. 
Коробка подач 8 – призначена для регулювання подачі та вмикання 
ходовогогвинта абоходовоговала. 
1.3. Виконавчі рухи верстата. 
Головним рухом, що визначає швидкість різання, є обертання 
шпинделя із заготовкою. Рух, що визначає величини поздовжніх і 
поперечних подач, є рухом супорта, на якому закріплюються різці. При 
обробці осьовим інструментом рух подачі отримує задня бабка верстата. 
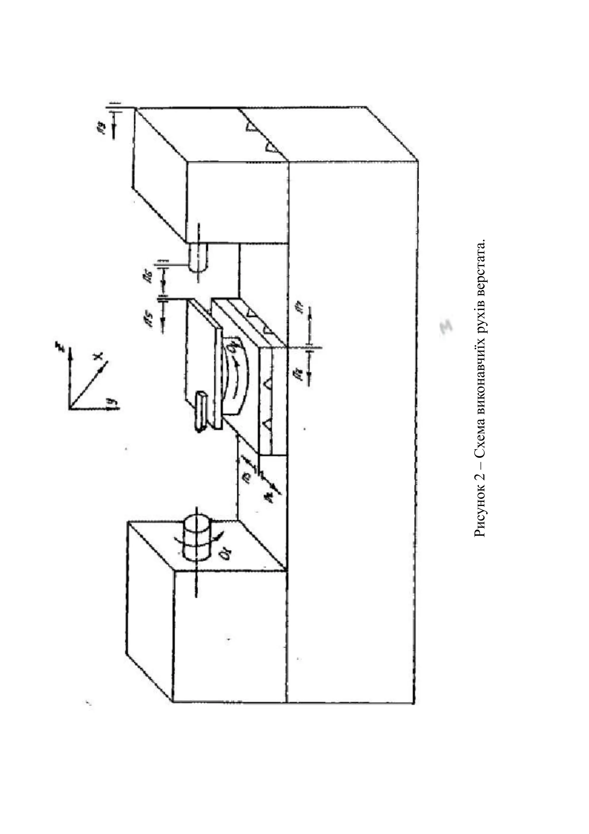
Загальний склад виконавчих рухів уверстаті поданонарис. 2.
Рисунок 1 – Компоновка універсального токарно-гвинторізного 
верстата.мод. 16К20
Рисунок 2 – Схема виконавчиїх рухів верстата.
Залежно від виду виконуваних робіт, використовуються такі 
виконавчірухи: 
1) Поздовжнєточіння–Фv (О1), Фs1 (П2),Уст(П3). 
2) Поперечнеточіння (торець)– Фv(О1),Фs2 (П3),Уст (П2). 
3) Поперечнеточіння (канавка)– Фv(О1),Вр (П3),Уст (П2). 
4) Точіння коротких конусів – Фv (О1), Фs3 (П5), Уст (П2), Уст (П3), Уст 
(О4). 
5) Обробка осьовим інструментом– Фv(О1), Фs4 (П6)абоВр (П6),Уст (П9). 
6) Нарізання різі різьбовимирізцями– Фv(О1П2), Уст (П3). 
Для всіх операцій можуть використовуватися рухи швидкого 
переміщеннякареткитасупорта Доп (П7), Доп (П8). 
1.4. Кінематична структура верстата. 
Вивчення кінематичної структури верстата поданої у вигляді 
кінематичної схеми (рис. 3), передбачає попередню побудову структурно- 
кінематичної схеми (рис. 4). Опис кінематики верстата з використанням 
структурно-кінематичної схеми гарантується на відповідностях ділянок 
кінематичних ланцюгів верстата до їх умовних позначень на структурно- 
кінематичнійсхемі. 
1.4.1 Умовні позначення структурно-кінематичної схеми. 
С1– пасовапередача 140 
268 
; 
Р1 –реверс, ланцюг між Iі II валамипри вмиканні муфтиМ1; 
Іv – орган настройки на швидкість головного руху, ланцюг між I і VI 
валами включає в себе ізк і забезпечує 24 частоти прямого обертання (з них 
дві дублюється),та 12частот зворотнього обертання; 
Ізк – ланцюг збільшення кроку, розміщений між III i VII валами, 
забезпечує збільшеннякрокув2,8 або32рази. 
Р2 –реверс, ланцюг між VII i VIIIвалами; 
і – гітара змінних коліс a, b, c, d, забезпечує кратність числу , а 
саме:
Рисунок 3 – Кінематична схема універсального токарно-гвинторізного 
верстата мод. 16К20
Рисунок 4 – Структурно-кінематична схема універсального токарно- 
гвинторізного верстата мод. 16К20
a 
b , 
  ; 
для метричнихі дюймовихрізей 
5 
8 
86 
64 
40 
86 
c 
d 
    
для модульнихі пітчевихрізей: 
5 
8 
60 86 
 
73 36 
c 
d 
  
a 
b 
ізв – зворотній механізм, ланцюг між IX i XII валами, забезпечує 
пропорційність і обернену пропорційність цілому числу залежно від 
комбінації виконання муфт М3, М4. Так якщо М3, М4 ввімкнуті, то ізв 
 
1 
4 
, 
 
1 
5 
пропорційне 4, 5, 6 або 7, якщо М3, М4 вимкнуті то ізв пропорційне , 
  1 або 1 ; 6 7 
імн – множинний механізм, ланцюг між ХІІ і ХIV валами, забезпечує 
кратність1, 1 , 
2 
1 
4 
або1; 
8 
С2 – ланцюг між ХIV і ХХ валами, в складі має обгінну муфту М6 для 
забезпечення вмикання в ланцюг подачі ланцюга швидких переміщень від 
двигуна М2; 
Р3 – реверс поздовжньої подачі, ланцюг між ХХІ і ХХІІІ (шестерня z = 
66)валами, забезпечується вмиканням– вимиканням муфт М8 іМ9; 
Р4 – реверс поперечної подачі супорта і подачі різцевих полосків, 
ланцюг між XXIV і XXIII (шестерня z = 55) валами, забезпечується 
вмиканням– вимиканням муфт М10і М11; 
С3– зубчаста передача 29 
16 
між ХХVIі ХХVІI валами; 
С4– ланцюг між ХХVІі ХХХвалами; 
С5– пасовапередача 
85 
127 
. 
1.4.2. Особливості кінематичної структури. 
1) Нарізання різірізьбовимирізцями. 
Рух поздовжньоїподачі П2 здійснюється відходовогогвинта. 
На верстатінарізаються такітипирізі: 
- метрична, крокрізіt =t мм;
- 
 
дюймова, крок різі t  
1 
k 
127 
5 
, де 1  25.4мм мм, k – число ниток 
на дюйм; 
- модульна, крокрізі t  m, де m– модульрізі; 
- пітчева, крокрізі t  
1  
p 
, деp – діаметральний пітчрізі. 
Таким чином у внутрішньому зв’язку руху Фv (О1П2) знаходиться три 
органанастройкинатраєкторію, а саме: 
- орган настройки на величину кроку, який складається з двох частин: 
ізк таімн; 
- 
- 
орган настройки на числодля модульної іпітчевоїрізей:іπ; 
орган настройки на пропорційність цілому числу для метричної 
модульної різі або обернену пропорційність для дюймової та пітчевої різей: 
ізв. 
2) Токарні роботи. 
Рухи подач Фs1 (П2), Фs2 (П3), Фs3 (П5) здійснюються від ходового 
гвинта через фартух на відповідні виконавчі органи. Ланцюг подачі 
кінематично співпадає з гвинторізним ланцюгом, тобто як орган настройки 
на швидкість подачі іs використовуються органи настройки гвинторізного 
ланцюга ізк, імн,іπ, ізв. 
Особливості настройки ланцюгів подач для токарнихробіт: 
1) Використовуєтьсятількигітара зміннихколіс 
86 
64 
40 
86 
c 
d 
   
a 
b 
. 
2) МуфтиМ3 іМ4ввімкнуті (як для метричної різі). 
1.5. Настройка верстату. 
1) ланцюгголовногоруху 
nM1 C1 iв ізк  nшпоб хв, 
де η =0.97 –0.98, ККД пасової передачі; 
2) Ланцюгпоздовжньої подачі. 
1 
iзк 
1об.шп  і ізв імн С2 ірп  Sпозмм/об,
де ірп– передаточневідношеннярейкової передачі; 
3) Ланцюг поперечної подачі. 
1об.шп  і ізв імн С2 C3 iгп  Sпопмм/об, 
де ігп–передаточне відношення гвинтової передачі; 
4) Ланцюгподачірізцевихполозків. 
1об.шп  і ізв імн С2 C3 C4 iгп  S рпмм/об, 
5) Гвинторізний ланцюг. 
1об.шп  і ізв імн iгп  tмм/об, 
6) Ланцюгишвидкихпереміщень. 
nM 2 С5 іф ...  Sмм/об, 
де іф – передаточне число фартуха відповідно до руху конкретного 
виконавчогооргану. 
Робота полягає в настройці гвинторізного ланцюга та ланцюгів 
поздовжньої абопоперечної подач верстата згіднозаданоговаріанта. 
Варіан 
т 
№ 
1 
iзк 
1 
iзк 
1 
iзк 
Крок 
метрично 
ї 
різі,t,мм 
2. Варіанти робіт. 
Величина 
поздовжньо 
ї 
подачі, 
Sпоз,мм/об 
Варіант 
№ 
Крок 
дюймовоїрізі, 
(числониток 
надюйм) 
Величина 
поперечно 
ї 
подачі,Sпоп, 
мм/об 
1 1,5 0.05 11 15 0.03 
2 2 0.09 12 12 0.05 
3 2,5 0.15 13 10 0.1 
4 3 0.25 14 8 0.15 
5 3,5 0.35 15 7 0.2 
6 4 0.6 16 6 0.35 
7 5 1.0 17 5 0.4 
8 6 1.4 18 4 0.6 
9 7 2.0 19 3 0.8 
10 10 2.8 20 2 1.2
3. Порядок виконання роботи. 
3.1. Теоретичначастина. 
1) Провести аналіз поверхні, що можуть оброблятися на верстаті, і на 
основі прийнятих схем обробки визначити методи формоутворення та 
комплекс необхідних виконавчих рухів для обробки кожної поверхні 
зокрема; 
2) Провести аналіз структур кінематичнихгруп звизначеннямїх складуі 
характеристикою елементів; 
3) Записати умови узгодження кінематичних ланцюгів та відповідні 
рівняннякінематичних балансів; 
4) Провести настройку кінематичних ланцюгів згідно з варіантом 
завдань. 
3.2. Практичначастина. 
1) Оправку із приєднаним до неї папером закріпити в патроні або в 
центрах верстата. 
2) Закріпити врізцетримачі олівецьпоцентрузаготовки. 
3) Вставити за допомогою рукояток необхідні швидкості головного руху 
і подачі (при необхідності провести замінугітари зміннихколісa, b, c, d). 
4) Провести нарізання гвинтової лінії на оправці. 
5) Провести вимірювання кроку гвинтової лінії та визначити похибку 
кроку. 
6) Результати вимірювань та розрахунківподати узвіт. 
Перелік посилань: 
1. Металлорежущие станки: Учебник для машиностроительных втузов/ 
Под.ред.В.Э. Пуша.– М.:Машиностроение,1985.–256 с. 
2. Маеров А.Г. Устройство, основы конструирования и расчет 
металлообрабатывающих станков и автоматических линий: Учебное 
пособие для техникумов.– М.:Машиностроение, 1986.– 368 с. 
3. Кінематична структура верстатів: Навчальний посібник/ Ю.М. 
Данильченко.– Тернопіль,1994.–24 с.

Lr1 3 n

  • 1.
    НАСТРОЙКА ТОКАРНО- ГВИНТОРІЗНОГО ВЕРСТАТА мод. 16К20 Мета: Завдання: Обладнання, пристосування, наочне приладдя:  вивчити конструкцію та кінематичнубудовутокарно- гвинторізноговерстата мод. 16К20;  отримати навички в настройці токарно-гвинторізного верстата мод.16К20;  ознайомитись з будовою, керуванням і призначенням токарно-гвинторізноговерстата мод.16К20;  провести аналіз кінематичних груп та побудувати структурно-кінематичнусхемуверстата;  здійснити кінематичну настройку верстата при нарізанні різі;  здійснити кінематичну настройку верстата на токарні роботи;  скласти звіт провиконануроботу  токарно-гвинторізнийверстатмод. 16К20;  плакат “Кінематична схема верстата” Теоретичні відомості 1.1. Призначення верстата. Універсальний токарно-гвинторізний верстат мод. 16К20 призначений для обробки осесиметричних деталей типу валів, дисків, втулок з виконанням різноманітних чорнових, напівчистових, чистових токарних та різенарізнихробіт, а саме:
  • 2.
    - точіння зовнішніхциліндричнихтаконічнихповерхонь; - розточування внутрішніх циліндричнихтаконічних поверхонь; - свердління, зенкерування та розвертування циліндричних та конічних отворів; - нарізання зовнішніх та внутрішніх метричних, дюймових, пітчевих та модульних різей. 1.2. Основні вузли верстата. Компоновка токарно-гвинторізного верстата мод. 16К20 є традиційною дляверстатів цьоготипуіскладається зтаких вузлів (рис. 1): Передня бабка 1 – призначена для розміщення шпиндельного вузла, коробкишвидкостейта механізмів керування. Задня бабка 2 – призначена для підтримання деталі в центрах і закріплення інструмента при обробці заготовки осьовим інструментом (свердління,розвертування, нарізання різімітчиками абоплашками іт.ін.). Супорт 3– несе різцетримач з різцем і надає йомупоздовжні та поперечні рухи в горизонтальнійплощині відносно осі заготовки. Фартух 4 – призначений для передачі руху супорту в поздовжньому (від ходовогогвинта5 абоходовоговала6)і поперечномунапрямах. Станина 7 – призначена для сприйняття зусиль різання, розміщення основних вузлів та механізмів верстата. Вона має точні направляючі для переміщенняпоних каретки супорта. Коробка подач 8 – призначена для регулювання подачі та вмикання ходовогогвинта абоходовоговала. 1.3. Виконавчі рухи верстата. Головним рухом, що визначає швидкість різання, є обертання шпинделя із заготовкою. Рух, що визначає величини поздовжніх і поперечних подач, є рухом супорта, на якому закріплюються різці. При обробці осьовим інструментом рух подачі отримує задня бабка верстата. Загальний склад виконавчих рухів уверстаті поданонарис. 2.
  • 3.
    Рисунок 1 –Компоновка універсального токарно-гвинторізного верстата.мод. 16К20
  • 4.
    Рисунок 2 –Схема виконавчиїх рухів верстата.
  • 5.
    Залежно від видувиконуваних робіт, використовуються такі виконавчірухи: 1) Поздовжнєточіння–Фv (О1), Фs1 (П2),Уст(П3). 2) Поперечнеточіння (торець)– Фv(О1),Фs2 (П3),Уст (П2). 3) Поперечнеточіння (канавка)– Фv(О1),Вр (П3),Уст (П2). 4) Точіння коротких конусів – Фv (О1), Фs3 (П5), Уст (П2), Уст (П3), Уст (О4). 5) Обробка осьовим інструментом– Фv(О1), Фs4 (П6)абоВр (П6),Уст (П9). 6) Нарізання різі різьбовимирізцями– Фv(О1П2), Уст (П3). Для всіх операцій можуть використовуватися рухи швидкого переміщеннякареткитасупорта Доп (П7), Доп (П8). 1.4. Кінематична структура верстата. Вивчення кінематичної структури верстата поданої у вигляді кінематичної схеми (рис. 3), передбачає попередню побудову структурно- кінематичної схеми (рис. 4). Опис кінематики верстата з використанням структурно-кінематичної схеми гарантується на відповідностях ділянок кінематичних ланцюгів верстата до їх умовних позначень на структурно- кінематичнійсхемі. 1.4.1 Умовні позначення структурно-кінематичної схеми. С1– пасовапередача 140 268 ; Р1 –реверс, ланцюг між Iі II валамипри вмиканні муфтиМ1; Іv – орган настройки на швидкість головного руху, ланцюг між I і VI валами включає в себе ізк і забезпечує 24 частоти прямого обертання (з них дві дублюється),та 12частот зворотнього обертання; Ізк – ланцюг збільшення кроку, розміщений між III i VII валами, забезпечує збільшеннякрокув2,8 або32рази. Р2 –реверс, ланцюг між VII i VIIIвалами; і – гітара змінних коліс a, b, c, d, забезпечує кратність числу , а саме:
  • 6.
    Рисунок 3 –Кінематична схема універсального токарно-гвинторізного верстата мод. 16К20
  • 7.
    Рисунок 4 –Структурно-кінематична схема універсального токарно- гвинторізного верстата мод. 16К20
  • 8.
    a b ,   ; для метричнихі дюймовихрізей 5 8 86 64 40 86 c d     для модульнихі пітчевихрізей: 5 8 60 86  73 36 c d   a b ізв – зворотній механізм, ланцюг між IX i XII валами, забезпечує пропорційність і обернену пропорційність цілому числу залежно від комбінації виконання муфт М3, М4. Так якщо М3, М4 ввімкнуті, то ізв  1 4 ,  1 5 пропорційне 4, 5, 6 або 7, якщо М3, М4 вимкнуті то ізв пропорційне ,   1 або 1 ; 6 7 імн – множинний механізм, ланцюг між ХІІ і ХIV валами, забезпечує кратність1, 1 , 2 1 4 або1; 8 С2 – ланцюг між ХIV і ХХ валами, в складі має обгінну муфту М6 для забезпечення вмикання в ланцюг подачі ланцюга швидких переміщень від двигуна М2; Р3 – реверс поздовжньої подачі, ланцюг між ХХІ і ХХІІІ (шестерня z = 66)валами, забезпечується вмиканням– вимиканням муфт М8 іМ9; Р4 – реверс поперечної подачі супорта і подачі різцевих полосків, ланцюг між XXIV і XXIII (шестерня z = 55) валами, забезпечується вмиканням– вимиканням муфт М10і М11; С3– зубчаста передача 29 16 між ХХVIі ХХVІI валами; С4– ланцюг між ХХVІі ХХХвалами; С5– пасовапередача 85 127 . 1.4.2. Особливості кінематичної структури. 1) Нарізання різірізьбовимирізцями. Рух поздовжньоїподачі П2 здійснюється відходовогогвинта. На верстатінарізаються такітипирізі: - метрична, крокрізіt =t мм;
  • 9.
    -  дюймова,крок різі t  1 k 127 5 , де 1  25.4мм мм, k – число ниток на дюйм; - модульна, крокрізі t  m, де m– модульрізі; - пітчева, крокрізі t  1  p , деp – діаметральний пітчрізі. Таким чином у внутрішньому зв’язку руху Фv (О1П2) знаходиться три органанастройкинатраєкторію, а саме: - орган настройки на величину кроку, який складається з двох частин: ізк таімн; - - орган настройки на числодля модульної іпітчевоїрізей:іπ; орган настройки на пропорційність цілому числу для метричної модульної різі або обернену пропорційність для дюймової та пітчевої різей: ізв. 2) Токарні роботи. Рухи подач Фs1 (П2), Фs2 (П3), Фs3 (П5) здійснюються від ходового гвинта через фартух на відповідні виконавчі органи. Ланцюг подачі кінематично співпадає з гвинторізним ланцюгом, тобто як орган настройки на швидкість подачі іs використовуються органи настройки гвинторізного ланцюга ізк, імн,іπ, ізв. Особливості настройки ланцюгів подач для токарнихробіт: 1) Використовуєтьсятількигітара зміннихколіс 86 64 40 86 c d    a b . 2) МуфтиМ3 іМ4ввімкнуті (як для метричної різі). 1.5. Настройка верстату. 1) ланцюгголовногоруху nM1 C1 iв ізк  nшпоб хв, де η =0.97 –0.98, ККД пасової передачі; 2) Ланцюгпоздовжньої подачі. 1 iзк 1об.шп  і ізв імн С2 ірп  Sпозмм/об,
  • 10.
    де ірп– передаточневідношеннярейковоїпередачі; 3) Ланцюг поперечної подачі. 1об.шп  і ізв імн С2 C3 iгп  Sпопмм/об, де ігп–передаточне відношення гвинтової передачі; 4) Ланцюгподачірізцевихполозків. 1об.шп  і ізв імн С2 C3 C4 iгп  S рпмм/об, 5) Гвинторізний ланцюг. 1об.шп  і ізв імн iгп  tмм/об, 6) Ланцюгишвидкихпереміщень. nM 2 С5 іф ...  Sмм/об, де іф – передаточне число фартуха відповідно до руху конкретного виконавчогооргану. Робота полягає в настройці гвинторізного ланцюга та ланцюгів поздовжньої абопоперечної подач верстата згіднозаданоговаріанта. Варіан т № 1 iзк 1 iзк 1 iзк Крок метрично ї різі,t,мм 2. Варіанти робіт. Величина поздовжньо ї подачі, Sпоз,мм/об Варіант № Крок дюймовоїрізі, (числониток надюйм) Величина поперечно ї подачі,Sпоп, мм/об 1 1,5 0.05 11 15 0.03 2 2 0.09 12 12 0.05 3 2,5 0.15 13 10 0.1 4 3 0.25 14 8 0.15 5 3,5 0.35 15 7 0.2 6 4 0.6 16 6 0.35 7 5 1.0 17 5 0.4 8 6 1.4 18 4 0.6 9 7 2.0 19 3 0.8 10 10 2.8 20 2 1.2
  • 11.
    3. Порядок виконанняроботи. 3.1. Теоретичначастина. 1) Провести аналіз поверхні, що можуть оброблятися на верстаті, і на основі прийнятих схем обробки визначити методи формоутворення та комплекс необхідних виконавчих рухів для обробки кожної поверхні зокрема; 2) Провести аналіз структур кінематичнихгруп звизначеннямїх складуі характеристикою елементів; 3) Записати умови узгодження кінематичних ланцюгів та відповідні рівняннякінематичних балансів; 4) Провести настройку кінематичних ланцюгів згідно з варіантом завдань. 3.2. Практичначастина. 1) Оправку із приєднаним до неї папером закріпити в патроні або в центрах верстата. 2) Закріпити врізцетримачі олівецьпоцентрузаготовки. 3) Вставити за допомогою рукояток необхідні швидкості головного руху і подачі (при необхідності провести замінугітари зміннихколісa, b, c, d). 4) Провести нарізання гвинтової лінії на оправці. 5) Провести вимірювання кроку гвинтової лінії та визначити похибку кроку. 6) Результати вимірювань та розрахунківподати узвіт. Перелік посилань: 1. Металлорежущие станки: Учебник для машиностроительных втузов/ Под.ред.В.Э. Пуша.– М.:Машиностроение,1985.–256 с. 2. Маеров А.Г. Устройство, основы конструирования и расчет металлообрабатывающих станков и автоматических линий: Учебное пособие для техникумов.– М.:Машиностроение, 1986.– 368 с. 3. Кінематична структура верстатів: Навчальний посібник/ Ю.М. Данильченко.– Тернопіль,1994.–24 с.