Изпитна тема № 3
Процесор
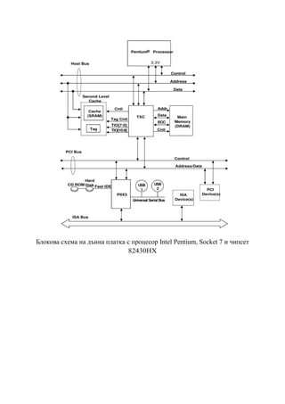
Intel 80286
Копроцесор
Intel 80287
Контролер на
паметта 8207
Памет DRAM
640 КВ
до 16 MB
ROM BIOS
Таймер
Брояч 8254
2 DMA
контролера
8237
DMA
регистър на
страницата
Контролер за
клавиатурата
8042
Тактов
генератор
82284
Контролер на
шината 82288
Клавиатура
Графична
карта
EGA
Контролер
за флопи и
тв. дискове
Сериен/
паралелен
интерфейс
Шина ISA-16 6 до 8.33 MHz
2 Контролера на
прекъсвания
8259
ВГ
Часовник +
CMOS -
MC146818
Акуму-
латор
Шина ISA-16 6 до 8.33 MHz
5 АТ-слота
3 РС-слота
ШинаISA-8
Блокова схема на дънна платка на IBM/АТ с процесор 80286
…………………………………………………………………………..
Изпитна тема № 4
Блокова схема на дънна платка на IBM/АТ с процесор 80386
Изпитна тема № 5
Блокова схема на дънна платка с процесор Intel 80486
Блокова схема на дънна платка на IBM/АТ с процесор 80486
…………………………………………………………………………………..
…………………………………………………………………………………..
Изпитна тема № 6
Блокова схема на дънна платка с процесор Intel Pentium,
Socket 7
Блокова схема на дънна платка с процесор Intel Pentium, Socket 7 и чипсет
82430FX
Блокова схема на дънна платка с процесор Intel Pentium, Socket 7 и чипсет
82430TX
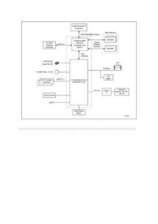
Блокова схема на дънна платка с процесор Intel Pentium, Socket 7 и чипсет
82430HX
Блокова схема на дънна платка с процесор Intel Pentium, Socket 7 и чипсет
82430VX
Блокова схема на дънна платка с процесор Intel Pentium, Socket 7
…………………………………………………………………………………..
…………………………………………………………………………………..
Изпитна тема № 7
Блокова схема на дънна платка с процесор Intel Pentium Pro,
Socket 8
Блок схема на дънната платка
Блокова схема на дънна платка с процесор Intel Pentium Pro, Socket 8 и
чипсет 82440FX
Блокова схема на дънна платка с процесор Intel Pentium Pro, Socket 8 и
чипсет 82450GX/KX
Забележка: PB – Host-to-PCI мост
DC – DRAM Controller
DP – Data Path
MIC – Memory Interface Controller
…………………………………………………………………………………..
…………………………………………………………………………………..
Изпитна тема № 8
Блокова схема на дънна платка с процесор Intel Pentium II,
Slot 1
Блок схема на дънната платка
Блокова схема на дънна платка с процесор Intel Pentium II, Slot 1 и чипсет
440LX
…………………………………………………………………………………..
Изпитна тема № 8
Блокова схема на дънна платка с процесор Intel Pentium III,
socket 370
Блок схема на дънната платка
Блокова схема на дънна платка с процесор Intel Pentium III, Socket 370 и
чипсет 815
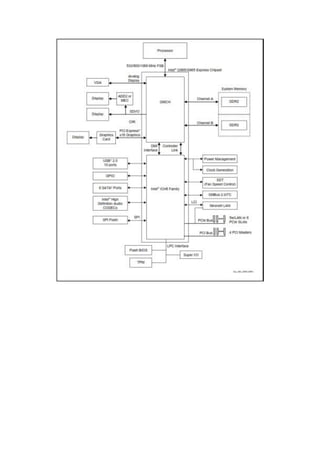
Изпитна тема № 10
Блокова схема на дънна платка с Chipset Intel 850 за процесор
Intel Pentium 4
…………………………………………………………………………………..
Блок схема на дънната платка
…………………………………………………………………………………..
Изпитна тема № 11
Блокова схема на дънна платка с Chipset Intel 845 за процесор
Intel Pentium 4
Блок схема на дънната платка
…………………………………………………………………………………..
Изпитна тема № 12
Блокова схема на дънна платка с Chipset Intel 865 за процесор
Intel Pentium 4
Блок схема на дънната платка
…………………………………………………………………………………..
Изпитна тема № 13
Блокова схема на дънна платка с Chipset Intel 915 за
процесор Intel Pentium 4
Изпитна тема № 14
Блокова схема на дънна платка с Chipset Intel 925 за процесор
Intel Pentium 4
Изпитна тема № 15
Блокова схема на дънна платка с Chipset Intel 965 за процесор
Intel Core 2 Duo
Изпитна тема № 16
Блокова схема на дънна платка с Chipset на Intel за най-
новите процесори Intel за PC
…………………………………………………………………………………..
…………………………………………………………………………………..
…………………………………………………………………………………..
…………………………………………………………………………………..
Изпитна тема № 17
Блокова схема на дънна платка с 64 битов процесор на AMD
за PC - Athlon 64/FX
…………………………………………………………………………………..
…………………………………………………………………………………..
…………………………………………………………………………………..
…………………………………………………………………………………..
Изпитна тема № 18
Блокова схема на дънна платка за най-новите процесори на
AMD за PC
………………………………………...…………………………………………..
…………………………………………………………………………………..
…………………………………………………………………………………..

Block diagrame 1

  • 1.
    Изпитна тема №3 Процесор Intel 80286 Копроцесор Intel 80287 Контролер на паметта 8207 Памет DRAM 640 КВ до 16 MB ROM BIOS Таймер Брояч 8254 2 DMA контролера 8237 DMA регистър на страницата Контролер за клавиатурата 8042 Тактов генератор 82284 Контролер на шината 82288 Клавиатура Графична карта EGA Контролер за флопи и тв. дискове Сериен/ паралелен интерфейс Шина ISA-16 6 до 8.33 MHz 2 Контролера на прекъсвания 8259 ВГ Часовник + CMOS - MC146818 Акуму- латор Шина ISA-16 6 до 8.33 MHz 5 АТ-слота 3 РС-слота ШинаISA-8 Блокова схема на дънна платка на IBM/АТ с процесор 80286 …………………………………………………………………………..
  • 2.
  • 3.
    Блокова схема надънна платка на IBM/АТ с процесор 80386
  • 4.
    Изпитна тема №5 Блокова схема на дънна платка с процесор Intel 80486 Блокова схема на дънна платка на IBM/АТ с процесор 80486 ………………………………………………………………………………….. …………………………………………………………………………………..
  • 5.
    Изпитна тема №6 Блокова схема на дънна платка с процесор Intel Pentium, Socket 7 Блокова схема на дънна платка с процесор Intel Pentium, Socket 7 и чипсет 82430FX
  • 6.
    Блокова схема надънна платка с процесор Intel Pentium, Socket 7 и чипсет 82430TX
  • 7.
    Блокова схема надънна платка с процесор Intel Pentium, Socket 7 и чипсет 82430HX
  • 8.
    Блокова схема надънна платка с процесор Intel Pentium, Socket 7 и чипсет 82430VX Блокова схема на дънна платка с процесор Intel Pentium, Socket 7 ………………………………………………………………………………….. …………………………………………………………………………………..
  • 9.
    Изпитна тема №7 Блокова схема на дънна платка с процесор Intel Pentium Pro, Socket 8 Блок схема на дънната платка Блокова схема на дънна платка с процесор Intel Pentium Pro, Socket 8 и чипсет 82440FX
  • 10.
    Блокова схема надънна платка с процесор Intel Pentium Pro, Socket 8 и чипсет 82450GX/KX Забележка: PB – Host-to-PCI мост DC – DRAM Controller DP – Data Path MIC – Memory Interface Controller ………………………………………………………………………………….. …………………………………………………………………………………..
  • 11.
    Изпитна тема №8 Блокова схема на дънна платка с процесор Intel Pentium II, Slot 1 Блок схема на дънната платка Блокова схема на дънна платка с процесор Intel Pentium II, Slot 1 и чипсет 440LX …………………………………………………………………………………..
  • 12.
    Изпитна тема №8 Блокова схема на дънна платка с процесор Intel Pentium III, socket 370 Блок схема на дънната платка Блокова схема на дънна платка с процесор Intel Pentium III, Socket 370 и чипсет 815
  • 13.
    Изпитна тема №10 Блокова схема на дънна платка с Chipset Intel 850 за процесор Intel Pentium 4 ………………………………………………………………………………….. Блок схема на дънната платка
  • 14.
  • 15.
    Изпитна тема №11 Блокова схема на дънна платка с Chipset Intel 845 за процесор Intel Pentium 4 Блок схема на дънната платка
  • 16.
  • 17.
    Изпитна тема №12 Блокова схема на дънна платка с Chipset Intel 865 за процесор Intel Pentium 4 Блок схема на дънната платка …………………………………………………………………………………..
  • 18.
    Изпитна тема №13 Блокова схема на дънна платка с Chipset Intel 915 за процесор Intel Pentium 4
  • 24.
    Изпитна тема №14 Блокова схема на дънна платка с Chipset Intel 925 за процесор Intel Pentium 4
  • 25.
    Изпитна тема №15 Блокова схема на дънна платка с Chipset Intel 965 за процесор Intel Core 2 Duo
  • 28.
    Изпитна тема №16 Блокова схема на дънна платка с Chipset на Intel за най- новите процесори Intel за PC ………………………………………………………………………………….. ………………………………………………………………………………….. ………………………………………………………………………………….. …………………………………………………………………………………..
  • 29.
    Изпитна тема №17 Блокова схема на дънна платка с 64 битов процесор на AMD за PC - Athlon 64/FX
  • 30.
  • 31.
    Изпитна тема №18 Блокова схема на дънна платка за най-новите процесори на AMD за PC ………………………………………...………………………………………….. ………………………………………………………………………………….. …………………………………………………………………………………..