Successfully reported this slideshow.
We use your LinkedIn profile and activity data to personalize ads and to show you more relevant ads. You can change your ad preferences anytime.

3

Share

שמאי מקרקעין - הנדסת הבניין

שמאי מקרקעין - הנדסת הבניין הנה חלק חשוב וקריטי להבנה בתחום הנדל"ן הנדרשת מכל איש מקצוע הרוצה לעסוק בתחום.

להורדת הסיכום חפשו בגוגל
"שמאי מקרקעין"

באתר שמאי מקרקעין תוכלו למצוא ולהוריד את הסיכום וסיכומים רבים אחרים

http://www.shamy-nadlan.co.il/

Related Books

Free with a 30 day trial from Scribd

See all

שמאי מקרקעין - הנדסת הבניין

  1. 1. ‫בנין‬ ‫הנדסת‬ ‫קורס‬–‫טכניון‬ ‫מרצה‬–‫פורמן‬ ‫שי‬ 1 | P a g e‫עו‬"‫תורג‬ ‫ירדן‬ ‫ד‬'‫מן‬ ‫הנדסת‬‫בניין‬– ‫שי‬‫פורמן‬
  2. 2. ‫בנין‬ ‫הנדסת‬ ‫קורס‬–‫טכניון‬ ‫מרצה‬–‫פורמן‬ ‫שי‬ 2 | P a g e‫עו‬"‫תורג‬ ‫ירדן‬ ‫ד‬'‫מן‬ ‫חוזק‬‫החומרים‬–‫תורת‬‫החוזק‬-‫מ‬‫אמצים‬‫עיקריים‬/‫הטרחות‬........................................................6 1.‫מתיחה‬ ‫מאמץ‬6 2.‫לחיצה‬ ‫מאמץ‬6 3.‫גזירה‬ ‫מאמץ‬7 4.‫פיתול‬ ‫מאמץ‬8 5.‫כפיפה‬ ‫מאמץ‬8 ‫מקדם‬‫ביטחון‬..................................................................................................................8 ‫הרס‬ ‫מאמץ‬8 ‫עומסים‬‫בבנין‬/‫מבנה‬.........................................................................................................9 ‫העומסים‬ ‫חלוקת‬9 ‫עיקריים‬ ‫בנייה‬ ‫חומרי‬.........................................................................................................12 ‫עץ‬..............................................................................................................................12 ‫בטון‬............................................................................................................................12 ‫ומרכיביה‬ ‫הבטון‬ ‫תערובת‬..........................................................................................................12 ‫הבטון‬ ‫יציקת‬–‫שלבים‬12 ‫הבטון‬ ‫וחסרונות‬ ‫יתרונות‬..........................................................................................................14 ‫בטון‬‫מזוין‬.....................................................................................................................14 ‫יתרונות‬‫וחסרונות‬‫בטון‬‫מזוין‬..........................................................................................14 ‫פלדה‬...........................................................................................................................15 ‫יתרונות‬‫וחסרונות‬‫פלדה‬................................................................................................15 ‫פלדה‬ ‫סוגי‬15 ‫בטון‬‫דרוך‬.....................................................................................................................17 ‫דריכה‬ ‫סוגי‬17 ‫קרקע‬/‫ביסוס‬..................................................................................................................18 ‫חקירת‬‫הקרקע‬...............................................................................................................18 ‫שלבים‬ ‫שני‬18 ‫ביסוס‬..........................................................................................................................19 ‫ביסוס‬‫רדוד‬...................................................................................................................19 ‫מרצף‬19 ‫מסד‬ ‫קורות‬19 ‫עובר‬ ‫יסוד‬19 ‫מסד‬20 ‫יסוד‬ ‫פלטת‬20 ‫דוברה‬‫רפסודה‬26 ‫ביסוס‬‫עמוק‬.................................................................................................................27 ‫כלונסאות‬27 ‫כלונסאות‬–‫בדיקות‬‫בקרה‬–‫בדיקות‬‫אל‬‫הרס‬‫לכלונסאות‬.......................................................31 ‫גורמים‬‫המשפיעים‬‫על‬‫בחירת‬‫הביסוס‬.................................................................................32 ‫יסודות‬ ‫תוכנית‬-‫יסודות‬ ‫מתווה‬..............................................................................................33 ‫עמודים‬..........................................................................................................................33 ‫קריסה‬ ‫גורמי‬33
  3. 3. ‫בנין‬ ‫הנדסת‬ ‫קורס‬–‫טכניון‬ ‫מרצה‬–‫פורמן‬ ‫שי‬ 3 | P a g e‫עו‬"‫תורג‬ ‫ירדן‬ ‫ד‬'‫מן‬ ‫קורות‬..........................................................................................................................35 ‫קורות‬ ‫של‬ ‫סוגים‬ ‫ארבעה‬...........................................................................................................35 ‫הקורה‬ ‫זיון‬38 ‫קורה‬ ‫של‬ ‫שקיעה‬39 ‫בקורה‬ ‫הפיתול‬ ‫נקודת‬40 ‫תמיכה‬ ‫נקודת‬ ‫סמך‬41 ‫תקרות‬.........................................................................................................................42 ‫באתר‬ ‫יצוקות‬ ‫תקרות‬..............................................................................42 ‫באתר‬ ‫יצוקות‬ ‫שאינן‬ ‫תקרות‬.....................................................................49 ‫רצפות‬-‫רצפת‬‫קומת‬‫הקרקע‬.............................................................................................52 ‫קירות‬..........................................................................................................................54 1.‫ראשונה‬ ‫חלוקה‬-‫נושאים‬ ‫ושאינם‬ ‫נושאים‬ ‫קירות‬.......................................54 2.‫שנייה‬ ‫חלוקה‬–‫יציקה‬ ‫אחרי‬ ‫יציקה‬ ‫לפני‬ ‫קירות‬..........................................54 3.‫שלישית‬ ‫חלוקה‬–‫בנייה‬ ‫חומרי‬ ‫לפי‬ ‫חלוקה‬–‫רטובה‬ ‫ושיטה‬ ‫יבשה‬ ‫שיטה‬.........54 4.‫רביעית‬ ‫חלוקה‬–‫הקיר‬ ‫ייעודי‬–‫פנים‬ ‫וקיר‬ ‫חוץ‬ ‫קיר‬...................................55 ‫קירות‬‫תומכים‬...............................................................................................................56 ‫זיזי‬ ‫קיר‬-‫אופקי‬56 ‫כובד‬ ‫קיר‬59 ‫דיפון‬ ‫קיר‬(‫שיגומים‬)59 ‫קרקעיים‬ ‫תת‬ ‫מבנים‬..........................................................................................................62 ‫איטום‬ ‫בעיות‬ ‫מניעת‬/‫רטיבות‬................................................................................................62 1.‫עיליים‬ ‫מים‬ ‫הרחקת‬................................................................................62 2.‫קרקעיים‬ ‫תת‬ ‫מים‬ ‫הרחקת‬.......................................................................62 3.‫מים‬ ‫חדירת‬ ‫נגד‬ ‫המבנה‬ ‫קירות‬ ‫איטום‬........................................................63 ‫ומשקים‬ ‫תפרים‬................................................................................................................67 ‫תפר‬............................................................................................................................67 ‫התפר‬ ‫של‬ ‫העיקריים‬ ‫תפקידיו‬....................................................................................................67 ‫מיקום‬67 ‫מישק‬.........................................................................................................................71 ‫יציקה‬ ‫הפסקות‬71 ‫פלדה‬ ‫מבני‬.......................................................................................................................73 ‫שני‬‫סוגים‬‫של‬‫מבני‬‫פלדה‬.................................................................................................73 ‫קלים‬ ‫מבנים‬..........................................................................................73 ‫כבדים‬ ‫מבנים‬.........................................................................................73 ‫פרופילים‬‫של‬‫פלדה‬‫וצורות‬‫החתך‬‫שלהם‬...............................................................................73 ‫זויתן‬ ‫פרופיל‬73 ‫מלבני‬ ‫ריבועי‬ ‫פרופיל‬73 ‫פרופיל‬I74 ‫פרופיל‬U74 ‫צינור‬ ‫פרופיל‬74
  4. 4. ‫בנין‬ ‫הנדסת‬ ‫קורס‬–‫טכניון‬ ‫מרצה‬–‫פורמן‬ ‫שי‬ 4 | P a g e‫עו‬"‫תורג‬ ‫ירדן‬ ‫ד‬'‫מן‬ ‫הגנה‬‫על‬‫פלדה‬................................................................................................................74 ‫פלדה‬‫או‬‫בטון‬.................................................................................................................74 ‫חוזק‬‫של‬‫פלדה‬...............................................................................................................75 ‫חיבורים‬‫בפלדה‬.............................................................................................................75 ‫א‬.‫ברגים‬....................................................................................................75 ‫ב‬.‫ריתוך‬....................................................................................................76 ‫ג‬.‫מסמרה‬.................................................................................................76 ‫אמינות‬‫החיבור‬.............................................................................................................77 ‫דוגמאות‬‫לאלמנטים‬‫מפלדה‬..............................................................................................77 ‫עמודים‬77 ‫קורות‬.......................................................................................................................79 ‫פרופילים‬‫שונים‬‫המשמשים‬‫לקורות‬....................................................................................79 "‫פרקי‬ ‫חיבור‬"79 "‫רתום‬ ‫חיבור‬"79 ‫מסבך‬/‫אגד‬80 ‫עץ‬ ‫קונסטרוקציות‬.............................................................................................................84 ‫גגות‬‫עץ‬........................................................................................................................84 ‫רעפים‬ ‫גגות‬84 ‫מוגן‬ ‫מרחב‬.......................................................................................................................86 ‫ממ‬"‫ד‬-‫מרחב‬‫מוגן‬‫דירתי‬..................................................................................................86 ‫ממ‬"‫ק‬-‫מרחב‬‫מוגן‬‫קומתי‬.................................................................................................86 ‫ממ‬"‫מ‬-‫מרחב‬‫מוגן‬‫מוסדי‬.................................................................................................87 ‫מדרגות‬ ‫חדרי‬..................................................................................................................888 ‫מבנה‬‫המדרגה‬...............................................................................................................88 ‫רוחב‬‫המדרגה‬................................................................................................................89 ‫מזקף‬‫ראש‬....................................................................................................................89 ‫כמות‬‫מדרגות‬.................................................................................................................89 ‫מעקה‬‫בחדר‬‫מדרגות‬........................................................................................................90 ‫חדר‬‫מדרגות‬–‫מידות‬‫מינימום‬‫נדרשות‬.................................................................................90 ‫שטח‬90 ‫מדרגות‬ ‫חדר‬ ‫של‬ ‫מינימאלי‬ ‫רוחב‬................................................................................................90 ‫מרחב‬‫יציאה‬(‫מילוט‬)‫לכיוון‬‫חדר‬‫מדרגות‬..............................................................................91 ‫קירות‬‫חדר‬‫המדרגות‬.......................................................................................................91 ‫אינסטלציה‬......................................................................................................................92 ‫דרישות‬‫יסוד‬‫למתקני‬‫תברואה‬...........................................................................................92 ‫חומרי‬‫הצנרת‬.................................................................................................................93 ‫מתכתיים‬...............................................................................................93 ‫מתכתיים‬ ‫אל‬..........................................................................................93 ‫הרכבת‬‫הצנרת‬...............................................................................................................94 ‫מערכת‬‫ניקוז‬.................................................................................................................95
  5. 5. ‫בנין‬ ‫הנדסת‬ ‫קורס‬–‫טכניון‬ ‫מרצה‬–‫פורמן‬ ‫שי‬ 5 | P a g e‫עו‬"‫תורג‬ ‫ירדן‬ ‫ד‬'‫מן‬ ‫חיבור‬‫לרשת‬‫אינסטלציה‬‫ציבורית‬......................................................................................95 ‫המבנה‬ ‫צינור‬ ‫הטמנת‬96 ‫העירוני‬ ‫האטמוספרות‬ ‫לחץ‬.......................................................................................................96 ‫הגג‬ ‫על‬ ‫מים‬ ‫מיכל‬96 ‫אש‬ ‫כיבוי‬97 ‫הביוב‬ ‫לרשת‬ ‫חיבור‬97 ‫סילוק‬‫ביוב‬‫פרטי‬............................................................................................................98 ‫חלחול‬ ‫בור‬98 ‫רקב‬ ‫בור‬99 ‫ניקוז‬‫מי‬‫גשם‬.................................................................................................................99 ‫ואיטום‬ ‫בידוד‬..................................................................................................................100 ‫איטום‬‫ובידוד‬‫גגות‬........................................................................................................100 ‫חדרים‬‫רטובים‬.............................................................................................................101 ‫טיח‬..............................................................................................................................102 ‫תפקידי‬‫הטיח‬..............................................................................................................102 ‫מרכיבי‬‫הטיח‬..............................................................................................................102 ‫אופן‬‫ביצוע‬‫הטיח‬..........................................................................................................102 ‫דגשים‬‫לגבי‬‫טיח‬...........................................................................................................102 ‫וחיפוי‬ ‫ריצוף‬ ‫עבודות‬.........................................................................................................103 ‫חיפוי‬‫חוץ‬-‫אבן‬.............................................................................................................103 010.1‫הרטובה‬ ‫השיטה‬...................................................................................103 020.1‫ההדבקה‬ ‫שיטת‬.....................................................................................103 030.1‫היבשה‬ ‫השיטה‬.....................................................................................103 040.1‫ברנוביץ‬ ‫שיטת‬......................................................................................103 ‫ריצוף‬.........................................................................................................................104 ‫זכוכית‬ ‫עבודות‬/‫מסך‬ ‫קירות‬................................................................................................105 ‫סוגי‬‫זכוכית‬.................................................................................................................105 0‫מחוסמת‬ ‫בטיחותית‬ ‫זכוכית‬...................................................................105 1‫רבודה‬ ‫בטיחותית‬ ‫זכוכית‬.......................................................................105 2‫בטיחותית‬ ‫רגילה‬ ‫זכוכית‬........................................................................105 3‫אנטי‬ ‫זכוכית‬-‫סאן‬.................................................................................105 4‫רפלקטיבית‬ ‫זכוכית‬...............................................................................105 5Low e-‫חכמה‬ ‫זכוכית‬...........................................................................105 6‫אש‬ ‫חסינת‬ ‫זכוכית‬.................................................................................105 ‫אקוסטיקה‬/‫רעש‬ ‫מפלס‬....................................................................................................106 ‫בידוד‬‫אקוסטי‬.............................................................................................................106 ‫חשמל‬ ‫עבודות‬.................................................................................................................107 ‫אלמנטים‬‫במערכת‬‫עבודות‬‫חשמל‬.....................................................................................107
  6. 6. ‫בנין‬ ‫הנדסת‬ ‫קורס‬–‫טכניון‬ ‫מרצה‬–‫פורמן‬ ‫שי‬ 6 | P a g e‫עו‬"‫תורג‬ ‫ירדן‬ ‫ד‬'‫מן‬ ‫הכנות‬‫עבור‬‫חברת‬‫חשמל‬................................................................................................107 ‫כבלים‬‫ומוליכים‬...........................................................................................................107 ‫הארקות‬‫והגנות‬‫במבנה‬..................................................................................................107 ‫לוח‬‫מתגים‬‫דירתי‬.........................................................................................................108 ‫מיקום‬‫אביזרים‬‫והתקנתם‬..............................................................................................108 ‫עלויות‬/‫כמויות‬ ‫כתב‬–‫כמויות‬ ‫חישוב‬....................................................................................109 ‫כללי‬.........................................................................................................................109 ‫למגורים‬ ‫בבנייה‬ ‫התשומה‬ ‫מחירי‬ ‫במדד‬ ‫באחוזים‬ ‫סעיפים‬ ‫משקל‬.................................................109 ‫הגדרות‬–‫נמדוד‬ ‫וכיצד‬ ‫נשלם‬ ‫מה‬ ‫על‬.........................................................................................109 ‫שונים‬ ‫מבנים‬ ‫לסוגי‬ ‫העלויות‬ ‫מרכיבי‬ ‫של‬ ‫היחסי‬ ‫חלקם‬................................................................111 ‫חישוב‬‫כמויות‬–‫עבודות‬.................................................................................................112 0.1‫עפר‬ ‫עבודות‬..........................................................................................113 0.2‫בטון‬ ‫עבודות‬.........................................................................................114 0.3‫דרוך‬ ‫בטון‬............................................................................................116 0.4‫בנייה‬ ‫עבודות‬........................................................................................116 0.5‫איטום‬ ‫עבודות‬......................................................................................116 0.9‫טיח‬ ‫עבודות‬..........................................................................................117 10‫ריצוף‬ ‫עבודות‬................................................................. .......................117 11‫צבע‬ ‫עבודות‬............................................................................................117 ‫ובנייה‬ ‫תכנון‬...................................................................................................................118 ‫תכנון‬‫ורישוי‬...............................................................................................................118 ‫חומרים‬ ‫חוזק‬/‫החוזק‬ ‫תורת‬ ‫חומרים‬ ‫חוזק‬-‫המבנה‬ ‫על‬ ‫המופעלים‬ ‫חיצוניים‬ ‫כוחות‬ ‫השפעת‬ ‫תחת‬ ‫מבנה‬ ‫חלקי‬ ‫של‬ ‫התנהגות‬.‫חיצוני‬ ‫כוח‬ ‫להיות‬ ‫יכול‬‫שלנו‬ ‫משקל‬ ‫עומס‬ ‫או‬ ‫רוח‬ ‫עומס‬‫עומדים‬ ‫כשאנו‬‫הרצפה‬ ‫על‬,‫האלמנט‬ ‫על‬ ‫חיצוני‬ ‫עומס‬ ‫אנו‬. ‫האלמנט‬ ‫בתוך‬ ‫מתהווים‬ ‫החיצוניים‬ ‫מהכוחות‬ ‫כתוצאה‬/‫הנקראות‬ ‫תופעות‬ ‫חומר‬‫מאמצים‬(‫של‬ ‫תגובות‬ ‫החומר‬)‫ל‬ ‫שמלווים‬‫הנקראות‬ ‫תופעות‬‫דפורמציה‬/‫עיוות‬(‫או‬ ‫התארכות‬ ‫כמו‬ ‫הצורה‬ ‫שינוי‬‫שקיעה‬).‫מאמצים‬ ‫בבניין‬ ‫אלמנט‬ ‫בכל‬ ‫כמעט‬ ‫נמצאים‬ ‫אלו‬. ‫עיקריים‬ ‫מאמצים‬/‫הטרחות‬: 1.‫מאמץ‬‫מתיחה‬ ‫גוף‬‫נתון‬‫למתיחה‬‫כאשר‬‫שני‬‫כוחות‬‫שווים‬‫בשיעורם‬‫ומנוגדים‬‫בכיוונם‬‫פועלים‬‫לאורך‬‫צירו‬‫כלפי‬‫חוץ‬.‫בעקבות‬ ‫המתיחה‬‫הגוף‬‫מתארך‬‫ושטח‬‫החתך‬‫קטן‬.‫בפלוס‬ ‫נסמן‬(+).‫חיצוני‬ ‫כוח‬ ‫הגוף‬ ‫על‬ ‫פועל‬ ‫כאשר‬,‫פנימי‬ ‫כוח‬‫של‬ ‫האלמנט‬‫מתנגד‬‫א‬‫ל‬‫יו‬‫הגוף‬ ‫שלמות‬ ‫על‬ ‫ושומר‬.‫הגוף‬ ‫חתך‬ ‫של‬ ‫שטחו‬ ‫כל‬ ‫על‬ ‫בשווה‬ ‫שווה‬ ‫מתחלק‬ ‫הפנימי‬ ‫הכוח‬ ‫מאמץ‬ ‫נוצר‬ ‫הגוף‬ ‫בחתך‬ ‫נקודה‬ ‫ובכל‬. P=‫חיצוני‬ ‫כוח‬,A=‫החתך‬ ‫שטח‬ ‫כוח‬ ‫מפעילים‬P‫על‬A.‫החתך‬ ‫לשטח‬ ‫הניצב‬ ‫עומס‬ ‫הוא‬ ‫מתיחה‬ ‫מאמץ‬.‫ב‬ ‫תלוי‬ ‫המאמץ‬ ‫גודל‬-P‫יותר‬ ‫הגדול‬. ‫יותר‬ ‫גדולה‬ ‫תהיה‬ ‫הדפורמציה‬ ‫גם‬.‫לשאת‬ ‫מסוגל‬ ‫שהגוף‬ ‫המאמץ‬ ‫מן‬ ‫גדול‬ ‫והמאמץ‬ ‫במתיחה‬ ‫נתון‬ ‫הגוף‬ ‫כאשר‬– ‫הגוף‬ ‫אזי‬‫ייקרע‬:
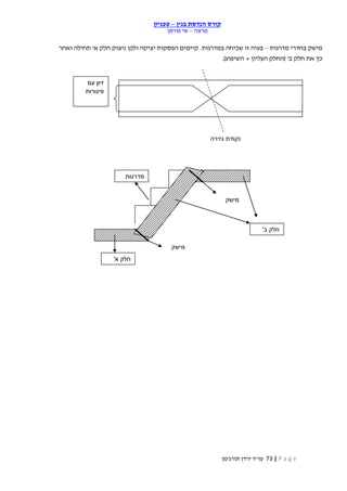
  7. 7. ‫בנין‬ ‫הנדסת‬ ‫קורס‬–‫טכניון‬ ‫מרצה‬–‫פורמן‬ ‫שי‬ 7 | P a g e‫עו‬"‫תורג‬ ‫ירדן‬ ‫ד‬'‫מן‬ 2.‫מאמץ‬‫לחיצה‬ ‫ללח‬ ‫נתון‬ ‫הגוף‬‫ץ‬‫פנים‬ ‫כלפי‬ ‫צירו‬ ‫לכיוון‬ ‫פועלים‬ ‫בכיוונם‬ ‫ומנוגדים‬ ‫בשיעורם‬ ‫שווים‬ ‫כוחות‬ ‫שני‬ ‫כאשר‬.‫בעקבות‬ ‫גדל‬ ‫חתכו‬ ‫ושטח‬ ‫מתקצר‬ ‫הגוף‬ ‫הלחיצה‬.‫ב‬‫סימן‬‫מינוס‬(-). ‫לקריסה‬ ‫להוביל‬ ‫עלול‬ ‫לחיצה‬ ‫מאמץ‬. P A   ‫לחיצה‬ ‫מאמץ‬ . ‫נוצר‬‫נוסף‬ ‫רכיב‬,‫הרסני‬ ‫יותר‬ ‫הרבה‬ ‫הוא‬ ‫המומנט‬. (moment) P R M ‫זרוע‬ ‫כפול‬ ‫כוח‬ ‫זה‬ ‫מומנט‬,‫מסוים‬ ‫לכיוון‬ ‫שפועל‬ ‫כוח‬ P=‫חיצוני‬ ‫כוח‬,R=‫המדידה‬ ‫מנקודת‬ ‫הכוח‬ ‫מרחק‬ ‫הקריסה‬ ‫על‬ ‫משפיע‬ ‫מה‬? (‫א‬)‫העמוד‬ ‫גובה‬-‫יותר‬ ‫גדולה‬ ‫הקריסה‬ ‫סכנת‬ ‫יותר‬ ‫גבוה‬ ‫שהעמוד‬ ‫ככל‬ (‫ב‬)‫של‬ ‫החיבור‬ ‫צורת‬‫ה‬‫לו‬ ‫הסמוכים‬ ‫לאלמנטים‬ ‫עמוד‬ (‫ג‬)‫העמוד‬ ‫חתך‬ ‫צורת‬-‫על‬ ‫להתגבר‬ ‫אפשר‬‫קריסה‬ ‫סכנת‬‫ע‬"‫צורת‬ ‫שינוי‬ ‫י‬/‫החתך‬ ‫שטח‬.‫העומס‬‫ים‬‫בבנין‬ ‫בד‬"‫נתונים‬ ‫כ‬,‫בהתאם‬ ‫ומשנים‬ ‫נתון‬ ‫המשקל‬‫את‬ ‫אליו‬‫החתך‬ ‫צורת‬‫כאמור‬‫סכנת‬ ‫למנוע‬ ‫מנת‬ ‫על‬ ‫קריסה‬. (‫ד‬)‫עשוי‬ ‫העמוד‬ ‫ממנו‬ ‫החומר‬. ‫אפשריים‬ ‫עמוד‬ ‫חתך‬ ‫סוגי‬: (‫ה‬)‫עגול‬ ‫חתך‬-‫ו‬ ‫עגול‬ ‫הוא‬ ‫החתך‬ ‫אם‬‫שווה‬ ‫שהשטח‬ ‫בהנחה‬,‫שווה‬ ‫כיוון‬ ‫לכל‬ ‫לקרוס‬ ‫העמוד‬ ‫של‬ ‫הסיכוי‬. ‫זה‬‫ו‬‫האופטימ‬ ‫העמוד‬‫א‬‫לי‬‫וזאת‬‫שווה‬ ‫באופן‬ ‫מתפזר‬ ‫שהלחץ‬ ‫בגלל‬. (‫ו‬)‫חתך‬‫מרובע‬-‫לעומת‬‫העגול‬ ‫החתך‬,‫המרובע‬ ‫לחתך‬‫יש‬2‫אליהם‬ ‫ליפול‬ ‫שווה‬ ‫סיכוי‬ ‫יש‬ ‫בהם‬ ‫צדדים‬. (‫ז‬)‫חתך‬‫מלבני‬-‫הקריסה‬ ‫סיכון‬ ‫בה‬ ‫ביותר‬ ‫השכיחה‬ ‫הצורה‬‫הוא‬‫ביותר‬ ‫הגבוה‬,‫לכיוון‬ ‫יקרוס‬ ‫תמיד‬ ‫הקצר‬.
  8. 8. ‫בנין‬ ‫הנדסת‬ ‫קורס‬–‫טכניון‬ ‫מרצה‬–‫פורמן‬ ‫שי‬ 8 | P a g e‫עו‬"‫תורג‬ ‫ירדן‬ ‫ד‬'‫מן‬ 3.‫מאמץ‬‫גזירה‬ ‫האלמנט‬ ‫של‬ ‫האורך‬ ‫לציר‬ ‫בניצב‬ ‫הפועל‬ ‫עומס‬(‫לקורה‬ ‫בניצב‬)‫חלקים‬ ‫לשני‬ ‫אותו‬ ‫לגזור‬ ‫ורוצה‬‫אנו‬ ‫אותו‬ ‫ולנתק‬ ‫הסמך‬ ‫בקרבת‬ ‫שמתרחש‬ ‫סדק‬ ‫של‬ ‫בצורה‬ ‫זאת‬ ‫רואים‬.‫בשיעורם‬ ‫שווים‬ ‫כוחות‬ ‫שני‬ ‫כאשר‬ ‫לגזירה‬ ‫נתון‬ ‫גוף‬ ‫מזה‬ ‫זה‬ ‫ביותר‬ ‫קטן‬ ‫במרחק‬ ‫לצירו‬ ‫בניצב‬ ‫פועלים‬ ‫בכיוונם‬ ‫ומנוגדים‬(‫מספריים‬ ‫כמו‬),‫לגזור‬ ‫שואפים‬ ‫אלו‬ ‫כוחות‬ ‫האחר‬ ‫החלק‬ ‫כלפי‬ ‫שלו‬ ‫אחד‬ ‫חלק‬ ‫להזיז‬ ‫או‬ ‫הגוף‬ ‫את‬. ‫בד‬"‫קוויים‬ ‫האלמנטים‬ ‫כ‬‫כמו‬‫קורות‬,‫כוח‬ ‫פועל‬ ‫הקורה‬ ‫ציר‬ ‫על‬,‫האלמנט‬ ‫לציר‬ ‫ניצב‬ ‫עומס‬.‫שמתקרבים‬ ‫ככל‬ ‫ה‬ ‫לכיוון‬‫סמך‬=(‫עמוד‬)‫בסמך‬ ‫יהיה‬ ‫המקסימום‬ ‫כאשר‬ ‫עומסים‬ ‫ויותר‬ ‫יותר‬ ‫אוספים‬.‫שהעמוד‬ ‫אומרת‬ ‫זאת‬ ‫ולכן‬ ‫ההשענה‬ ‫בנקודת‬ ‫העומס‬ ‫את‬ ‫אוסף‬‫גזירה‬ ‫של‬ ‫במצב‬,‫נגזר‬ ‫למעשה‬ ‫הקורה‬‫ת‬‫ו‬‫נשבר‬‫ת‬‫הזו‬ ‫בצורה‬: ‫לסמך‬ ‫מאוד‬ ‫קרוב‬ ‫שיקרה‬ ‫סביר‬ ‫אך‬ ‫הקורה‬ ‫על‬ ‫מקום‬ ‫בכל‬ ‫לקרות‬ ‫יכול‬ ‫הניתוק‬,‫התמיכה‬ ‫לנקודת‬ ‫קרוב‬. ‫מת‬‫מ‬‫ודדי‬‫ם‬‫ע‬ ‫זה‬ ‫עם‬"‫המנוגד‬ ‫ברזל‬ ‫מוטות‬ ‫י‬‫ים‬‫ו‬ ‫לסדק‬‫ע‬"‫י‬‫חישוקים‬.‫גזירה‬ ‫מאמץ‬= P A  . 4.‫מאמץ‬‫פיתול‬ ‫העמוד‬ ‫פיתול‬.‫המוט‬ ‫של‬ ‫המישורים‬ ‫בין‬ ‫גזירה‬ ‫מאמץ‬ ‫לאורך‬ ‫מתיחה‬ ‫מאמץ‬.‫פני‬ ‫כאשר‬ ‫לפיתול‬ ‫ניתן‬ ‫גוף‬ ‫לציר‬ ‫מסביב‬ ‫לפתלו‬ ‫ושואפים‬ ‫הגוף‬ ‫על‬ ‫פועלים‬ ‫במגמתם‬ ‫ומנוגדים‬ ‫בשיעורם‬ ‫שווים‬ ‫מומנטים‬.‫של‬ ‫שילוב‬ ‫המוט‬ ‫לאורך‬ ‫מתיחה‬/‫הקורה‬ ‫מישורי‬ ‫בין‬ ‫גזירה‬ ‫של‬ ‫ומאמץ‬ ‫קורה‬/‫מוט‬-‫אחרת‬ ‫לנקודה‬ ‫לזוז‬ ‫רוצה‬ ‫נקודה‬ ‫כל‬, ‫הקורה‬ ‫בהיקף‬ ‫מתיחה‬ ‫לנו‬ ‫יש‬.‫גזירה‬ ‫לחתך‬ ‫חתך‬ ‫כל‬ ‫ובין‬ ‫בהיקף‬ ‫מתיחה‬ ‫נוצרת‬.‫הזה‬ ‫המאמץ‬ ‫להפחתת‬ ‫הפתרון‬ ‫ע‬ ‫יהיה‬"‫החישוקים‬ ‫כמות‬ ‫הגברת‬ ‫י‬. 5.‫מאמץ‬‫כפיפה‬ ‫לצירו‬ ‫בניצב‬ ‫פועלים‬ ‫מקבילים‬ ‫כוחות‬ ‫שני‬ ‫כאשר‬ ‫לכפיפה‬ ‫נתון‬ ‫גוף‬,‫מתכופף‬ ‫הגוף‬ ‫כך‬ ‫עקב‬.‫הקורה‬ ‫אם‬ ‫מתכופפת‬‫אזי‬‫התקצרות‬ ‫ישנה‬ ‫מהכפיפה‬ ‫כתוצאה‬/‫לחיצה‬)-(‫העליון‬ ‫בחלק‬,‫והתארכות‬/‫מתיחה‬)+(‫בחלק‬ ‫התחתון‬. A-‫לחץ‬ ‫קיים‬ ‫לא‬ ‫בו‬ ‫אזור‬ ‫הוא‬
  9. 9. ‫בנין‬ ‫הנדסת‬ ‫קורס‬–‫טכניון‬ ‫מרצה‬–‫פורמן‬ ‫שי‬ 9 | P a g e‫עו‬"‫תורג‬ ‫ירדן‬ ‫ד‬'‫מן‬ ‫הפלדה‬ ‫במוטות‬ ‫משתמשים‬ ‫המתיחה‬ ‫ולשם‬ ‫בלחיצה‬ ‫חזק‬ ‫בטון‬. ‫ביטחון‬ ‫מקדם‬ ‫מאמץ‬‫הרס‬ ‫בטחון‬ ‫מקדם‬=‫ע‬' P‫הרס‬=P‫מותר‬ ‫ההרס‬ ‫מאמץ‬‫ה‬ ‫מהמאמצים‬ ‫אחד‬ ‫כל‬ ‫בשל‬ ‫להתקיים‬ ‫יכול‬‫נ‬"‫ל‬,‫למנוע‬ ‫ניתן‬‫ע‬ ‫אותו‬"‫ביטחון‬ ‫במקדם‬ ‫שימוש‬ ‫י‬, ‫ונ‬‫תכנ‬‫ן‬‫מותר‬ ‫מאמץ‬ ‫לפי‬. . ‫קטן‬ ‫מוט‬ ‫מקבלים‬ ‫היינו‬ ‫ביטחון‬ ‫מקדם‬ ‫ללא‬‫באמת‬ ‫שצריך‬ ‫ממה‬.‫הביטחון‬ ‫מקדם‬ ‫עם‬‫אנו‬‫להיות‬ ‫לחתך‬ ‫גורמים‬ ‫יותר‬ ‫גדול‬.‫המבנה‬ ‫על‬ ‫הגנה‬ ‫מבטיח‬ ‫הביטחון‬ ‫מקדם‬(‫החומר‬ ‫מבחינת‬ ‫הגנה‬). ‫בשל‬ ‫נדרש‬ ‫ביטחון‬ ‫מקדם‬: ‫דיוק‬‫העומס‬-‫העומס‬ ‫של‬ ‫הדיוק‬ ‫מידת‬ ‫את‬ ‫מגדילים‬,‫מוגדרים‬ ‫לעומסים‬ ‫בהתאם‬ ‫האלמנטים‬ ‫את‬ ‫מתכננים‬ ‫מראש‬.‫ביטחון‬ ‫של‬ ‫אלמנט‬ ‫חייבים‬. ‫בביצוע‬ ‫דיוק‬–‫מסוים‬ ‫בחתך‬ ‫מוט‬ ‫מהקבלן‬ ‫מבקשים‬‫ש‬ ‫בכדי‬‫לא‬‫נ‬‫לכשל‬ ‫גיע‬,‫שבביצוע‬ ‫לקרות‬ ‫יכול‬‫דיוק‬ ‫אין‬ ‫ו‬‫חייבים‬ ‫לכן‬‫איזשהו‬‫ביטחון‬ ‫מקדם‬. ‫בנוסף‬‫ל‬‫ביטחון‬ ‫מקדם‬‫ומחשבים‬ ‫בחשבון‬ ‫לוקחים‬ ‫שאנו‬,‫שלו‬ ‫בייצור‬ ‫עצמו‬ ‫לחומר‬ ‫גם‬ ‫יש‬,‫אחר‬ ‫ביטחון‬ ‫מקדם‬ ‫לכשל‬ ‫לגרום‬ ‫שיכולים‬ ‫הגורמים‬ ‫לכמות‬ ‫בהתאם‬.‫הנ‬ ‫כל‬ ‫של‬ ‫המרכיב‬ ‫הוא‬ ‫הכללי‬ ‫הביטחון‬ ‫מקדם‬"‫ל‬. ‫דוגמא‬: ‫עליו‬ ‫שמופעל‬ ‫מוט‬20‫טון‬=p,‫הוא‬ ‫ההרס‬ ‫מאמץ‬‫ויש‬‫למצוא‬‫את‬‫מקדם‬‫הביטחון‬‫ואת‬‫שטח‬‫החתך‬ A. ‫מותר‬ ‫הרס‬ ‫מאמץ‬: ‫ו‬ ‫מאחר‬,‫ש‬ ‫נקבל‬: ‫ב‬ ‫עומסים‬‫בנין‬/‫מבנה‬ ‫לקרקע‬ ‫עוברים‬ ‫הבניין‬ ‫עומסי‬.‫נשענת‬ ‫היא‬ ‫שעליהם‬ ‫שמתחתיה‬ ‫לקורות‬ ‫העומס‬ ‫את‬ ‫מעבירה‬ ‫העליונה‬ ‫התקרה‬, ‫לקומה‬ ‫מקומה‬ ‫וכך‬ ‫נשענות‬ ‫שעליהן‬ ‫לעמודים‬ ‫העומס‬ ‫את‬ ‫מעבירות‬ ‫הקורות‬.‫על‬ ‫העומס‬ ‫בקומות‬ ‫שיורדים‬ ‫ככול‬ ‫וגדל‬ ‫הולך‬ ‫העמודים‬.‫ליסוד‬ ‫העומס‬ ‫עובר‬ ‫וממנו‬ ‫היסוד‬ ‫לעמוד‬ ‫העומס‬ ‫את‬ ‫מעביר‬ ‫התחתון‬ ‫העמוד‬.‫כאש‬‫ר‬ 25000 2500 2 kg cm   3 220 10 8 2500 P A cm     
  10. 10. ‫בנין‬ ‫הנדסת‬ ‫קורס‬–‫טכניון‬ ‫מרצה‬–‫פורמן‬ ‫שי‬ 10 | P a g e‫עו‬"‫תורג‬ ‫ירדן‬ ‫ד‬'‫מן‬ ‫ביסוס‬ ‫סוגי‬ ‫שני‬ ‫מתוארים‬:‫בודד‬ ‫יסוד‬ ‫פלטת‬ ‫על‬ ‫ביסוס‬:‫לקרקע‬ ‫עובר‬ ‫ומשם‬ ‫היסוד‬ ‫בתחתית‬ ‫מתפזר‬ ‫העומס‬, ‫ו‬‫חיתוך‬ ‫כלונס‬ ‫על‬ ‫ביסוס‬:‫לקרקע‬ ‫הכלונס‬ ‫מעטפות‬ ‫בין‬ ‫חיכוך‬ ‫באמצעות‬ ‫לקרקע‬ ‫עובר‬ ‫העומס‬. ‫חלוקת‬‫העומסים‬‫קבוצות‬ ‫למספר‬ ‫המבנה‬ ‫על‬ ‫הפועלים‬‫להלן‬: 2‫העומס‬ ‫פעולת‬ ‫זמן‬ ‫משך‬–‫שימושי‬ ‫ועומס‬ ‫קבוע‬ ‫עומס‬. o‫קבוע‬ ‫עומס‬-‫המבנה‬ ‫חלקי‬ ‫על‬ ‫קבע‬ ‫דרך‬ ‫שפועל‬ ‫אנכי‬ ‫עומס‬,‫ה‬ ‫שהוא‬‫עומס‬ ‫את‬ ‫שכולל‬‫הפועלים‬ ‫העומסים‬ ‫כל‬‫ה‬ ‫כמו‬‫שלד‬‫של‬‫המבנה‬‫של‬ ‫והעומס‬ ‫אלמנטים‬‫שהוא‬ ‫זמן‬ ‫כל‬ ‫קבוע‬ ‫באופן‬ ‫במבנה‬ ‫שנמצאים‬‫קיים‬‫כמו‬‫חלקי‬ ‫מבנה‬,‫בטון‬,‫ריצוף‬,‫מחיצות‬‫וכו‬'.‫הקבוע‬ ‫העומס‬ ‫לחישוב‬‫את‬ ‫לחשב‬ ‫יש‬ ‫החומר‬ ‫של‬ ‫המרחבי‬ ‫במשקל‬ ‫ולהכפילו‬ ‫האלמנט‬ ‫של‬ ‫הנפח‬,‫משתמשים‬‫ב‬‫תקן‬ ‫ישראלי‬(‫ת‬"‫י‬)109–‫מבנה‬ ‫חלקי‬ ‫של‬ ‫משקלים‬. o‫שימושי‬ ‫עומס‬/‫משתנה‬/‫מועיל‬-‫המבנה‬ ‫תוכנן‬ ‫שעבורם‬ ‫העומס‬,‫של‬ ‫עומס‬ ‫אנשים‬,‫וכדומה‬ ‫ציוד‬,‫ב‬ ‫מדובר‬‫ל‬ ‫לא‬ ‫גם‬ ‫שיכולים‬ ‫קבועים‬ ‫לא‬ ‫אלמנטים‬‫היות‬ ‫בכלל‬.‫קיים‬ ‫שימושי‬ ‫עומס‬ ‫לחישוב‬‫ת‬"‫י‬412,‫שמתכנן‬ ‫מי‬ ‫לכל‬ ‫המגדיר‬ ‫תקן‬ ‫בחשבון‬ ‫לקחת‬ ‫ומה‬ ‫להתייחס‬ ‫עומס‬ ‫לאיזה‬ ‫יעוד‬ ‫לפי‬ ‫בניין‬.‫בית‬ ‫למשל‬ ‫נתון‬ ‫מגורים‬150kg‫מ‬ ‫לכל‬"‫אחד‬ ‫ר‬,‫זה‬ ‫למשרדים‬200mg/m,‫לתעשייה‬ ‫זה‬500mg/m,‫עומס‬ ‫נתון‬ ‫מבנה‬ ‫לכל‬ ‫כלומר‬.‫הנ‬ ‫התקנים‬"‫מופיעים‬ ‫ל‬ ‫בעמודים‬2-3‫בחוברת‬. ‫דוגמא‬:‫כך‬ ‫שמורכבת‬ ‫מגורים‬ ‫בדירת‬ ‫רצפה‬‫המרכיבים‬ ‫כל‬ ‫של‬ ‫המשקל‬ ‫את‬ ‫בחשבון‬ ‫לקחת‬ ‫יש‬: ‫בחישוב‬ ‫שלבים‬- o‫נתון‬‫ב‬‫תקנים‬: ‫בטון‬,‫טיח‬,‫חול‬,‫ריצוף‬+‫טיט‬‫ומחיצות‬. ‫הנ‬ ‫המרכיבים‬ ‫מכל‬ ‫מורכב‬ ‫קבוע‬ ‫עומס‬"‫ל‬,‫המחיצות‬ ‫כולל‬: ‫בטון‬ ‫רצפת‬== ‫חול‬== ‫ריצוף‬+‫טיט‬== ‫טיח‬==
  11. 11. ‫בנין‬ ‫הנדסת‬ ‫קורס‬–‫טכניון‬ ‫מרצה‬–‫פורמן‬ ‫שי‬ 11 | P a g e‫עו‬"‫תורג‬ ‫ירדן‬ ‫ד‬'‫מן‬ o‫הנ‬ ‫כל‬ ‫של‬ ‫סכימה‬"‫ל‬=‫עצמי‬ ‫משקל‬=,‫המחיצות‬ ‫את‬ ‫מוסיפים‬ ‫לזה‬ ‫וזה‬‫יחד‬‫נותן‬‫לנו‬‫את‬‫העומס‬‫הקבוע‬=.‫העומס‬ ‫את‬ ‫לזה‬ ‫נוסיף‬ ‫שזה‬ ‫מגורים‬ ‫לבית‬ ‫שבתקנים‬ ‫השימושי‬150‫הקבוע‬ ‫העומס‬ ‫את‬ ‫ונקבל‬+‫השימושי‬- ‫ביטחון‬ ‫מקדמי‬ ‫ללא‬ ‫הרצפה‬ ‫על‬ ‫בפועל‬ ‫שפועל‬ ‫העומס‬ ‫זה‬. o‫כך‬ ‫יהיה‬ ‫לתכנון‬ ‫העומס‬-‫יש‬‫האלו‬ ‫העומסים‬ ‫את‬ ‫שתכיל‬ ‫גיאומטריה‬ ‫לייצר‬,‫בצורה‬ ‫ש‬ ‫כזו‬‫בעצם‬ ‫יהיה‬ ‫לתכנון‬ ‫העומס‬: ‫הקבוע‬ ‫העומס‬+‫ה‬ ‫העומס‬‫שימושי‬+‫מקדם‬‫ה‬‫ביטחון‬. ‫שבד‬ ‫הביטחון‬ ‫מקדם‬"‫הוא‬ ‫בו‬ ‫משתמשים‬ ‫כ‬1.4‫ו‬ ‫לקבוע‬1.6‫לשימושי‬.‫יהיה‬ ‫לתכנון‬ ‫העומס‬ ‫כלומר‬: ‫כך‬ ‫הכול‬ ‫את‬ ‫מתכננים‬‫מ‬ ‫שכל‬"‫להחזיק‬ ‫יוכל‬ ‫ר‬‫ו‬ ‫טון‬-280‫קילו‬. 3‫העומס‬ ‫פעולת‬ ‫כיון‬/‫הרוח‬ ‫כיוון‬ ‫פעולת‬: ‫אנכי‬ ‫עומס‬–‫סטטי‬ ‫מצב‬–‫של‬ ‫בטחון‬ ‫מקדם‬1.4,‫הפועלים‬ ‫העומסים‬ ‫כל‬‫מעלה‬/‫מטה‬,‫כ‬‫מ‬‫העצמי‬ ‫המשקל‬ ‫ו‬ ‫של‬‫המבנה‬,‫כדה‬ ‫של‬ ‫הכבידה‬ ‫כוח‬ ‫בשל‬ ‫אנכית‬ ‫פעולה‬ ‫הפועל‬"‫א‬. ‫אופקי‬ ‫עומס‬–‫של‬ ‫בטחון‬ ‫מקדם‬1.6,‫ת‬"‫י‬414‫תלוי‬ ‫והוא‬ ‫למבנה‬ ‫לקחת‬ ‫צריך‬ ‫עומס‬ ‫איזה‬ ‫למתכנן‬ ‫מגדיר‬ ‫הרוח‬ ‫במהירות‬(‫בארץ‬ ‫האזור‬ ‫לפי‬ ‫שמשתנה‬),‫המבנה‬ ‫סוג‬(‫שגבוה‬ ‫ככול‬ ‫גדל‬ ‫הרוח‬ ‫עומס‬ ‫כי‬ ‫המבנה‬ ‫גובה‬), ‫המבנה‬ ‫צורת‬(‫רוח‬ ‫עומס‬ ‫מבחינת‬ ‫עדיף‬ ‫עגול‬).‫קטנים‬ ‫במבנים‬(3-4)‫זניח‬ ‫עומס‬ ‫זה‬ ‫קומות‬,‫א‬‫ך‬‫במבנים‬ ‫גבוהים‬(+20‫קומות‬)‫משמעותי‬ ‫הגובה‬ ‫עומס‬.‫ועבורם‬ ‫תמירים‬ ‫והם‬ ‫קטן‬ ‫שמשקלן‬ ‫אנטנות‬ ‫כמו‬ ‫מבנים‬ ‫יש‬ ‫משמעותי‬ ‫הרוח‬ ‫עומס‬.‫בת‬"‫לתכנן‬ ‫שיש‬ ‫העומסים‬ ‫ומוכתבים‬ ‫נמדדים‬ ‫הרוחות‬ ‫ומפת‬ ‫העומסים‬ ‫י‬. ‫אופקי‬ ‫ללחץ‬ ‫דוגמאות‬- ‫רוח‬ ‫עומס‬(‫הזמן‬ ‫כל‬ ‫פועל‬ ‫שלא‬ ‫אקראי‬ ‫עומס‬). ‫קרקע‬ ‫לחץ‬-‫לח‬‫ץ‬‫קי‬ ‫על‬ ‫עפר‬‫ר‬‫תומך‬-‫בצד‬ ‫אדמה‬ ‫ויש‬ ‫תומך‬ ‫קיר‬ ‫יש‬ ‫אם‬,‫הקיר‬‫מפני‬ ‫ותומך‬ ‫מגן‬ ‫המבנה‬ ‫לתוך‬ ‫פנימה‬ ‫האדמה‬ ‫הישפכות‬,‫הנמוך‬ ‫הצד‬ ‫על‬ ‫קרקע‬ ‫לחץ‬ ‫מפעילה‬ ‫הגבוה‬ ‫בצד‬ ‫האדמה‬, ‫בדומה‬‫ל‬‫קרקע‬ ‫ללחץ‬ ‫מתוכננים‬ ‫אותו‬ ‫שתומכים‬ ‫שהקירות‬ ‫מרתפים‬. ‫מים‬ ‫לחץ‬-‫מים‬ ‫מאגר‬/‫הבריכה‬ ‫דופן‬ ‫על‬ ‫אופקי‬ ‫לחץ‬ ‫מפעילים‬ ‫המים‬ ‫בהם‬ ‫בריכה‬/‫שיש‬ ‫המאגר‬ ‫בחשבון‬ ‫לקחת‬.‫מאוד‬ ‫גדול‬ ‫עומס‬ ‫מהווה‬ ‫מים‬ ‫עומס‬ ‫גדולים‬ ‫במאגרים‬. ‫אדמה‬ ‫רעידת‬-‫ת‬"‫י‬413,‫י‬ ‫אדמה‬ ‫רעידת‬‫ו‬‫צר‬‫ת‬‫ידע‬ ‫שהמבנה‬ ‫וצריך‬ ‫אופקיים‬ ‫חיצוניים‬ ‫כוחות‬ ‫כאלו‬ ‫עומסים‬ ‫עם‬ ‫להתמודד‬.‫אדמה‬ ‫מרעידת‬ ‫כתוצאה‬‫המבנה‬‫להתנדנד‬ ‫מתחיל‬‫ולזוז‬,‫התזוזה‬ ‫מסוימת‬ ‫תנודה‬ ‫לצורת‬ ‫למבנה‬ ‫גורמת‬.‫בסיסית‬ ‫בצורה‬‫בה‬‫זהות‬ ‫הקומות‬ ‫כל‬,‫העליונה‬ ‫הקומה‬ ‫יותר‬ ‫גבוהה‬ ‫ברמה‬ ‫תזוז‬,‫ה‬‫בקומות‬ ‫שנעלה‬ ‫ככול‬ ‫יותר‬ ‫גדול‬ ‫יהיה‬ ‫עומס‬.‫מבנה‬ ‫כשמחשבים‬ ‫אדמה‬ ‫לרעידות‬‫ע‬ ‫אלו‬ ‫כוחות‬ ‫מול‬ ‫להתמודד‬ ‫יש‬"‫י‬‫ממ‬ ‫כמו‬ ‫אלמנטים‬"‫עם‬ ‫להתמודד‬ ‫שיודעים‬ ‫ד‬ ‫אופקי‬ ‫כוח‬ ‫של‬ ‫תוספת‬. ‫ה‬ ‫לבסוף‬‫לבסיס‬ ‫מגיע‬ ‫עומס‬,‫כוח‬ ‫יוצרים‬ ‫הכוחות‬*‫מומנט‬ ‫כלומר‬ ‫זרוע‬,‫רוצים‬ ‫להפיל‬/‫המבנה‬ ‫את‬ ‫להפוך‬.‫אחיד‬ ‫לא‬ ‫וזה‬ ‫הקרקע‬ ‫תאוצת‬ ‫מוגדרת‬ ‫בארץ‬ ‫מיקום‬ ‫לכל‬,
  12. 12. ‫בנין‬ ‫הנדסת‬ ‫קורס‬–‫טכניון‬ ‫מרצה‬–‫פורמן‬ ‫שי‬ 12 | P a g e‫עו‬"‫תורג‬ ‫ירדן‬ ‫ד‬'‫מן‬ ‫השבר‬ ‫באזורי‬ ‫יותר‬ ‫גבוהים‬ ‫המקדמים‬.‫רוח‬ ‫של‬ ‫מקסימאלי‬ ‫שילוב‬ ‫אין‬+‫רעידת‬ ‫יחד‬ ‫אדמה‬.‫להסתברות‬ ‫חשיבות‬ ‫יש‬ ‫אדמה‬ ‫ברעידת‬,‫חזויה‬ ‫עוצמה‬,‫חישובי‬ ‫עושים‬ ‫ביטחון‬ ‫מקדם‬ ‫לקבל‬ ‫מנת‬ ‫על‬ ‫המבנה‬ ‫לסוג‬ ‫בהתאם‬ ‫הסתברויות‬(‫עמוסים‬ ‫במבנים‬ ‫חולים‬ ‫בבית‬ ‫למשל‬ ‫מוגבר‬ ‫ביטחון‬ ‫מקדם‬).‫הזזות‬ ‫בסיס‬ ‫על‬ ‫הם‬ ‫התכנונים‬ ‫רוב‬- ‫של‬ ‫שהתכולה‬ ‫אלא‬ ‫ישרוד‬ ‫רק‬ ‫לא‬ ‫שהבניין‬‫ו‬‫תינזק‬ ‫לא‬. ‫מעק‬‫ות‬/‫מסך‬ ‫קירות‬-‫תקן‬1142‫איז‬ ‫מגדיר‬‫ו‬‫במעקה‬ ‫מותרת‬ ‫הזזה‬,‫המעקה‬ ‫על‬ ‫מותר‬ ‫עומס‬ ‫איזה‬,‫גם‬ ‫בכבישים‬ ‫וגם‬ ‫בקניונים‬. 4‫לפי‬ ‫העומס‬ ‫מיון‬‫במבנה‬ ‫האלמנט‬ ‫על‬ ‫העומס‬ ‫פריסת‬ ‫צורת‬: o‫נקודתי‬ ‫עומס‬/‫מרוכז‬-‫קטן‬ ‫שטח‬ ‫על‬ ‫פועל‬,‫של‬ ‫עומס‬100‫טון‬,‫כמו‬‫עמוד‬. o‫מפורס‬ ‫עומס‬/‫מחולק‬–‫מחולק‬/‫פרוס‬‫קווי‬,‫קורה‬ ‫כמו‬. o‫מפורס‬ ‫עומס‬/‫לשטח‬ ‫מחולק‬–‫למיניהם‬ ‫משטחים‬‫אורך‬ ‫יחידות‬ ‫או‬‫כמו‬ ‫ותקרה‬ ‫רצפה‬. ‫חומרי‬‫עיקריים‬ ‫בנייה‬ ‫המבנה‬ ‫שלד‬–‫הצורה‬ ‫את‬ ‫למבנה‬ ‫מקנה‬ ‫הוא‬ ‫העבודה‬ ‫בתחילת‬ ‫שמבוצע‬ ‫החלק‬–‫אורך‬,‫רוחב‬,‫וכו‬ ‫גובה‬'.‫על‬ ‫יציבות‬ ‫למבנה‬ ‫להקנות‬ ‫השלד‬,‫החיצוניים‬ ‫והכוחות‬ ‫העומסים‬ ‫בכל‬ ‫יעמוד‬ ‫שהמבנה‬ ‫לכך‬ ‫אחראים‬ ‫השלד‬ ‫חלקי‬ ‫עליו‬ ‫שפועלים‬,‫במבנה‬ ‫ישארו‬ ‫שלא‬ ‫בכדי‬ ‫לקרקע‬ ‫העומסים‬ ‫את‬ ‫להעביר‬ ‫השלד‬ ‫תפקיד‬. ‫עץ‬-‫גמר‬ ‫בחומרי‬ ‫שמיש‬/‫רעפים‬ ‫גג‬,‫ק‬ ‫מבנים‬‫לים‬.‫בד‬ ‫עדיין‬ ‫אבל‬ ‫דקורטיביות‬ ‫בקורות‬ ‫גם‬ ‫לעיתים‬"‫קל‬ ‫קירוי‬ ‫כ‬ ‫ו‬‫לפלדה‬ ‫ביחס‬ ‫חלש‬ ‫והעץ‬ ‫מאחר‬ ‫כבדים‬ ‫בדברים‬ ‫לא‬. ‫של‬ ‫מאמץ‬‫בממוצע‬. ‫בטון‬- ‫מרבית‬‫שלדי‬‫יצוק‬ ‫בישראל‬ ‫המבנים‬‫ים‬‫מזוין‬ ‫מבטון‬.‫המבנים‬ ‫סוגי‬ ‫בכל‬ ‫כמעט‬ ‫מאוד‬ ‫שמיש‬ ‫בטון‬,‫מגורים‬, ‫תעשייה‬,‫ב‬ ‫מדובר‬‫שכיח‬ ‫חומר‬,‫זול‬,‫לבנות‬ ‫ניתן‬‫קומות‬ ‫רבי‬ ‫מבנים‬‫ו‬‫נמוכים‬ ‫מבנים‬.‫מלאכותית‬ ‫אבן‬ ‫הוא‬ ‫בטון‬ ‫מבוקרת‬ ‫תערובת‬ ‫של‬ ‫מהתקשות‬ ‫כתוצאה‬ ‫שנוצרת‬. ‫של‬ ‫מאמץ‬‫בממוצע‬.
  13. 13. ‫בנין‬ ‫הנדסת‬ ‫קורס‬–‫טכניון‬ ‫מרצה‬–‫פורמן‬ ‫שי‬ 13 | P a g e‫עו‬"‫תורג‬ ‫ירדן‬ ‫ד‬'‫מן‬ ‫ומרכיביה‬ ‫הבטון‬ ‫תערובת‬: ‫צמנט‬–‫מקשה‬ ‫חומר‬,‫האגרגטים‬ ‫בין‬ ‫מקשר‬ ‫אשר‬,‫לבטון‬ ‫החוזק‬ ‫את‬ ‫הנותן‬ ‫מלט‬,‫הדבקת‬ ‫על‬ ‫אחראי‬ ‫המרכיבים‬,‫חרסית‬ ‫ואדמת‬ ‫גיר‬ ‫מאבן‬ ‫מורכב‬,‫ת‬ ‫לפי‬"‫י‬1 ‫אגרגטים‬–‫חצץ‬/‫חול‬,‫סלעים‬ ‫מגריסת‬ ‫מתקבל‬,‫בת‬ ‫מוגדר‬"‫י‬3,‫באגרגטים‬ ‫משתמשים‬‫שמורכבים‬ ‫יותר‬ ‫חלק‬ ‫בטון‬ ‫ולקבלת‬ ‫ביניהם‬ ‫חללים‬ ‫ללא‬ ‫שיתחברו‬ ‫מנת‬ ‫על‬ ‫וזאת‬ ‫וקטנות‬ ‫גדולות‬ ‫מחתיכות‬. ‫מים‬–‫ב‬ ‫מדובר‬‫שת‬ ‫מי‬‫י‬‫מלוחים‬ ‫ולא‬ ‫יה‬,‫המרכיבים‬ ‫בין‬ ‫ויוצרים‬ ‫לריאקציה‬ ‫הצמנט‬ ‫את‬ ‫מכניסים‬ ‫ואח‬ ‫קשרים‬"‫מתאדים‬ ‫כ‬. ‫מוסיפים‬ ‫לעיתים‬ ‫זו‬ ‫לתערובת‬‫ת‬‫מים‬ ‫מפחית‬ ‫מוסף‬ ‫כגון‬ ‫וספים‬,‫התקשרות‬ ‫מחיש‬ ‫מוסך‬,‫מחיש‬ ‫מוסף‬ ‫התחזקות‬,‫ועוד‬ ‫מינרליים‬ ‫מוספים‬. ‫הבטון‬ ‫יציקת‬–‫שלבים‬: ‫היציקה‬ ‫שלב‬-‫הזיון‬ ‫כשמוטות‬ ‫טפסות‬ ‫לתוך‬ ‫יוצקים‬ ‫התערובת‬ ‫את‬ ‫במקומם‬ ‫כבר‬ ‫נמצאים‬.‫ימים‬ ‫כמה‬ ‫לאחר‬,‫מתקשה‬ ‫כשהבטון‬,‫את‬ ‫מפרקים‬ ‫מזוין‬ ‫בטון‬ ‫של‬ ‫אלמנט‬ ‫ומתקבל‬ ‫הטפסות‬.‫בכוחות‬ ‫להילחץ‬ ‫הבטון‬ ‫יכולת‬ ‫מאוד‬ ‫גבוהים‬ ‫לחיצה‬,‫שהיא‬ ‫צורה‬ ‫כל‬ ‫בקלות‬ ‫ממנו‬ ‫לצקת‬ ‫האפשרות‬, ‫מקובל‬ ‫כה‬ ‫בניה‬ ‫לחומר‬ ‫הבטון‬ ‫את‬ ‫עשו‬ ‫בארץ‬ ‫הגלם‬ ‫חומרי‬ ‫והימצאות‬ ‫בארץ‬. ‫שלב‬‫ההתקשרות‬ ‫תהליך‬-‫חום‬ ‫בפליטת‬ ‫מלווה‬‫אשר‬‫אידוי‬ ‫את‬ ‫מגביר‬ ‫המים‬,‫היציקה‬ ‫של‬ ‫הראשון‬ ‫השלב‬ ‫הוא‬(-+90‫דקות‬). ‫שלב‬‫ה‬‫הבטון‬ ‫שפרת‬–‫לחוזק‬ ‫להגיע‬ ‫לבטון‬ ‫אופטימאליים‬ ‫תנאים‬ ‫מתן‬ ‫ע‬ ‫שלו‬ ‫המקסימלי‬"‫מים‬ ‫המטרת‬ ‫י‬,‫רטובים‬ ‫ובדים‬ ‫ניילון‬ ‫יריעות‬.‫אלו‬ ‫פעולות‬ ‫המים‬ ‫אידוי‬ ‫את‬ ‫מאיטות‬‫יהיה‬ ‫שלא‬ ‫כדי‬‫במים‬ ‫חוסר‬(‫בגלל‬‫תהליך‬‫האידוי‬) ‫הבטון‬ ‫התקשות‬ ‫תהליך‬ ‫את‬ ‫ומשביחות‬.‫ההשפרה‬ ‫את‬ ‫לבצע‬ ‫יש‬/‫לכל‬ ‫המטרה‬ ‫הבדיקה‬ ‫תקופת‬ ‫אורך‬. ‫שלב‬‫תהליך‬‫ה‬‫התקשות‬-‫לה‬ ‫מתחיל‬ ‫הבטון‬‫תקשות‬‫ככל‬ ‫יותר‬ ‫מתחזק‬ ‫והוא‬ ‫הזמן‬ ‫שעובר‬,100%‫בגיל‬ ‫מתקבל‬ ‫מהחוזק‬28‫יום‬.‫ת‬"‫י‬118‫חוזק‬ ‫את‬ ‫מגדיר‬ ‫לאחר‬ ‫שיתקבל‬ ‫הנדרש‬ ‫הבטון‬28‫יום‬.‫יש‬‫שונים‬ ‫חוזקים‬‫לבטון‬. ‫הבטון‬ ‫עוצמת‬‫בממוצע‬ ‫צמנט‬ ‫מים‬ ‫יחס‬-‫לקבוע‬ ‫ניתן‬ ‫הבטון‬ ‫עוצמת‬ ‫את‬‫בהתאם‬‫מים‬ ‫ליחס‬-‫צמנט‬,‫באות‬ ‫המסומן‬ ‫יחס‬ ‫אומגה‬.‫יורד‬ ‫הצמנט‬ ‫חוזק‬ ‫כך‬ ‫עולה‬ ‫המים‬ ‫שרמת‬ ‫ככל‬,‫מכיוו‬‫ן‬‫גדולים‬ ‫יותר‬ ‫חללים‬ ‫שישארו‬.‫צורך‬ ‫יש‬ ‫אופטימאלית‬ ‫מים‬ ‫בכמות‬.‫יותר‬ ‫קטנים‬ ‫חללים‬ ‫יישארו‬ ‫כך‬ ‫מים‬ ‫פחות‬ ‫שיהיו‬ ‫ככל‬.‫יחס‬‫סביר‬‫הוא‬ ‫בד‬"‫בין‬ ‫כ‬0.4‫ל‬0.6. ‫עולה‬ ‫החוזק‬ ‫יותר‬ ‫גדול‬ ‫צמנט‬ ‫מים‬ ‫ביחס‬,‫למים‬ ‫ביחס‬ ‫כשהצמנט‬‫גדל‬.‫רכיב‬‫הצמנט‬‫יקר‬ ‫יותר‬, ‫את‬ ‫מגדילים‬ ‫אם‬‫כמות‬‫הצמנט‬ ‫את‬ ‫גם‬ ‫להגדיל‬ ‫שצריך‬ ‫בחשבון‬ ‫לקחת‬ ‫יש‬ ‫המים‬.‫אל‬ ‫מוספים‬ ‫יש‬ ‫היום‬ ‫מים‬ ‫של‬ ‫פעולה‬ ‫עושים‬ ‫קטנה‬ ‫שבכמות‬ ‫פלסטיים‬,‫פוגעים‬ ‫שלא‬ ‫כך‬ ‫הנדרשת‬ ‫המים‬ ‫כמות‬ ‫את‬ ‫מפחיתים‬ ‫בחוזק‬.‫מדויקת‬ ‫מאוד‬ ‫טכנולוגיה‬ ‫זו‬,‫השקילה‬‫במפעלים‬‫אלקטרונית‬ ‫היא‬‫בצורה‬ ‫ונעשית‬‫מאוד‬ ‫מסודר‬‫ת‬‫ו‬‫ב‬‫טעויות‬‫אפסיות‬.‫הרצוי‬ ‫החוזק‬ ‫את‬ ‫מקבלים‬‫ת‬ ‫לפי‬"‫י‬118.‫המתכנן‬ ‫על‬ ‫להגן‬ ‫בא‬ ‫זה‬ ‫תקן‬
  14. 14. ‫בנין‬ ‫הנדסת‬ ‫קורס‬–‫טכניון‬ ‫מרצה‬–‫פורמן‬ ‫שי‬ 14 | P a g e‫עו‬"‫תורג‬ ‫ירדן‬ ‫ד‬'‫מן‬ ‫הבטון‬ ‫את‬ ‫ולהבטיח‬.‫מקדם‬ ‫מוגדר‬ ‫בתקן‬‫ה‬‫ביטחון‬,‫בממוצע‬ ‫של‬ ‫הרצוי‬ ‫לחוזק‬ ‫תוספת‬10%.‫אני‬ ‫אם‬ ‫ב‬ ‫דורש‬30‫לתת‬ ‫צריך‬ ‫המפעל‬33‫או‬ ‫פסקל‬ ‫מגה‬330‫ק‬"‫לס‬ ‫ג‬"‫מרובע‬ ‫מ‬. ‫סוגים‬:‫ב‬100–100‫ק‬"‫לס‬ ‫ג‬"‫מרובע‬ ‫מ‬(‫ב‬ ‫גם‬ ‫לזה‬ ‫קוראים‬10‫פסקל‬ ‫במגה‬mpa)‫ב‬ ‫גם‬ ‫יש‬200,‫ב‬300, ‫ב‬400,‫ב‬500‫הלאה‬ ‫וכך‬.‫ב‬30,4‫ו‬50‫בד‬"‫באתר‬ ‫שבונים‬ ‫קונבנציונאלים‬ ‫באלמנטים‬ ‫שמישים‬ ‫כ‬,‫הם‬ ‫יחסית‬ ‫חזקים‬.‫בב‬600,700‫דרוך‬ ‫בבטון‬ ‫משתמשים‬,‫יותר‬ ‫מיוחדים‬ ‫במקרים‬(‫יותר‬ ‫יקר‬).‫בב‬10‫ו‬20 ‫שלד‬ ‫לא‬ ‫שהם‬ ‫באלמנטים‬ ‫משתמשים‬. ‫הבטון‬ ‫חוזק‬ ‫בדיקת‬ ‫שלב‬-‫איכות‬ ‫בקרת‬-‫יש‬ ‫יציקה‬ ‫בכל‬‫להתקשר‬‫מכון‬ ‫עם‬ ‫ש‬ ‫בדיקה‬‫צריך‬‫לקח‬‫ת‬‫דגימ‬‫כ‬ ‫של‬ ‫ה‬–10‫ס‬"‫על‬ ‫מ‬10‫ס‬"‫בתנאי‬ ‫שמורה‬ ‫מ‬ ‫מעבדה‬.‫דגימ‬ ‫את‬‫ת‬‫באיזה‬ ‫ובוחנים‬ ‫לוקחים‬ ‫הבטון‬‫יכול‬ ‫עומסים‬ ‫רמות‬ ‫לעמוד‬ ‫הבטון‬.‫בגיל‬ ‫עושים‬ ‫הבדיקות‬ ‫את‬7‫ובגיל‬ ‫ימים‬28‫איך‬ ‫ורואים‬ ‫יום‬ ‫החוזק‬ ‫מתפתח‬,‫ת‬ ‫שמעמיד‬ ‫המזעריות‬ ‫בדרישות‬ ‫לעמוד‬ ‫צריך‬ ‫הבטון‬"‫י‬118. ‫בגיל‬7‫צ‬ ‫ימים‬‫בכ‬ ‫לעמוד‬ ‫ריך‬-65-70%‫מהחוזק‬(‫בטון‬‫ב‬33,‫ב‬ ‫לעמוד‬ ‫צריך‬21‫לאחר‬7‫ימים‬).‫אם‬ ‫ש‬ ‫אומר‬ ‫זה‬ ‫הנדרש‬ ‫החוזק‬ ‫את‬ ‫מקבלים‬‫לאחר‬28‫ל‬ ‫נגיע‬ ‫ימים‬-100%. ‫בגיל‬28‫ל‬ ‫להגיע‬ ‫הבטון‬ ‫על‬ ‫ימים‬–100%‫חוזק‬. ‫בגיל‬90‫של‬ ‫הסופי‬ ‫החוזק‬ ‫יתקבל‬ ‫ימים‬120%. ‫התראה‬ ‫הנדרש‬ ‫החוזק‬ ‫מתקבל‬ ‫לא‬ ‫אם‬‫תופנה‬‫דעתו‬ ‫לשיקול‬ ‫למהנדס‬-‫פתרונות‬ ‫על‬ ‫לחשוב‬ ‫צריך‬ ‫הוא‬. ‫שיכולים‬‫טוטאלית‬ ‫הריסה‬ ‫להיות‬,‫עיבוי‬,‫וכו‬ ‫פירוק‬'.‫ניתן‬‫לפני‬ ‫גם‬ ‫בדיקות‬ ‫לבצע‬7‫ימים‬.‫יציקות‬ ‫יש‬ ‫עבות‬ ‫מאוד‬‫בעלות‬‫גדול‬ ‫נפח‬,‫משתמשים‬ ‫ובהן‬ ‫בבטון‬ ‫סדקים‬ ‫מתקבלים‬ ‫רגילים‬ ‫בצמנטים‬ ‫בשימוש‬ ‫של‬ ‫לחוזק‬ ‫המגיע‬ ‫בבטון‬100%‫מ‬ ‫יותר‬ ‫אחרי‬28‫יום‬.‫אחרי‬ ‫להתחזק‬ ‫ממשיך‬ ‫הבטון‬28‫יום‬,‫הזמן‬ ‫כל‬ ‫הוא‬ ‫ל‬ ‫עד‬ ‫מתחזק‬90‫יום‬.‫של‬ ‫אחר‬ ‫לחוזק‬ ‫להגיע‬ ‫בכדי‬ ‫פטנט‬ ‫זהו‬ ‫אחר‬ ‫מסוג‬ ‫בצמנט‬ ‫נשתמש‬ ‫בהם‬ ‫מצבים‬ ‫יש‬ ‫בטון‬. ‫הבטון‬ ‫וחסרונות‬ ‫יתרונות‬- ‫הבטון‬ ‫יתרונות‬: ‫בלחיצה‬ ‫חזק‬ ‫ולחות‬ ‫טמפרטורה‬ ‫לשינוי‬ ‫במיוחד‬ ‫רגיש‬ ‫אינו‬ ‫צורה‬ ‫בכל‬ ‫כמעט‬ ‫אותו‬ ‫לצקת‬ ‫ניתן‬(‫פיסול‬ ‫אפילו‬) ‫זול‬ ‫חומר‬(‫כ‬300₪‫קוב‬ ‫למטר‬) ‫בעל‬‫חיים‬ ‫אורך‬‫ארוך‬(70-80‫שנה‬,‫בתחזוקה‬ ‫צורך‬ ‫יש‬ ‫עדיין‬ ‫אך‬). ‫הבטון‬ ‫חסרונות‬: ‫במתיחה‬ ‫חלש‬(10%‫במתיחה‬ ‫הוא‬ ‫בלחיצה‬ ‫מהחוזק‬) ‫פריך‬ ‫חומר‬(‫נשבר‬ ‫אחד‬ ‫ברגע‬,‫התראה‬ ‫ללא‬,‫האחרון‬ ‫גם‬ ‫הוא‬ ‫הראשון‬ ‫הסדק‬) ‫מאוד‬ ‫כבד‬-‫מרחבי‬ ‫משקל‬(‫עצמי‬)‫גדול‬:2400 kg/m3. ‫מזוין‬ ‫בטון‬- ‫ב‬‫זיון‬ ‫פלדת‬ ‫תוכו‬,‫אך‬ ‫שונים‬ ‫חומרים‬ ‫שני‬‫אחד‬ ‫כחומר‬ ‫יחד‬ ‫מתפקדים‬:
  15. 15. ‫בנין‬ ‫הנדסת‬ ‫קורס‬–‫טכניון‬ ‫מרצה‬–‫פורמן‬ ‫שי‬ 15 | P a g e‫עו‬"‫תורג‬ ‫ירדן‬ ‫ד‬'‫מן‬ ‫הדבקות‬‫והבטון‬ ‫הפלדה‬ ‫מוטות‬ ‫בין‬-‫הידבקות‬ ‫מאמצי‬ ‫יש‬ ‫נכנס‬ ‫כשהמוט‬,‫להידבקות‬ ‫גורם‬ ‫הבטון‬ ‫בבטון‬ ‫המוט‬ ‫במעטפת‬,‫ע‬ ‫זה‬ ‫את‬ ‫לשפר‬ ‫ואפשר‬"‫במוט‬ ‫קווקווים‬ ‫י‬. ‫זהה‬ ‫כמעט‬ ‫טרמית‬ ‫התפשטות‬ ‫מקדם‬ ‫החומרים‬ ‫לשני‬,‫כמעט‬ ‫נעשים‬ ‫השינויים‬ ‫טמפרטורה‬ ‫בשינוי‬ ‫שווה‬ ‫במידה‬.‫כלומר‬‫מתכווץ‬ ‫הבניין‬ ‫טמפרטורה‬ ‫בשינוי‬,‫מתכווצים‬ ‫האלמנטים‬ ‫שני‬‫ו‬‫באופן‬ ‫מגיבים‬ ‫טמפרטורה‬ ‫לשינוי‬ ‫זהה‬ ‫כמעט‬,‫והתכווצות‬ ‫התפשטות‬,‫מקדמי‬ ‫להם‬ ‫שאין‬ ‫חומרים‬ ‫שני‬ ‫ניקח‬ ‫אם‬ ‫שברים‬ ‫ייוצרו‬ ‫אז‬ ‫התפשטות‬. ‫מזוין‬ ‫בטון‬ ‫וחסרונות‬ ‫יתרונות‬- ‫יתרונות‬– ‫מאוויר‬ ‫זיון‬ ‫מוטות‬ ‫על‬ ‫הגנה‬,‫קורוזיה‬(‫חלודה‬)‫ואש‬ ‫ולחיצה‬ ‫מתיחה‬ ‫נגד‬ ‫עמיד‬ ‫חסרונות‬– ‫כבד‬ ‫חוזק‬ ‫לקבלת‬ ‫ארוך‬ ‫המתנה‬ ‫זמן‬ ‫בתבניות‬ ‫צורך‬ ‫יש‬ ‫טעויות‬ ‫לגלות‬ ‫קשה‬ ‫לשינוי‬ ‫יקר‬ ‫פלדה‬ ‫שימוש‬‫המבנה‬ ‫כשלד‬ ‫או‬ ‫בטון‬ ‫בתוך‬ ‫זיון‬ ‫כמוטות‬ ‫בפלדה‬.‫שלד‬‫מ‬ ‫ייבנה‬‫בד‬ ‫פלדה‬"‫קלים‬ ‫במבנים‬ ‫כ‬(‫סככות‬, ‫חממות‬,‫מחסנים‬)‫נקודות‬ ‫בין‬ ‫גדול‬ ‫מרחק‬ ‫שיש‬‫ה‬‫תמיכה‬,‫קומות‬ ‫רב‬ ‫גדול‬ ‫מבנה‬ ‫של‬ ‫כשלד‬ ‫או‬.‫תלוי‬ ‫בעיקר‬ ‫זה‬ ‫בעלות‬,‫הכדאיות‬‫הכלכלית‬‫יורדת‬ ‫מפלדה‬ ‫בשלד‬ ‫בשימוש‬‫ככל‬‫עולה‬ ‫שהמחיר‬.‫וניתן‬ ‫מבטון‬ ‫יותר‬ ‫חזקה‬ ‫פלדה‬ ‫בטון‬ ‫לעומת‬ ‫מפלדה‬ ‫בשימוש‬ ‫יותר‬ ‫קטנים‬ ‫חתכים‬ ‫לקבל‬-‫גבוהה‬ ‫שהיא‬ ‫הביצוע‬ ‫מהירות‬ ‫מבחינת‬ ‫גם‬ ‫משמעותי‬ ‫בפלדה‬ ‫יותר‬.‫יותר‬ ‫ומהירה‬ ‫מקצועית‬ ‫העבודה‬.‫כ‬ ‫יש‬ ‫בטון‬ ‫קוב‬ ‫מטר‬ ‫בכול‬100‫ק‬"‫פלדה‬ ‫ג‬. ‫של‬ ‫מאמץ‬‫בממוצע‬. ‫פלדה‬ ‫וחסרונות‬ ‫יתרונות‬- ‫יתרונות‬– ‫במתיחה‬ ‫חזקה‬ ‫ב‬ ‫חזקה‬‫לחיצה‬ ‫השבר‬/‫פלסטי‬ ‫הרס‬ ‫נקרא‬ ‫בפלדה‬ ‫הרס‬,‫במוט‬ ‫הצרות‬,‫שנשארת‬ ‫דפורמציה‬.‫מעובד‬ ‫פלדה‬‫ת‬‫מברזל‬. ‫חסרונות‬– 1‫יקר‬ ‫חומר‬-‫כ‬ ‫עולה‬ ‫פלדה‬ ‫טון‬4500,
  16. 16. ‫בנין‬ ‫הנדסת‬ ‫קורס‬–‫טכניון‬ ‫מרצה‬–‫פורמן‬ ‫שי‬ 16 | P a g e‫עו‬"‫תורג‬ ‫ירדן‬ ‫ד‬'‫מן‬ 2‫רגיש‬‫ות‬‫לרטיבות‬/‫לחות‬,‫קורוזיה‬.‫הבטון‬ ‫בתוך‬ ‫כשהן‬ ‫לקורוזיה‬ ‫חשופים‬ ‫פחות‬ ‫המוטות‬.‫פלדה‬ ‫כיסוי‬ ‫בעובי‬ ‫בטון‬ ‫בשכבת‬1-5‫ס‬"‫מ‬(‫במבנה‬ ‫האלמנט‬ ‫במיקום‬ ‫תלוי‬)‫חלודה‬ ‫מפני‬ ‫עליה‬ ‫מגן‬. ‫פלדה‬ ‫סוגי‬- ‫בנין‬ ‫פלדת‬-‫מבוקר‬ ‫מאוד‬ ‫יצור‬ ‫בתהליך‬ ‫המיוצר‬ ‫חומר‬,‫ביניהם‬ ‫כימיים‬ ‫מרכיבים‬ ‫ממספר‬ ‫מורכבת‬ ‫הפלדה‬ ‫פחמן‬(‫החוזק‬ ‫את‬ ‫המשפר‬ ‫הרכיב‬,‫פחמן‬ ‫של‬ ‫נמוך‬ ‫מינון‬,‫כ‬0.25%‫מהפלדה‬). ‫זיון‬ ‫מוטות‬ ‫של‬ ‫סוגים‬ ‫מספר‬: ‫רכה‬ ‫פלדה‬–‫כ‬ ‫מסומנת‬ᶲ,‫עזר‬ ‫מוטות‬ ‫או‬ ‫כחישוקים‬ ‫משמשים‬ ‫בעיקר‬,‫יש‬6/8/10/12‫מוט‬ ‫של‬ ‫קוטר‬ ‫מילימטר‬ ‫לבנייה‬ ‫מותר‬ ‫מאמץ‬ ‫מצולעת‬ ‫פלדה‬–‫של‬ ‫בסימול‬ ‫מסומנת‬T‫עיגול‬ ‫בתוך‬.‫צילוקים‬ ‫קיימים‬(‫בליטות‬)‫המוט‬ ‫על‬‫אשר‬‫את‬ ‫משפרים‬ ‫המוט‬ ‫על‬ ‫הבטון‬ ‫הידבקות‬.‫זו‬‫מהרכה‬ ‫יותק‬ ‫חזקה‬ ‫פלדה‬,‫של‬ ‫בקטרים‬ ‫קיים‬6,8,10,12,14,16,18,20,22,25‫ויש‬ ‫מיוחד‬ ‫ביצור‬ ‫אבל‬ ‫יותר‬ ‫גדולים‬.‫עד‬ ‫שמיש‬ ‫לרוב‬14‫קוטר‬. ‫לתכנון‬ ‫מותר‬ ‫מאמץ‬:. ‫רשת‬ ‫פלדת‬–‫מהמפעל‬ ‫מכנה‬ ‫מגיעה‬,‫גבוה‬ ‫בחוזק‬ ‫מוטות‬.‫כ‬ ‫מסומנת‬-, #‫הריבועים‬/‫הרשת‬ ‫של‬ ‫משבצות‬ ‫כ‬ ‫למשל‬ ‫מסומנים‬-10/10,‫כ‬ ‫מסומן‬ ‫הקוטר‬¥,‫כשיש‬-#¥8@10/10‫של‬ ‫בקוטר‬ ‫רשת‬ ‫פלדת‬ ‫היא‬ ‫הכוונה‬8 ‫לפי‬ ‫מסודרים‬ ‫שהריבועים‬10‫על‬10.‫מ‬ ‫מייצרים‬4‫עד‬12‫מ‬"‫בחצאים‬ ‫גם‬ ‫לקבל‬ ‫וניתן‬ ‫מ‬(4.5,5.5),‫את‬ ‫מקבלים‬ ‫ע‬ ‫הרשת‬"‫של‬ ‫תהליך‬ ‫י‬"‫בקר‬ ‫עיבוד‬."‫מרותכת‬ ‫מגיעה‬ ‫הרשת‬,‫נוחה‬ ‫היציקה‬,‫מורכב‬ ‫מאוד‬ ‫הכול‬.‫חזקה‬ ‫פלדה‬, ‫בטון‬ ‫לכמות‬ ‫ביחס‬ ‫פלדה‬ ‫לכמות‬ ‫צפי‬ ‫ממוצע‬-100kg‫מ‬ ‫לכל‬ ‫פלדה‬"‫ק‬(‫קוב‬ ‫מטר‬)‫בטון‬. ‫של‬ ‫לתכנון‬ ‫מותר‬ ‫מאמץ‬. ‫פלדה‬ ‫על‬ ‫מתיחה‬ ‫עומס‬ ‫הפעלת‬ ‫אנכי‬ ‫בציר‬ ‫דפורמציה‬‫העומס‬ ‫ובאופקי‬/ 1.‫הלינארי‬ ‫התחום‬–‫אך‬ ‫מתיחה‬ ‫קיימת‬‫לקדמותה‬ ‫תחזור‬ ‫הדפורמציה‬ ‫להעמיס‬ ‫כשנפסיק‬,‫המתיחה‬ ‫תעלם‬ ‫כביכול‬.‫הזה‬ ‫בתחום‬ ‫להיות‬ ‫צריכים‬ ‫המבנים‬ ‫רוב‬. 2.‫כניעה‬ ‫חוזק‬ ‫נקודת‬-‫נקודה‬b-‫מקדם‬ ‫לטובת‬ ‫אליו‬ ‫להגיע‬ ‫רוצים‬ ‫לא‬ ‫שאנחנו‬ ‫הזה‬ ‫העליון‬ ‫הגבול‬ ‫היא‬ ‫ביטחון‬.‫כניעה‬ ‫לחוזק‬ ‫כל‬ ‫בשל‬ ‫נמוך‬ ‫יהיה‬ ‫לתכנון‬ ‫החוזק‬.
  17. 17. ‫בנין‬ ‫הנדסת‬ ‫קורס‬–‫טכניון‬ ‫מרצה‬–‫פורמן‬ ‫שי‬ 17 | P a g e‫עו‬"‫תורג‬ ‫ירדן‬ ‫ד‬'‫מן‬ 3.‫הנזילה‬ ‫אזור‬-‫בין‬b‫ל‬c‫דפורמציה‬ ‫תוספת‬ ‫יש‬‫ואין‬‫עומס‬ ‫תוספת‬,‫הנזילה‬ ‫אזור‬ ‫נקרא‬ ‫זה‬,‫החומר‬ ‫בו‬ ‫ונוצרת‬ ‫אלסטי‬ ‫נהיה‬‫בין‬ ‫של‬ ‫דפורמציה‬2‫ל‬4‫אחוזים‬,‫שלא‬ ‫דפורמציה‬ ‫תישאר‬ ‫העומס‬ ‫את‬ ‫אשחרר‬ ‫אם‬ ‫תעלם‬.‫דפורמציות‬ ‫לאפשר‬ ‫תכנונית‬ ‫מבחינה‬ ‫כשרוצים‬ ‫הנזילה‬ ‫באזור‬ ‫מהמקרים‬ ‫בחלק‬. 4.‫מנקודה‬c‫במאמץ‬ ‫עליה‬ ‫רואים‬ ‫הנזילה‬ ‫אזור‬ ‫גבול‬,‫המאפשר‬ ‫פנימי‬ ‫שינוי‬ ‫עובר‬ ‫והחומר‬ ‫גדל‬ ‫העומס‬ ‫נוספת‬ ‫התנגדות‬ ‫יכולת‬. 5.‫נקודה‬d‫היא‬‫נקודת‬‫עומס‬ ‫מקסימום‬ 6.‫נקודה‬e‫ה‬ ‫נקודת‬ ‫היא‬‫קריעה‬.‫לדפורמציה‬ ‫חשופה‬ ‫ופחות‬ ‫אלסטית‬ ‫פחות‬ ‫היא‬ ‫חזקה‬ ‫שהפלדה‬ ‫ככל‬(‫גרף‬ ‫כחול‬),‫ולהפך‬.‫אלסטיות‬ ‫מודל‬–‫עליו‬ ‫שמופעלים‬ ‫למאמצים‬ ‫להתנגד‬ ‫החומר‬ ‫יכולת‬,‫אז‬ ‫שחזק‬ ‫ככול‬ ‫גמיש‬ ‫פחות‬. 7.‫יותר‬ ‫חזק‬ ‫החומר‬ ‫יותר‬ ‫גדולה‬ ‫שאלפא‬ ‫ככול‬,‫יותר‬ ‫גדול‬ ‫אלסטיות‬ ‫מודל‬ ‫לו‬ ‫שיש‬ ‫הבטון‬ ‫יתרונות‬:‫שריפה‬ ‫נגד‬ ‫הזיון‬ ‫מוטות‬ ‫על‬ ‫מגן‬/‫רטיבות‬,‫הפלדה‬ ‫על‬ ‫מגן‬,‫וגם‬ ‫בלחיצה‬ ‫גם‬ ‫עמידה‬ ‫הפלדה‬ ‫במתיחה‬,‫חסרונות‬:‫להתחזק‬ ‫זמן‬ ‫לוקח‬,‫כבד‬,‫היציקה‬ ‫לאחר‬ ‫טעויות‬ ‫לגלות‬ ‫קשה‬. ‫דרוך‬ ‫בטון‬- ‫התחלתיים‬ ‫לחיצה‬ ‫מאמצי‬ ‫בו‬ ‫הוכנסו‬ ‫אשר‬ ‫בטו‬,‫המתוכנן‬ ‫מהמצב‬ ‫ההפך‬ ‫את‬ ‫יוצרת‬ ‫לקורה‬ ‫הלחץ‬ ‫הכנסת‬ ‫הסופי‬,‫לאלמנט‬ ‫הפוכים‬ ‫מאמצים‬ ‫ויוצרים‬ ‫הדרוך‬ ‫לאלמנט‬ ‫לחיצה‬ ‫כוחות‬ ‫מכניסים‬ ‫בה‬ ‫פעולה‬ ‫היא‬ ‫הדריכה‬ ‫המקורי‬ ‫מהמצב‬.‫מאוד‬ ‫חזקה‬ ‫היא‬ ‫הדריכה‬ ‫פלדת‬.‫הוא‬ ‫דרוך‬ ‫בטון‬‫להקל‬ ‫שבאה‬ ‫ביצוע‬ ‫שיטת‬ ‫עם‬ ‫חומר‬, ‫יותר‬ ‫פשוטים‬ ‫המיוצרים‬ ‫האלמנטים‬. ‫הסבר‬-‫יותר‬ ‫וכבדה‬ ‫יותר‬ ‫עבה‬ ‫תהיה‬ ‫גם‬ ‫היא‬ ‫אז‬ ‫יותר‬ ‫ארוכה‬ ‫קורה‬ ‫לקבל‬ ‫רוצים‬ ‫אם‬.‫שיוצר‬ ‫לכך‬ ‫פתרון‬ ‫קיים‬ ‫פלדה‬ ‫מוט‬ ‫להוסיף‬ ‫והוא‬ ‫הקורה‬ ‫את‬ ‫לעבות‬ ‫נצטרך‬ ‫לא‬ ‫בו‬ ‫מצב‬,‫כבל‬,‫ועליו‬ ‫נמתח‬ ‫אותו‬‫נ‬‫מתיחה‬ ‫עומס‬ ‫פעיל‬ ‫כש‬‫נ‬‫המתוכנן‬ ‫לעומס‬ ‫גיע‬‫נ‬‫ו‬ ‫הקצוות‬ ‫את‬ ‫נעל‬‫נ‬‫העומס‬ ‫את‬ ‫שחרר‬.‫ולא‬ ‫שלו‬ ‫ההתחלתי‬ ‫לאורך‬ ‫לחזור‬ ‫רוצה‬ ‫הכבל‬ ‫לחיצה‬ ‫ומתקבלת‬ ‫הנעילה‬ ‫בשל‬ ‫יכול‬.‫הקורה‬ ‫של‬ ‫הצד‬ ‫על‬ ‫לחץ‬ ‫נוצר‬‫ש‬‫הפוכה‬ ‫כפיפה‬ ‫מעין‬ ‫מקבלת‬,‫וע‬"‫הדריכה‬ ‫י‬ ‫המתיחה‬ ‫מתקזזת‬ ‫בעצם‬ ‫ובכך‬ ‫הפוכים‬ ‫מאמצים‬ ‫מצאנו‬,‫יותר‬ ‫קטנה‬ ‫כעת‬ ‫המתיחה‬.‫מפתח‬8‫ומעלה‬ ‫מטר‬ ‫בדריכה‬ ‫ומשתמשים‬ ‫לגדול‬ ‫נחשב‬.
  18. 18. ‫בנין‬ ‫הנדסת‬ ‫קורס‬–‫טכניון‬ ‫מרצה‬–‫פורמן‬ ‫שי‬ 18 | P a g e‫עו‬"‫תורג‬ ‫ירדן‬ ‫ד‬'‫מן‬ ‫דריכה‬ ‫סוגי‬–‫דריכה‬ ‫סוגי‬ ‫שני‬ ‫קיימים‬- ‫מוקדמת‬ ‫דריכה‬-‫דרוכים‬ ‫אלמנטים‬ ‫המייצרים‬ ‫במפעלים‬ ‫מתבצעת‬‫טרומיים‬.‫במפעל‬,‫הדריכה‬ ‫את‬ ‫מכינים‬ ‫המתוכנן‬ ‫לעומס‬ ‫בתבניות‬,‫בטון‬ ‫יוצקים‬,‫הדריכה‬ ‫מופעלת‬ ‫וכך‬ ‫הכבלים‬ ‫את‬ ‫משחררים‬.‫את‬ ‫חותכים‬ ‫מכן‬ ‫לאחר‬ ‫ה‬‫אלמנט‬‫לגודל‬ ‫בהתאם‬ ‫הזמנה‬ ‫לפי‬.‫זחילת‬ ‫בגלל‬ ‫ההתקנה‬ ‫למועד‬ ‫האפשר‬ ‫ככל‬ ‫קרוב‬ ‫להיעשות‬ ‫צריכה‬ ‫הדריכה‬ ‫הבטון‬. ‫חסרונות‬: 1.‫ה‬ ‫באלמנטים‬ ‫שינויים‬ ‫לעשות‬ ‫קשה‬‫ל‬‫לו‬ 2.‫חורים‬ ‫לעשות‬ ‫ניתן‬ ‫לא‬ 3.‫הבטון‬ ‫זחילת‬–‫זוחל‬ ‫הוא‬ ‫בטון‬ ‫כל‬,‫דפורמציה‬ ‫לקבל‬ ‫שלו‬ ‫היכולת‬ ‫היא‬ ‫בטון‬ ‫זחילת‬(‫התארכות‬), ‫ע‬ ‫זאת‬ ‫לצמצם‬ ‫ניתן‬"‫השפרה‬ ‫י‬(‫מים‬ ‫המטרת‬). ‫מאוחרת‬ ‫דריכה‬–‫כמו‬ ‫טכניות‬ ‫בעיות‬ ‫בגלל‬‫הובלה‬,‫הנפה‬‫או‬‫הביצוע‬ ‫מורכבות‬‫בשטח‬ ‫דריכה‬ ‫לבצע‬ ‫ניתן‬ ‫ובשלבים‬ ‫הבניה‬ ‫ובאתרי‬,‫בגשר‬ ‫כמו‬,‫אשר‬‫אלמנטים‬ ‫לו‬ ‫יש‬‫ו‬‫וכבדות‬ ‫גדולות‬ ‫מאוד‬ ‫קורות‬,‫ש‬‫ניתן‬ ‫לא‬‫להביא‬ ‫אחת‬ ‫כיחידה‬.‫אלמנט‬ ‫כנגד‬ ‫אלמנט‬ ‫למעשה‬ ‫ודורכים‬ ‫שמשחילים‬ ‫ברגים‬ ‫או‬ ‫שרוולים‬ ‫של‬ ‫הכנה‬ ‫מראש‬ ‫נעשית‬, ‫בשלבים‬ ‫אלא‬ ‫אחת‬ ‫כיחידה‬ ‫האלמנט‬ ‫כל‬ ‫את‬ ‫דורכים‬ ‫לא‬‫בעבודה‬‫מורכב‬ ‫מאוד‬‫ת‬. ‫נוספת‬ ‫דוגמא‬–‫היא‬‫דריכת‬"‫אחר‬"‫תקרות‬ ‫של‬,‫גדולות‬ ‫בתקרות‬ ‫מדובר‬‫גדול‬ ‫העמודים‬ ‫בין‬ ‫שהמרחק‬(‫לא‬ ‫בד‬ ‫במגורים‬"‫כ‬),‫את‬ ‫דורכים‬ ‫מכן‬ ‫ולאחר‬ ‫שיתחזק‬ ‫מעט‬ ‫מחכים‬ ‫הבטון‬ ‫יציקת‬ ‫לאחר‬ ‫בהן‬ ‫באתר‬ ‫שיצוקות‬ ‫הכבלים‬.‫פלסטיק‬ ‫בשרוול‬ ‫נמצא‬ ‫מוט‬ ‫כל‬‫ודורכים‬‫ולרוחב‬ ‫לאורך‬ ‫אותם‬,‫נועלים‬ ‫מכן‬ ‫לאחר‬,‫במקומות‬ ‫דורכים‬ ‫בתקרה‬ ‫מסוימים‬.‫פשוט‬ ‫יותר‬ ‫יהיה‬ ‫שלהם‬ ‫החיבור‬ ‫אז‬ ‫כי‬ ‫זהים‬ ‫יהיו‬ ‫שהאלמנטים‬ ‫רצוי‬.‫היא‬ ‫הדריכה‬ ‫פלדת‬ ‫פלדה‬"‫מעולה‬"–‫דקים‬ ‫בחוטים‬ ‫האלו‬ ‫באלמנטים‬ ‫משתמשים‬/‫האלמנט‬ ‫לגודל‬ ‫בהתאם‬ ‫עבים‬. ‫כ‬ ‫הוא‬ ‫המתיחה‬ ‫חוזק‬(‫פי‬5‫מהרגיל‬). ‫קרקע‬/‫ביסוס‬- ‫הקרקע‬ ‫חקירת‬- ‫המבנה‬ ‫את‬ ‫נבסס‬ ‫איך‬ ‫לנו‬ ‫מכתיבה‬ ‫הקרקע‬,‫המבנה‬ ‫מיקום‬ ‫על‬,‫ותכונותיו‬ ‫ייעודו‬.‫נדרשת‬ ‫ראשון‬ ‫בשלב‬‫חקירת‬ ‫קרקע‬‫ע‬ ‫הקרקע‬ ‫תכונות‬ ‫וידיעת‬"‫מהנדס‬ ‫י‬,‫זיהוי‬ ‫הקרקע‬ ‫חקירת‬ ‫תפקידי‬‫יסוד‬‫הקרקע‬,‫קרקע‬ ‫שכבת‬ ‫דגימת‬ ‫תכונות‬ ‫של‬ ‫מעבדתית‬ ‫וחקירה‬‫יה‬,‫ועומקן‬ ‫התהום‬ ‫מי‬ ‫שכבות‬ ‫עובי‬ ‫קביעת‬,‫והשינויים‬ ‫התהום‬ ‫מי‬ ‫עומק‬ ‫וקביעת‬ ‫זה‬ ‫בעומק‬ ‫החלים‬.‫הקרקע‬ ‫תסבולת‬ ‫קביעת‬ ‫מאפשרת‬ ‫האלו‬ ‫הנתונים‬ ‫ידיעת‬-‫בלי‬ ‫עליה‬ ‫להעמיס‬ ‫ניתן‬ ‫כמה‬ ‫נזק‬ ‫לגרום‬-‫המתאימים‬ ‫היסודות‬ ‫ותכנון‬.‫אי‬ ‫את‬ ‫להעלים‬ ‫היא‬ ‫הקרקע‬ ‫חקירת‬ ‫מטרת‬‫ה‬‫את‬ ‫ולדעת‬ ‫ודאות‬ ‫אופטימ‬ ‫בצורה‬ ‫המבנה‬ ‫את‬ ‫לבסס‬ ‫כדי‬ ‫המרב‬‫א‬‫לית‬.‫נתון‬ ‫גורם‬ ‫היא‬ ‫בונים‬ ‫עליה‬ ‫הקרקע‬.‫כשל‬ ‫שיהיה‬ ‫אסור‬ ‫בקרקע‬ ‫כשל‬ ‫קיים‬ ‫בו‬ ‫בניין‬ ‫לתקן‬ ‫שקשה‬ ‫משום‬ ‫בקרקע‬.‫תחנות‬ ‫או‬ ‫כוח‬ ‫תחנות‬ ‫כמו‬ ‫מאוד‬ ‫גדולים‬ ‫בשטחים‬ ‫קידוחים‬ ‫שלושה‬ ‫או‬ ‫שניים‬ ‫מספיקים‬ ‫פרטי‬ ‫בבית‬ ‫זאת‬ ‫ולעומת‬ ‫קידוחים‬ ‫המון‬ ‫ייעשו‬ ‫רכבת‬. ‫שלבים‬ ‫שני‬: 1.‫ניסיון‬ ‫קידוחי‬ ‫ביצוע‬–‫לבדיקות‬ ‫המקובלת‬ ‫הדרך‬,‫עומקו‬ ‫ואת‬ ‫השונות‬ ‫השכבות‬ ‫דרך‬ ‫עובר‬ ‫הקידוח‬ ‫קרקע‬ ‫להנדסת‬ ‫מומחה‬ ‫קובע‬.‫הקרקע‬ ‫סוג‬ ‫לפי‬ ‫שונות‬ ‫בדרכים‬ ‫נעשה‬ ‫הקידוח‬.‫בד‬"‫קידוח‬ ‫נעשה‬ ‫כ‬
  19. 19. ‫בנין‬ ‫הנדסת‬ ‫קורס‬–‫טכניון‬ ‫מרצה‬–‫פורמן‬ ‫שי‬ 19 | P a g e‫עו‬"‫תורג‬ ‫ירדן‬ ‫ד‬'‫מן‬ ‫של‬ ‫בקוטר‬‫כ‬–10‫ס‬"‫של‬ ‫ובעומק‬ ‫מ‬‫כ‬-10‫לפחות‬ ‫מטר‬,‫נעשים‬‫לפחות‬2-3‫בסיסי‬ ‫במבנה‬ ‫קידוחים‬ ‫מדגמים‬ ‫ומוציאים‬ ‫קודחים‬ ‫למגורים‬,‫מדגם‬ ‫עומק‬ ‫מכל‬ ‫מוציא‬ ‫המקדח‬‫ב‬ ‫שנבדק‬‫מעבדה‬.‫החקירה‬ ‫את‬ ‫מבצע‬‫קרקע‬ ‫יועץ‬‫שהוא‬‫קרקע‬ ‫חקירת‬ ‫שהתמחותו‬ ‫מהנדס‬,‫ה‬‫נעשי‬ ‫והבקרה‬ ‫תכנון‬‫ם‬‫ת‬ ‫לפי‬"‫י‬253. ‫למים‬ ‫מגיבה‬ ‫הקרקע‬ ‫איך‬ ‫בודקים‬(‫רטיבות‬),‫חוזקה‬ ‫מה‬,‫נפח‬ ‫משנה‬ ‫האם‬,‫ועוד‬ ‫פלסטיות‬ ‫בדיקת‬. ‫הקרקע‬ ‫גרגר‬ ‫גודל‬ ‫לפי‬ ‫קבוצות‬ ‫לשתי‬ ‫הקרקעות‬ ‫את‬ ‫מחלקת‬ ‫הבדיקה‬: a.‫גרגר‬ ‫גסות‬ ‫קרקעות‬‫כדורית‬ ‫הגרגר‬ ‫צורת‬,‫עגולה‬,‫יותר‬ ‫עגולים‬ ‫גרגריו‬ ‫יותר‬ ‫גס‬ ‫שהחומר‬ ‫ככל‬ ‫מחלחלים‬ ‫הם‬ ‫מים‬ ‫עם‬ ‫ובמגע‬,‫זו‬ ‫קרקע‬ ‫ולכן‬‫חזק‬‫ה‬‫יותר‬‫גסת‬ ‫קרקע‬ ‫על‬ ‫לבנות‬ ‫נעדיף‬ ‫ותמיד‬ ‫גרגר‬.‫גרגר‬ ‫גסות‬ ‫לקרקעות‬ ‫דוגמאות‬-‫סלע‬ ‫אבן‬,‫צרורות‬ ‫עם‬ ‫חול‬,‫גס‬ ‫חול‬(‫ים‬ ‫חול‬,"‫זיפזיף‬"), ‫דק‬ ‫חול‬(‫חולית‬ ‫חמרה‬),‫חרסיתי‬ ‫חור‬(‫מ‬ ‫פחות‬30%‫חרסית‬),‫גסות‬ ‫הן‬ ‫הבהירות‬ ‫הקרקעות‬ ‫גרגר‬. b.‫דקות‬ ‫קרקעות‬‫גרגר‬‫צור‬‫מוארכת‬ ‫הגרגר‬ ‫ת‬(‫אורז‬ ‫כמו‬).‫הגרגר‬ ‫דקות‬ ‫בסוג‬‫שהגרגרים‬ ‫ככל‬ ‫הם‬ ‫מים‬ ‫עם‬ ‫במגע‬ ‫יותר‬ ‫מוארכים‬‫נלכדים‬,‫מים‬ ‫של‬ ‫חלחול‬ ‫אין‬,‫את‬ ‫כולאת‬ ‫זאת‬ ‫קרקע‬ ‫המים‬,‫מה‬‫ש‬‫חזקה‬ ‫לא‬ ‫והקרקע‬ ‫נפח‬ ‫שינוי‬ ‫שיש‬ ‫אומר‬.‫הקרקע‬ ‫כי‬ ‫יותר‬ ‫בעייתית‬ ‫זו‬ ‫קרקע‬ ‫הבניין‬ ‫על‬ ‫שמשפיעים‬ ‫סדקים‬ ‫ויוצרת‬ ‫נפח‬ ‫משנה‬,‫קרקע‬ ‫סוג‬ ‫לכל‬ ‫פתרונות‬ ‫יש‬.‫דוגמאות‬ ‫גרגר‬ ‫דקות‬ ‫לקרקעות‬:‫חולית‬ ‫חרסית‬(‫מ‬ ‫יותר‬30%‫חרסית‬),‫חרסית‬,‫טין‬(‫פחות‬ ‫קרקע‬ ‫עגולים‬ ‫גרגירים‬ ‫גם‬ ‫יש‬ ‫בה‬ ‫אשר‬ ‫מחרסית‬ ‫בעייתית‬)‫ולס‬(‫טין‬ ‫עם‬ ‫מעורב‬ ‫חול‬).‫שהחומר‬ ‫ככול‬ ‫גרגר‬ ‫דקות‬ ‫בקרקעות‬ ‫מדובר‬ ‫כהה‬. ‫הבדיקה‬ ‫אופן‬– ‫שונים‬ ‫בגדלים‬ ‫נפות‬ ‫של‬ ‫שלמה‬ ‫מערכת‬ ‫יש‬ ‫כאשר‬ ‫שונות‬ ‫בנפות‬ ‫החומר‬ ‫את‬ ‫מעבירים‬,‫את‬ ‫לוקחים‬ ‫ומעבירים‬ ‫האלו‬ ‫המדגמים‬‫ב‬‫שהחורים‬ ‫לנפות‬ ‫שמגיעים‬ ‫וככול‬ ‫הדגימות‬ ‫את‬ ‫ומסננים‬ ‫הנפות‬ ‫מערכת‬ ‫דקות‬ ‫מאוד‬ ‫שלהן‬,‫קטן‬ ‫הגרגירים‬ ‫קוטר‬‫יותר‬.‫דוגמא‬-‫נפה‬200-‫קוטרה‬0.074‫מילימטר‬,‫הנפה‬ ‫היא‬ ‫דקה‬ ‫קרקע‬ ‫ומתחתיה‬ ‫גסה‬ ‫קרקע‬ ‫יהיה‬ ‫מעליה‬ ‫שמסתנן‬ ‫מה‬ ‫כל‬ ‫האמצעית‬.‫ש‬ ‫היא‬ ‫הבדיקה‬‫מ‬ ‫יותר‬ ‫אם‬ -50%‫עבר‬–‫גרגר‬ ‫דקת‬ ‫קרקע‬ ‫זה‬ ‫אז‬‫מ‬ ‫יותר‬ ‫ואם‬–50%‫גרגר‬ ‫גסת‬ ‫בקרקע‬ ‫מדובר‬ ‫אז‬ ‫נשאר‬. 2.‫ניסיון‬ ‫העמסת‬–‫מיוחד‬ ‫מתקן‬ ‫בעזרת‬ ‫נעשית‬,‫הבנייה‬ ‫באזור‬ ‫המותקן‬.‫את‬ ‫מראה‬ ‫הניסיון‬ ‫העמסת‬ ‫מסוים‬ ‫בעומס‬ ‫הקרקע‬ ‫שקיעות‬ ‫מידת‬.‫ואח‬ ‫קטן‬ ‫עומס‬ ‫מעמיסים‬ ‫תחילה‬"‫העומס‬ ‫את‬ ‫מגדילים‬ ‫כ‬ ‫בהדרגה‬,‫השקיעה‬ ‫נמדדת‬ ‫עומס‬ ‫ובכל‬.‫מעבדים‬ ‫הניסוי‬ ‫תוצאות‬ ‫את‬. ‫ביסוס‬ ‫המבנה‬ ‫את‬ ‫ומייצב‬ ‫לקרקע‬ ‫העומסים‬ ‫את‬ ‫שמוסר‬ ‫הוא‬ ‫הבנייה‬ ‫של‬ ‫הראשון‬ ‫בשלב‬ ‫השלד‬ ‫אלמנט‬.‫הקרקע‬ ‫סוג‬ ‫הביסוס‬ ‫על‬ ‫מאוד‬ ‫משפיע‬(‫הקרקע‬ ‫סוג‬ ‫בעיקר‬ ‫אבל‬ ‫המבנה‬ ‫סוג‬ ‫גם‬).‫מים‬ ‫עם‬ ‫במגע‬ ‫נפחה‬ ‫את‬ ‫משנה‬ ‫שלא‬ ‫קרקע‬, ‫החלשות‬ ‫אין‬/‫הקרקע‬ ‫של‬ ‫התנזלות‬–‫רדוד‬ ‫לביסוס‬ ‫המכתיבה‬ ‫יציבה‬ ‫קרקע‬.‫הקרקע‬ ‫יועץ‬ ‫המלצות‬ ‫לפי‬ ‫הביסוס‬ ‫את‬ ‫מתכננים‬. 2‫ביסוס‬ ‫של‬ ‫עיקריים‬ ‫סוגים‬: 1.‫רדוד‬ ‫ביסוס‬-‫השטח‬ ‫לפני‬ ‫קרוב‬ ‫דיי‬ ‫הביסוס‬ ‫מפלס‬(1.5/2‫מטר‬):‫מרצפים‬,‫מסד‬ ‫קירות‬,‫פלטת‬ ‫יסוד‬,‫ודוברה‬ ‫משותפת‬ ‫יסוד‬ ‫פלטת‬-‫בהמשך‬ ‫פירוט‬. 2.‫עמוק‬ ‫ביסוס‬-‫האדמה‬ ‫לעומק‬ ‫העומסים‬ ‫את‬ ‫מעבירים‬,‫השטח‬ ‫פני‬ ‫בעומק‬ ‫ביסוס‬.‫כלונסאות‬. ‫רדוד‬ ‫ביסוס‬ ‫מרצף‬-
  20. 20. ‫בנין‬ ‫הנדסת‬ ‫קורס‬–‫טכניון‬ ‫מרצה‬–‫פורמן‬ ‫שי‬ 20 | P a g e‫עו‬"‫תורג‬ ‫ירדן‬ ‫ד‬'‫מן‬ ‫פשוט‬ ‫אלמנט‬,‫השטח‬ ‫פני‬ ‫על‬ ‫בטון‬ ‫רצפת‬,‫לסככה‬ ‫ביסוס‬ ‫המשמש‬ ‫משטח‬/‫קל‬ ‫קומתי‬ ‫חד‬ ‫מבנה‬,‫קלים‬ ‫עומסים‬ ‫מאוד‬,‫לביסוס‬ ‫גם‬ ‫המשמש‬ ‫בטון‬ ‫משטח‬,‫לביצוע‬ ‫פשוט‬.‫מקומיות‬ ‫החלשות‬ ‫עושים‬ ‫עצמו‬ ‫במשטח‬–‫חריצים‬ ‫יזומים‬,‫דמה‬ ‫תפרי‬,‫והתפשטות‬ ‫מהתכווצות‬ ‫כתוצאה‬ ‫שליטה‬ ‫ללא‬ ‫סדקים‬ ‫מכן‬ ‫לאחר‬ ‫לקבל‬ ‫שלא‬ ‫כדי‬ ‫וממאמצים‬.‫השטח‬ ‫על‬ ‫חריץ‬ ‫מנסרים‬,‫כל‬4-5‫מטר‬,‫יהיה‬ ‫אם‬ ‫שהסדק‬ ‫כך‬ ‫החלשה‬ ‫ויוצרים‬-‫באותו‬ ‫יהיה‬ ‫הוא‬ ‫החתך‬. ‫מסד‬ ‫קורות‬– ‫קלים‬ ‫לעומסים‬ ‫המתאימים‬ ‫יסודות‬.‫המבנה‬ ‫עליה‬ ‫בקרקע‬,‫יושב‬ ‫שעליה‬ ‫מסד‬ ‫קורות‬ ‫של‬ ‫מערכת‬ ‫עושים‬ ‫המבנה‬.‫העומס‬ ‫שעיקר‬ ‫איפה‬ ‫יהיו‬ ‫המסד‬ ‫קורות‬,‫לקרקע‬ ‫העומס‬ ‫את‬ ‫ומעבירה‬ ‫הקיר‬ ‫אורך‬ ‫לכל‬ ‫נמצאת‬ ‫היא‬. ‫של‬ ‫בגודל‬ ‫בקורות‬ ‫מדובר‬60‫ס‬"‫של‬ ‫רוחב‬ ‫על‬ ‫מ‬20-30‫ס‬"‫מ‬.‫בשנייה‬ ‫אחת‬ ‫התומכות‬ ‫קורות‬ ‫של‬ ‫מערכת‬ ‫נוצרת‬, ‫אופקיים‬ ‫לכוחות‬ ‫עמידות‬ ‫אין‬ ‫אבל‬ ‫לבניה‬ ‫קל‬-‫דינאמיים‬ ‫עומסים‬,‫להיפוך‬ ‫רגיש‬.‫נמצאות‬ ‫הקורות‬‫מתחת‬ ‫לאדמה‬,‫בגדרות‬ ‫שכיח‬ ‫מאוד‬. ‫יסוד‬‫עובר‬- ‫לקרקע‬ ‫מהבניין‬ ‫העומס‬ ‫את‬ ‫להעביר‬ ‫ותפקידו‬ ‫בבניין‬ ‫הנושאים‬ ‫לקירות‬ ‫מתחת‬ ‫הנמצאת‬ ‫מזוין‬ ‫בטון‬ ‫רצועת‬.‫זה‬ ‫מסד‬ ‫קורת‬ ‫של‬ ‫שכלול‬ ‫למעשה‬,‫המבנה‬ ‫משלד‬ ‫חלק‬ ‫שהוא‬ ‫קיר‬,‫הבניין‬ ‫של‬ ‫עומסים‬ ‫נושא‬(‫מדרגות‬ ‫חדר‬,‫קירות‬ ‫מוגנים‬ ‫חדרים‬ ‫של‬)‫לקרקע‬ ‫אותם‬ ‫ומעביר‬.‫קיר‬ ‫אותו‬ ‫אורך‬ ‫לכל‬ ‫נמצא‬ ‫העובר‬ ‫היסוד‬,‫היסוד‬ ‫הוא‬ ‫הקיר‬ ‫המשך‬ ‫בפלטה‬ ‫שלו‬ ‫בתחתית‬ ‫מסתיים‬ ‫והוא‬ ‫העובר‬.‫למטר‬ ‫כטון‬ ‫של‬ ‫קווי‬ ‫בעומס‬ ‫מדובר‬,‫רציף‬ ‫עומס‬ ‫פועל‬ ‫הקיר‬ ‫על‬. ‫הקיר‬ ‫של‬ ‫התפקוד‬ ‫מבחינת‬,‫בחלק‬ ‫נמצא‬ ‫והעיקרי‬ ‫המחושב‬ ‫והזיון‬ ‫כפיפה‬ ‫ומתקבלת‬ ‫התנגדות‬ ‫מפעילה‬ ‫הקרקע‬ ‫התחתון‬,‫המתיחה‬ ‫שם‬.‫ליציקה‬ ‫יציב‬ ‫שהוא‬ ‫כלוב‬ ‫בעצם‬ ‫מיצרים‬ ‫בתחתית‬.‫כ‬ ‫של‬ ‫רדוד‬ ‫עומק‬ ‫על‬ ‫מדובר‬1.5‫מטר‬ ‫פחות‬ ‫ולפעמים‬,‫הרוחב‬ ‫זה‬ ‫שחשוב‬ ‫מה‬ ‫העובר‬ ‫וביסוד‬,‫זה‬ ‫שהמינימום‬60‫ס‬"‫מ‬(‫גדל‬ ‫שהעומס‬ ‫ככול‬ ‫גדל‬). ‫עובר‬ ‫יסוד‬ ‫לחישוב‬ ‫דוגמא‬: P=30 t/m,‫מותר‬ ‫קרקע‬ ‫מאמץ‬–‫ל‬‫הדרוש‬ ‫העובר‬ ‫היסוד‬ ‫רוחב‬ ‫את‬ ‫חשב‬.‫הנוסחה‬ ‫לפי‬ ‫הנ‬"‫נחשב‬ ‫ל‬‫היסוד‬ ‫שטח‬ ‫חלקיי‬ ‫הקיר‬ ‫לעומס‬ ‫שווה‬ ‫מותר‬ ‫קרקע‬ ‫מאמץ‬,‫ה‬ ‫את‬ ‫נחלץ‬A.‫ה‬-A‫שטח‬ ‫הוא‬ ‫טיפוסי‬ ‫מטר‬ ‫כפול‬ ‫המעבר‬ ‫יסוד‬ ‫רוחב‬ ‫לפי‬ ‫אותו‬ ‫מחשבים‬ ‫שלמעשה‬.‫ב‬ ‫נכפיל‬10‫מטון‬ ‫לעבור‬ ‫מנת‬ ‫על‬ ‫בשלישית‬ ‫בנתונים‬ ‫לקילוגרם‬,b‫העובר‬ ‫היסוד‬ ‫רוחב‬ ‫הוא‬,‫ונקבל‬:
  21. 21. ‫בנין‬ ‫הנדסת‬ ‫קורס‬–‫טכניון‬ ‫מרצה‬–‫פורמן‬ ‫שי‬ 21 | P a g e‫עו‬"‫תורג‬ ‫ירדן‬ ‫ד‬'‫מן‬ ‫ש‬ ‫מכאן‬b=166‫ס‬"‫ל‬ ‫זה‬ ‫את‬ ‫ונעגל‬ ‫מ‬170‫ס‬"‫מ‬(‫מעלה‬ ‫כלפי‬ ‫הביטחון‬ ‫לשם‬ ‫מעגלים‬)-‫הדרוש‬ ‫היסוד‬ ‫רוחב‬. ‫ה‬‫ב‬ ‫כפלנו‬100‫בעצם‬ ‫בחנו‬ ‫כי‬1‫טיפוסי‬ ‫מטר‬) ‫מסד‬- ‫הבניין‬ ‫בהיקף‬ ‫העובר‬ ‫היסוד‬ ‫מעל‬ ‫קיר‬,‫מזוין‬ ‫בטון‬ ‫יצוק‬.‫תפ‬‫ק‬‫ליסוד‬ ‫הבניין‬ ‫עומס‬ ‫את‬ ‫להעביר‬ ‫ידו‬(‫להיות‬ ‫חייב‬ ‫קשיח‬,‫שוות‬ ‫לא‬ ‫שקיעות‬ ‫למנוע‬ ‫כדי‬)‫הבניין‬ ‫בתוך‬ ‫הנמצאת‬ ‫המילוי‬ ‫אדמת‬ ‫על‬ ‫ולשמור‬. ‫פלטת‬‫יסוד‬– "‫יסוד‬ ‫אושיית‬","‫אושייה‬- "‫ב‬ ‫מדובר‬‫פלטה‬‫נפרדות‬ ‫יציקות‬ ‫שתי‬ ‫הן‬ ‫והפלטה‬ ‫כשהעמוד‬ ‫עמוד‬ ‫תומכת‬.‫מדובר‬ ‫ב‬‫נקודתי‬ ‫עומס‬‫הקרקע‬ ‫ועד‬ ‫העמוד‬ ‫דרך‬ ‫שמועבר‬.‫זיון‬ ‫מוטות‬ ‫מציבים‬ ‫ולכן‬ ‫כיפוף‬ ‫נוצר‬ ‫האדמה‬ ‫של‬ ‫מהלחץ‬. ‫לביסוס‬ ‫יציבה‬ ‫קרקע‬ ‫נדרשת‬.‫לבסיס‬ ‫המתאימה‬ ‫לקרקע‬ ‫רק‬ ‫שמתאימות‬ ‫יסוד‬ ‫פלטת‬ ‫צריך‬ ‫רדוד‬ ‫בסיס‬ ‫לכל‬ ‫רדוד‬. ‫העומק‬‫יהיה‬ ‫היסוד‬ ‫פלטת‬ ‫את‬ ‫נציב‬ ‫בו‬‫מטר‬ ‫לפחות‬‫וחצי‬‫לאדמה‬ ‫מתחת‬.‫ב‬ ‫מדובר‬‫אלמנט‬‫ש‬‫לשקיעות‬ ‫רגיש‬. ‫קו‬ ‫תחת‬ ‫ימוקם‬ ‫תמיד‬‫צנרת‬‫ה‬‫מים‬.‫ל‬ ‫לדאוג‬ ‫יש‬‫מינימאלי‬ ‫מרחק‬‫בין‬‫פלטות‬‫סמוכ‬‫ות‬/‫שכנות‬‫יסודות‬ ‫בין‬ ‫או‬ ‫מרתף‬ ‫לקירות‬,‫ביניהם‬ ‫גובה‬ ‫בהפרשי‬ ‫להתחשב‬ ‫ויש‬.‫לדאוג‬ ‫יש‬‫תמוקם‬ ‫שהפלטה‬‫המוגמר‬ ‫המגרש‬ ‫לפני‬ ‫מתחת‬, ‫קיימות‬ ‫לתשתיות‬ ‫מתחת‬‫ו‬‫לפחות‬30‫ס‬"‫טבעית‬ ‫אדמה‬ ‫שכבת‬ ‫בתוך‬ ‫מ‬.‫את‬30‫מעבר‬ ‫הנוספים‬ ‫הסנטימטרים‬ ‫לא‬ ‫שמעולם‬ ‫טבעית‬ ‫קרקע‬ ‫על‬ ‫ישב‬ ‫היסוד‬ ‫כי‬ ‫להבטיח‬ ‫בכדי‬ ‫ידני‬ ‫באופן‬ ‫לחפור‬ ‫יש‬ ‫המתוכנן‬ ‫למפלס‬ ‫לחפירה‬ ‫נחפרה‬,‫של‬ ‫עתידיות‬ ‫בעיות‬ ‫הרבה‬ ‫לפתור‬ ‫ניתן‬ ‫כך‬‫כלשהי‬ ‫שקיעה‬ ‫או‬ ‫כשל‬.‫מהודקת‬ ‫אדמה‬ ‫היא‬ ‫טבעית‬ ‫אדמה‬. ‫בין‬ ‫של‬ ‫שקיעה‬ ‫לקבל‬ ‫ניתן‬1‫ל‬–1.5‫ס‬"‫במשך‬ ‫לשנה‬ ‫מ‬20–25‫שנים‬.‫יכולה‬ ‫הקרקע‬ ‫לרטיבות‬ ‫רגישות‬ ‫גם‬ ‫השקיעה‬ ‫קצב‬ ‫את‬ ‫להאיץ‬. ‫דוגמ‬‫או‬‫יסוד‬ ‫לפלטת‬ ‫חישוב‬ ‫ת‬: ‫ריבועית‬ ‫פלטה‬-‫ריבועי‬ ‫או‬ ‫עגול‬ ‫העמוד‬ ‫אם‬–‫בהכרח‬‫ריבועית‬ ‫תהיה‬ ‫היסוד‬ ‫פלטת‬,‫העמוד‬ ‫אם‬‫בין‬ ‫אך‬ ‫מלבני‬ ‫צלעותיו‬‫קיים‬‫הבדל‬‫קטן‬‫עד‬ ‫של‬20‫ס‬"‫לשני‬ ‫האחד‬ ‫בין‬ ‫מ‬-‫גם‬‫תהיה‬ ‫הפלטה‬ ‫כאן‬‫ריבועית‬ ‫מלבנית‬ ‫פלטה‬-‫הה‬ ‫אם‬‫יותר‬ ‫גבוה‬ ‫פרש‬‫מ‬–20‫ס‬"‫תהיה‬ ‫הפלטה‬ ‫אזי‬ ‫מ‬‫מלבנית‬. ‫ריבועית‬ ‫פלטה‬-‫הנוסחה‬ ‫לפי‬ ‫נחשב‬: (‫עומס‬ ‫שווה‬ ‫מותר‬ ‫קרקע‬ ‫מאמץ‬‫חיצוני‬(P)‫ל‬‫חלק‬‫ל‬‫שטח‬‫ה‬ ‫פלטת‬ ‫תחתית‬‫יסוד‬(A)). ‫מלבנית‬ ‫פלטה‬-‫הנוסחה‬ ‫לפי‬ ‫נחשב‬: ‫חישוב‬‫ריבועית‬ ‫פלטה‬-‫נתון‬:
  22. 22. ‫בנין‬ ‫הנדסת‬ ‫קורס‬–‫טכניון‬ ‫מרצה‬–‫פורמן‬ ‫שי‬ 22 | P a g e‫עו‬"‫תורג‬ ‫ירדן‬ ‫ד‬'‫מן‬ 1.‫עמוד‬–30/40‫ס‬"‫מ‬ 2.‫עומס‬–80‫טון‬(P) 3.‫מותר‬ ‫קרקע‬ ‫מאמץ‬–2.2‫ק‬"‫בס‬ ‫ג‬"‫מרובע‬ ‫מ‬ ‫היסוד‬ ‫פלטת‬ ‫מידות‬ ‫את‬ ‫למצוא‬ ‫יש‬. ‫ונקבל‬ ‫בנוסחה‬ ‫נציב‬: 36,363‫ס‬"‫בריבוע‬ ‫מ‬‫ומאחר‬ ‫השטח‬ ‫זה‬‫עמוד‬ ‫לנו‬ ‫שיש‬,‫ל‬ ‫שורש‬ ‫נוציא‬ ‫ולכן‬ ‫ריבעית‬ ‫תהיה‬ ‫הפלטה‬ ‫בהכרח‬–A. ‫כש‬‫שוות‬ ‫הצלעות‬ ‫מרובע‬ ‫השטח‬.‫לשטח‬ ‫שורש‬ ‫נוציא‬ ‫כעת‬- ‫הן‬ ‫שהמידות‬ ‫ומכאן‬190/190. ‫חישוב‬‫מלבנית‬ ‫פלטה‬-‫נתון‬: ‫עמוד‬-25/65‫ס‬"‫מ‬ ‫ע‬‫ו‬‫מס‬-105‫טון‬ ‫מותר‬ ‫קרקע‬ ‫מאמץ‬–2.4‫ק‬"‫בס‬ ‫ג‬"‫מרובע‬ ‫מ‬ ‫היסוד‬ ‫פלטת‬ ‫מידות‬ ‫את‬ ‫למצוא‬ ‫יש‬. ‫ונקבל‬ ‫בנוסחה‬ ‫נציב‬: ‫ש‬ ‫ומכאן‬‫הן‬ ‫הפלטה‬ ‫מידות‬43750‫ס‬"‫בריבוע‬ ‫מ‬,‫צלע‬ ‫את‬ ‫נחשב‬C‫צלע‬ ‫את‬ ‫ונחשב‬B , . ‫לבדיקה‬(‫בקירוב‬)-B*C=A ‫חישוב‬‫פלטות‬ ‫בין‬ ‫מינימאלי‬ ‫מרחק‬(a) ‫יסוד‬ ‫פלטות‬ ‫שתי‬ ‫כשיש‬,‫על‬ ‫ולהקפיד‬ ‫לשמור‬ ‫יש‬‫מרחק‬‫העמודים‬ ‫בין‬ ‫מינימאלי‬.‫יש‬ ‫מידי‬ ‫קרובות‬ ‫כשהפלטות‬ ‫הלחץ‬ ‫מוגבר‬ ‫בו‬ ‫מסוים‬ ‫אזור‬,‫זה‬ ‫את‬ ‫בודקים‬ ‫לא‬ ‫ואם‬ ‫פלטות‬ ‫משתי‬ ‫מושפע‬ ‫כי‬ ‫גדול‬ ‫המאמץ‬,‫מסוים‬ ‫ואזור‬ ‫מאחר‬ ‫יותר‬ ‫נלחץ‬,‫סיבוב‬ ‫לקבל‬ ‫יכולה‬ ‫הפלטה‬‫או‬‫ל‬‫שק‬‫ו‬‫ע‬‫בעתיד‬ ‫גדולות‬ ‫בעיות‬ ‫להגרם‬ ‫ויכולים‬,‫לפרוס‬ ‫יש‬ ‫ולכן‬ ‫העומס‬ ‫את‬.‫בקרקע‬ ‫העומסים‬ ‫התפשטות‬.‫בשליטתנו‬ ‫תמיד‬ ‫לא‬ ‫זה‬. ‫המרחק‬‫צריך‬‫להיות‬‫לפחות‬‫אורך‬‫סכימת‬‫אורכי‬‫שתי‬‫הפלטות‬‫לחלק‬‫ל‬-4‫במינימום‬-‫הנוסחה‬-
  • ssuserbd7eb2

    Oct. 12, 2020
  • abuyaas

    Dec. 1, 2018
  • irisliver

    Nov. 17, 2014

שמאי מקרקעין - הנדסת הבניין הנה חלק חשוב וקריטי להבנה בתחום הנדל"ן הנדרשת מכל איש מקצוע הרוצה לעסוק בתחום. להורדת הסיכום חפשו בגוגל "שמאי מקרקעין" באתר שמאי מקרקעין תוכלו למצוא ולהוריד את הסיכום וסיכומים רבים אחרים http://www.shamy-nadlan.co.il/

Views

Total views

9,985

On Slideshare

0

From embeds

0

Number of embeds

6,703

Actions

Downloads

0

Shares

0

Comments

0

Likes

3

×